# | Part | Description | Price | Req | Notes | Availability |
000 |
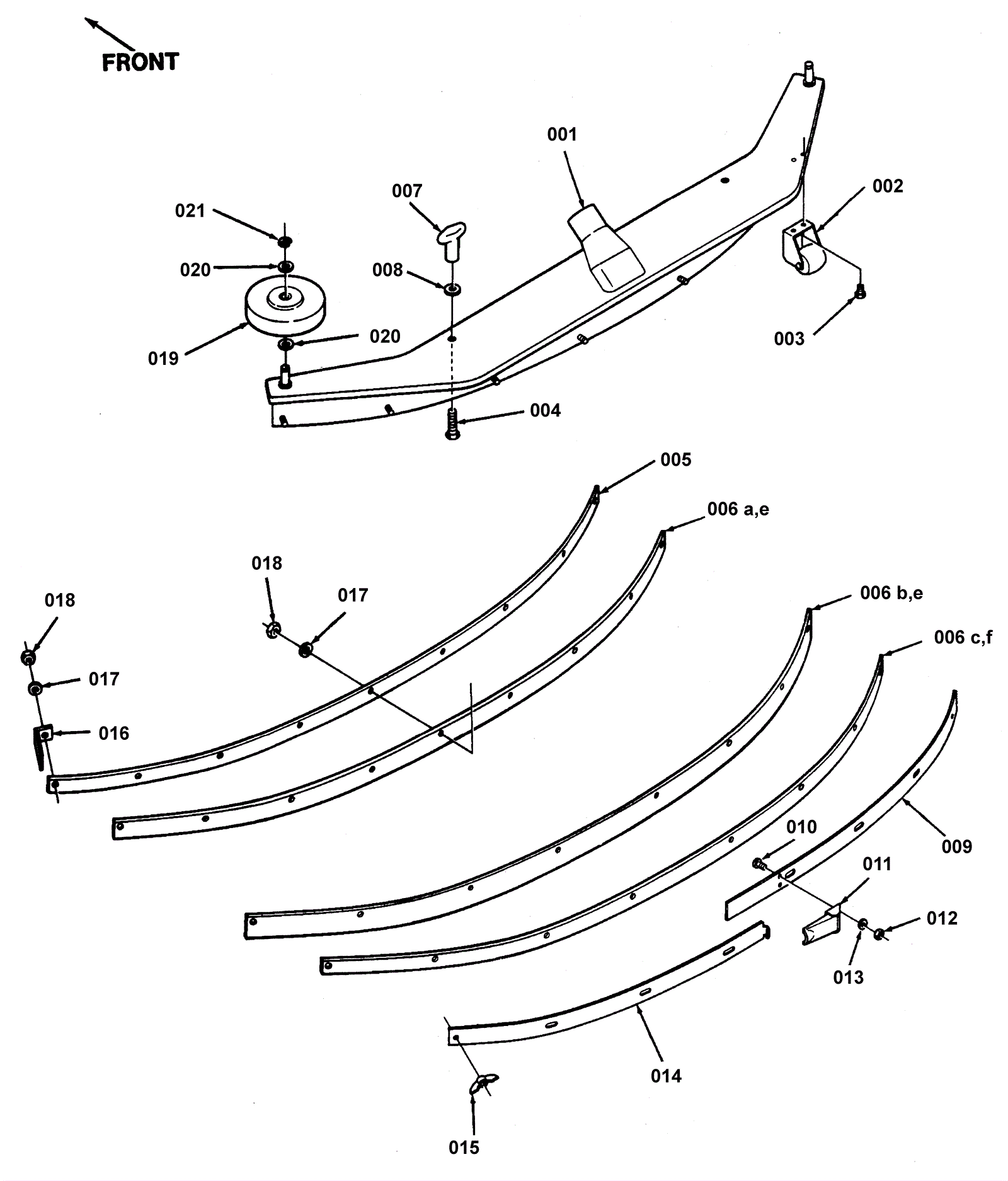
272-1263
|
Squeegee with rollers (OBSOLETE) |
$979.00
|
1 |
|
usually ships 13-18 days |
001 |
272-1263
|
Squeegee with rollers (OBSOLETE) |
$979.00
|
1 |
|
usually ships 13-18 days |
002 |
172-2335
|
Roller assembly (OBSOLETE) |
$115.02
|
2 |
|
usually ships 13-18 days |
003 |
272-1504
|
Screw 8-32 X 1/2 |
$12.31
|
4 |
|
usually ships 1-5 days |
004 |
999-0162
|
Bolt 5/16-18 x 1 1/4 hex head grade 5 zinc plated |
$0.99
|
2 |
|
ships same day |
005 |
272-1265
|
Front strap (OBSOLETE) |
$84.94
|
1 |
|
usually ships 1-5 days |
006a |
172-0531
|
Squeegee blade kit gum rubber (OBSOLETE) |
$61.27
|
1 |
|
usually ships 1-5 days |
006b |
272-1268
|
Neoprene oil resistant squeegee blade kit (OBSOLETE) |
$66.88
|
1 |
|
usually ships 1-5 days |
006c |
172-0531
|
Squeegee blade kit gum rubber (OBSOLETE) |
$61.27
|
1 |
This part is no longer available seperatly. It must be purchased in this kit. |
usually ships 1-5 days |
006d |
172-0531
|
Squeegee blade kit gum rubber (OBSOLETE) |
$61.27
|
1 |
This part is no longer available seperatly. It must be purchased in this kit. |
usually ships 1-5 days |
006e |
172-0531
|
Squeegee blade kit gum rubber (OBSOLETE) |
$61.27
|
1 |
|
usually ships 1-5 days |
006g |
272-1270
|
Neoprene main wiping blade |
$27.50
|
1 |
|
usually ships 1-5 days |
007 |
172-4099
|
Nut 5/16-18 thumb |
$12.73
|
2 |
|
ships same day |
008 |
999-0549
|
Washer 5/16 x 3/4 SAE flat stainless steel |
$0.99
|
2 |
|
ships same day |
009 |
272-1272
|
Strap (OBSOLETE) |
$15.69
|
1 |
|
usually ships 1-5 days |
010 |
999-0335
|
Washer 1/4 x 5/8 SAE flat stainless steel |
$0.99
|
2 |
|
ships same day |
011 |
172-0044
|
Bushing (OBSOLETE) |
$39.30
|
1 |
|
usually ships 13-18 days |
012 |
999-0227
|
Nut 6-32 hex nylon insert lock jam zinc plated |
$0.99
|
2 |
|
ships same day |
013 |
272-1505
|
32 inch Cylindrical deck assembly (OBSOLETE) |
$7,665.79
|
2 |
|
usually ships 1-5 days |
014 |
272-1273
|
Strap (OBSOLETE) |
$51.68
|
1 |
|
usually ships 1-5 days |
015 |
999-1948
|
Nut 1/4-20 wing lock |
$3.76
|
2 |
|
ships same day |
016 |
272-1274
|
Angle (OBSOLETE) |
$63.56
|
2 |
|
usually ships 1-5 days |
017 |
999-0335
|
Washer 1/4 x 5/8 SAE flat stainless steel |
$0.99
|
9 |
|
ships same day |
018 |
272-1507
|
Scrubbing brush - CYLINDRICAL |
$375.16
|
9 |
|
usually ships 1-5 days |
019a |
172-0083
|
3 inch guide wheel |
$13.76
|
2 |
|
ships same day |
019b |
991-3060
|
Bumper wheel |
$6.17
|
2 |
|
ships same day |
019c |
991-3030
|
Wheel |
$6.17
|
2 |
(NON-OEM) |
ships same day |
020 |
172-0404
|
Washer 25/64 x 5/8 x 1/16 flat |
$12.31
|
4 |
|
usually ships 13-18 days |
021 |
172-0315
|
Retaining ring |
$10.85
|
2 |
|
usually ships 13-18 days |