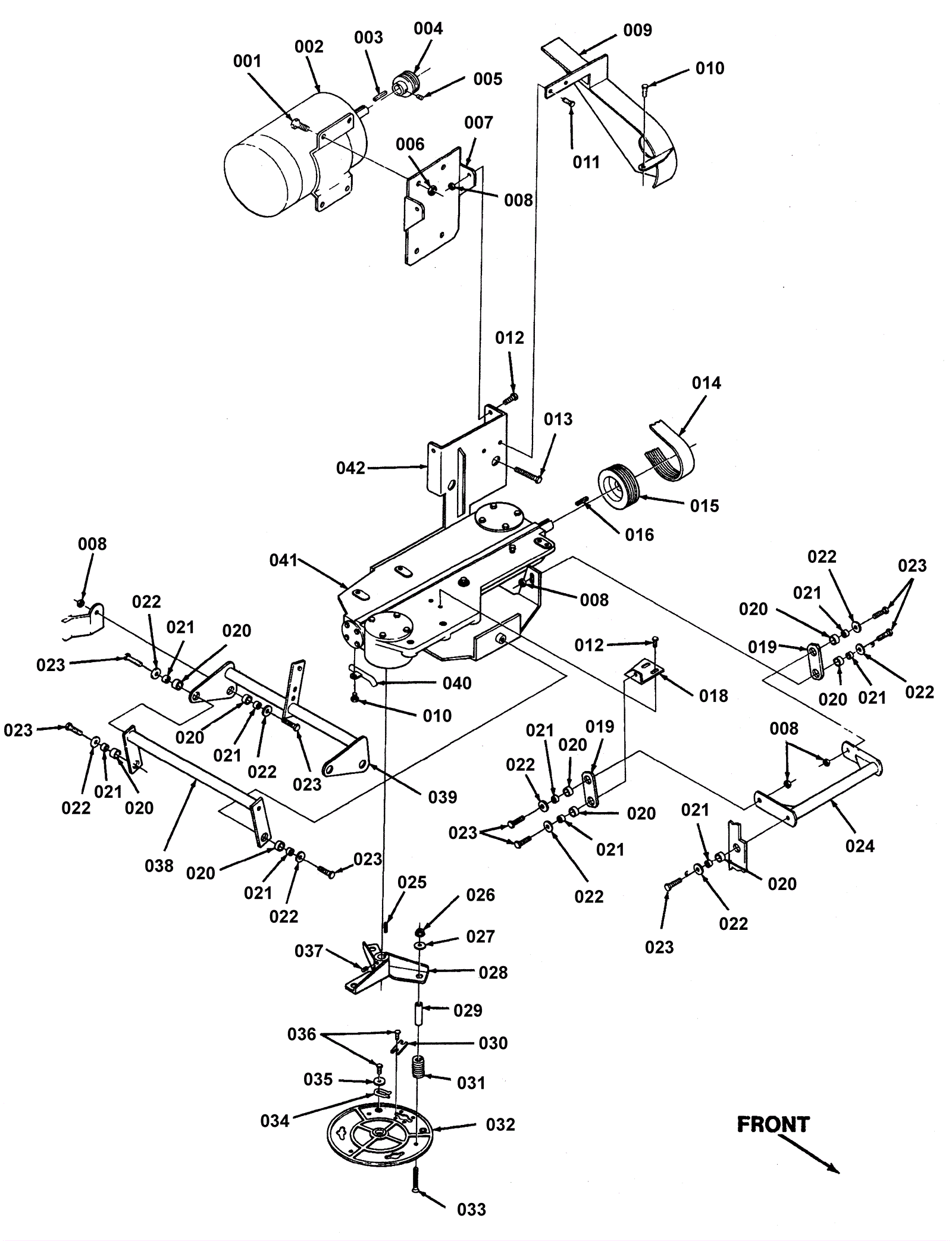
# | Part | Description | Price | Req | Notes | Availability |
001 |
999-0132
|
Bolt 5/16-18 x 3/4 hex head grade 5 zinc plated |
$2.64
|
4 |
|
ships same day |
002 |
172-0630
|
Motor 2.25HP 36V (OBSOLETE) |
$1,358.48
|
1 |
|
usually ships 1-5 days |
003 |
172-0348
|
Square keyway |
$11.69
|
1 |
|
usually ships 1-5 days |
004 |
272-1191
|
Poly-V sheave (OBSOLETE) |
$142.56
|
1 |
|
usually ships 1-5 days |
005 |
999-0157
|
Screw 5/16-18 x 3/8 cup point socket set alloy plain finish |
$0.99
|
1 |
|
ships same day |
006 |
999-0211
|
Nut 5/16-18 hex nylon insert lock zinc plated |
$0.99
|
4 |
|
ships same day |
007 |
N/A
|
Not available |
Call for price
|
1 |
(Not Available) Gearbox motor mount |
usually ships 3-26 days |
008 |
999-0188
|
Nut 3/8-16 nylon insert lock zinc plated |
$0.99
|
8 |
|
ships same day |
009 |
272-1190
|
Belt guard weldment (OBSOLETE) |
$91.48
|
1 |
|
usually ships 1-5 days |
010 |
999-0578
|
Bolt 3/8-16 x 1/2 hex head grade 5 plain finish |
$0.99
|
3 |
|
ships same day |
011 |
999-0361
|
Bolt 1/4-20 x 3/8 hex head grade 5 zinc |
$4.17
|
2 |
|
ships same day |
012 |
999-0119
|
Bolt 3/8-16 x 3/4 hex head grade 5 zinc plated |
$1.01
|
4 |
|
ships same day |
013 |
272-1471
|
Bolt 3/8-16 x 4 hex head |
$10.85
|
2 |
|
usually ships 13-18 days |
014 |
272-1198
|
Poly-V belt |
$60.19
|
1 |
|
usually ships 1-5 days |
015 |
172-9479
|
Poly V sheave (OBSOLETE) |
$223.81
|
1 |
|
usually ships 1-5 days |
016 |
172-0437
|
Square keyway |
$10.85
|
1 |
|
usually ships 13-18 days |
018 |
272-1188
|
Linkage arm mount (OBSOLETE) |
$50.49
|
1 |
|
usually ships 1-5 days |
019 |
272-1189
|
Linkage arm (OBSOLETE) |
$17.82
|
2 |
|
usually ships 1-5 days |
020 |
172-0079
|
Sleeve bearing (OBSOLETE) |
$20.68
|
12 |
|
usually ships 13-18 days |
021 |
272-1155
|
Bushing (OBSOLETE) |
$23.21
|
12 |
|
usually ships 1-5 days |
022 |
999-0120
|
Washer 3/8 SAE flat |
$0.99
|
12 |
|
ships same day |
023 |
999-0039
|
Bolt 3/8-16 x 1 1/4 hex head grade 5 zinc plated |
$0.99
|
12 |
|
ships same day |
024 |
272-1187
|
Torsion bar weldment (OBSOLETE) |
$108.11
|
1 |
|
usually ships 1-5 days |
025 |
172-0437
|
Square keyway |
$10.85
|
2 |
|
usually ships 13-18 days |
026 |
999-0423
|
Nut 5/16-18 nylon insert lock stainless steel |
$0.99
|
6 |
|
ships same day |
027 |
999-0756
|
Washer 3/8 x 1 1/4 flat stainless steel |
$13.40
|
6 |
|
ships same day |
028 |
172-9476
|
Drive adaptor |
$237.05
|
2 |
|
usually ships 13-18 days |
029 |
172-0626
|
Spacer |
$11.69
|
6 |
|
usually ships 13-18 days |
030 |
172-0155
|
Stop plate |
$12.31
|
2 |
|
usually ships 13-18 days |
031 |
172-0627
|
Compression spring |
$16.45
|
6 |
|
usually ships 13-18 days |
032 |
172-9475
|
Brush holder (OBSOLETE) |
$365.75
|
2 |
|
usually ships 13-18 days |
033 |
272-1482
|
Deck kit for BR 700 SC (OBSOLETE) |
$3,741.54
|
6 |
|
usually ships 1-5 days |
034 |
175-2612
|
Spring clip |
$5.28
|
2 |
|
usually ships 10-13 days |
035 |
172-0553
|
Washer 17/64 x 1/16 flat |
$10.85
|
2 |
|
usually ships 13-18 days |
036 |
172-0565
|
Bolt 10-24 x 3/8 |
$11.75
|
6 |
|
usually ships 1-5 days |
037 |
272-1469
|
Solution valve |
$101.56
|
2 |
|
usually ships 13-18 days |
038 |
272-1154
|
Torsion bar weldment (OBSOLETE) |
$90.29
|
1 |
|
usually ships 1-5 days |
039 |
272-1152
|
Torsion bar weldment (OBSOLETE) |
$117.61
|
1 |
|
usually ships 1-5 days |
040 |
172-8088
|
Pipe weldment (OBSOLETE) |
$47.52
|
2 |
|
usually ships 13-18 days |
041a |
272-1184
|
Gearbox assembly (OBSOLETE) |
$3,151.17
|
1 |
|
usually ships 1-5 days |
041b |
272-1204
|
Gear case assembly (OBSOLETE) |
$3,240.86
|
1 |
Includes items 8, 12, 15 - 23 and, 25 - 42 |
usually ships 1-5 days |
042 |
N/A
|
Not available |
Call for price
|
1 |
(Not Available) Motor mount weldment |
usually ships 3-26 days |
N/S |
172-0164
|
Carbon brush set (set of 4) |
$225.50
|
1 |
|
usually ships 1-5 days |