| # | Part | Description | Price | Req | Notes | Availability |
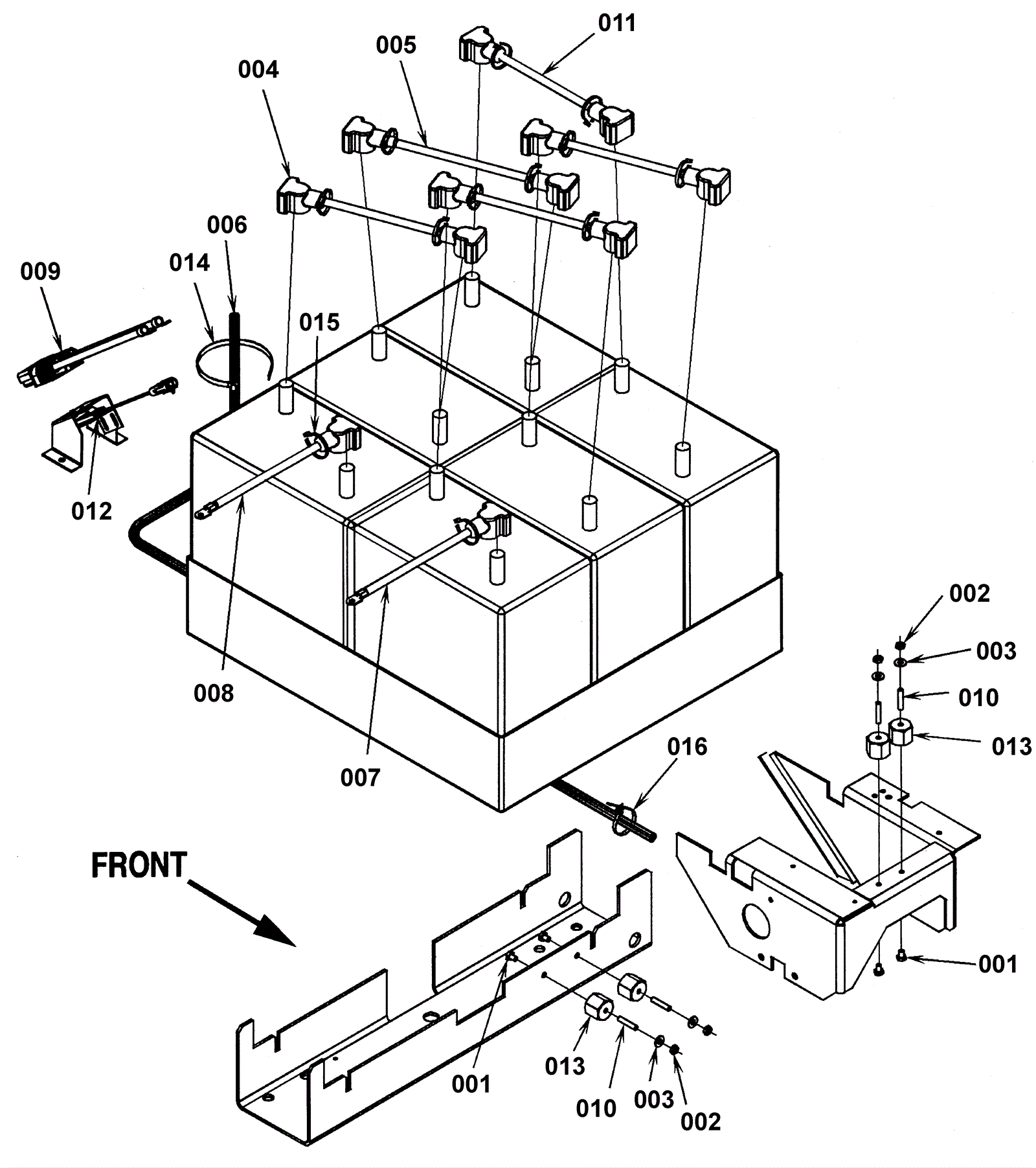
001 |
999-0361
|
Bolt 1/4-20 x 3/8 hex head grade 5 zinc |
$4.17
|
4 |
|
ships same day |
002 |
999-0181
|
Nut 1/4-20 hex jam plain finish |
$0.99
|
4 |
|
ships same day |
003 |
999-0238
|
Washer 1/4 internal star lock zinc plated |
$0.99
|
4 |
|
ships same day |
004 |
172-0223
|
Battery cable boot |
$9.70
|
12 |
|
ships same day |
005 |
272-1140
|
Cable assembly |
$48.17
|
4 |
|
usually ships 1-5 days |
006 |
272-1141
|
Wiring harness (OBSOLETE) |
$243.54
|
1 |
|
usually ships 1-5 days |
007 |
272-1142
|
Cable assembly (OBSOLETE) |
$74.25
|
1 |
|
usually ships 1-5 days |
008 |
272-1143
|
Cable assembly (OBSOLETE) |
$73.06
|
1 |
|
usually ships 1-5 days |
009 |
272-1074
|
Charger connector (OBSOLETE) |
$120.34
|
1 |
|
usually ships 1-5 days |
010 |
172-0346
|
Stud 1/4-20 |
$12.89
|
4 |
|
ships same day |
011 |
272-1144
|
Cable assembly |
$30.60
|
1 |
|
usually ships 13-18 days |
012 |
172-0235
|
Switch assembly (OBSOLETE) |
$183.90
|
1 |
|
usually ships 13-18 days |
013 |
172-0103
|
Electrical mount |
$14.41
|
4 |
|
usually ships 1-5 days |
014 |
997-2102
|
Cable tie |
$1.38
|
12 |
|
ships same day |
015 |
997-2101
|
6 inch cable tie |
$0.99
|
22 |
|
ships same day |
016 |
172-2298
|
Push mount tie |
$10.52
|
2 |
|
usually ships 1-5 days |
N/S |
999-0162
|
Bolt 5/16-18 x 1 1/4 hex head grade 5 zinc plated |
$0.99
|
12 |
|
ships same day |
N/S |
999-0430
|
Nut 5/16-18 hex jam plain finish |
$0.99
|
12 |
|
ships same day |