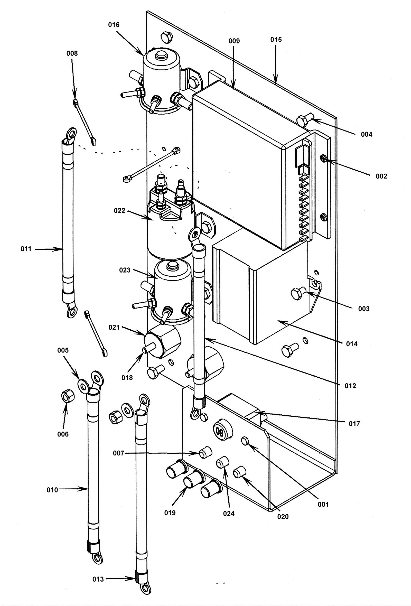
| # | Part | Description | Price | Req | Notes | Availability |
001 |
272-1453
|
Bolt 10-24 x 7/8 hex head |
$10.52
|
2 |
|
usually ships 1-5 days |
002 |
272-1457
|
Bolt 10-24 x 3/8 stainless steel hex head |
$12.89
|
4 |
|
usually ships 1-5 days |
003 |
999-0360
|
Screw 1/4-20 x 3/8 hex head thread rolling unslotted |
$0.99
|
8 |
|
ships same day |
004 |
999-0273
|
Screw 1/4-20 x 1/2 hex washer head thread rolling zinc |
$0.99
|
4 |
|
ships same day |
005 |
999-0238
|
Washer 1/4 internal star lock zinc plated |
$0.99
|
2 |
|
ships same day |
006 |
999-0190
|
Nut 1/4-20 hex plain finish |
$0.99
|
2 |
|
ships same day |
007 |
172-0228
|
5amp circuit breaker (OBSOLETE) |
$79.20
|
1 |
|
usually ships 13-18 days |
008 |
172-0236
|
Diode rectifier assembly |
$34.23
|
3 |
|
usually ships 13-18 days |
009 |
172-2812
|
Speed control (OBSOLETE) |
$1,001.48
|
1 |
|
usually ships 13-18 days |
010 |
272-1145
|
4 Cable assembly (OBSOLETE) |
$54.05
|
1 |
|
usually ships 1-5 days |
011 |
272-1146
|
3 Cable assembly (OBSOLETE) |
$55.84
|
1 |
|
usually ships 1-5 days |
012 |
272-1147
|
27 Cable assembly (OBSOLETE) |
$20.20
|
1 |
|
usually ships 1-5 days |
013 |
272-1148
|
2 Cable assembly (OBSOLETE) |
$16.63
|
1 |
|
usually ships 1-5 days |
014 |
172-8041
|
Actuator Control Module(gearbox) (OBSOLETE) |
$242.59
|
1 |
|
usually ships 13-18 days |
015 |
172-9964
|
Electrical panel (OBSOLETE) |
$114.05
|
1 |
|
usually ships 1-5 days |
016 |
991-1223
|
36V solenoid contactor with 4 post |
$48.17
|
1 |
|
usually ships 18-24 days |
017 |
172-9573
|
80 Amp circuit breaker (brush motor) |
$291.50
|
1 |
|
usually ships 1-5 days |
018 |
172-0346
|
Stud 1/4-20 |
$12.89
|
2 |
|
ships same day |
019 |
172-0231
|
Reset button boot |
$51.96
|
3 |
|
usually ships 13-18 days |
020 |
172-9965
|
25 Amp circuit breaker |
$70.18
|
1 |
|
usually ships 1-5 days |
021 |
172-0103
|
Electrical mount |
$14.41
|
2 |
|
usually ships 1-5 days |
022 |
172-2805
|
36V contactor |
$104.81
|
1 |
(Brush motor) |
ships same day |
023 |
991-1223
|
36V solenoid contactor with 4 post |
$48.17
|
1 |
(Vacuum motor) |
usually ships 18-24 days |
024 |
172-9965
|
25 Amp circuit breaker |
$70.18
|
1 |
(Drive motor) |
usually ships 1-5 days |