| # | Part | Description | Price | Req | Notes | Availability |
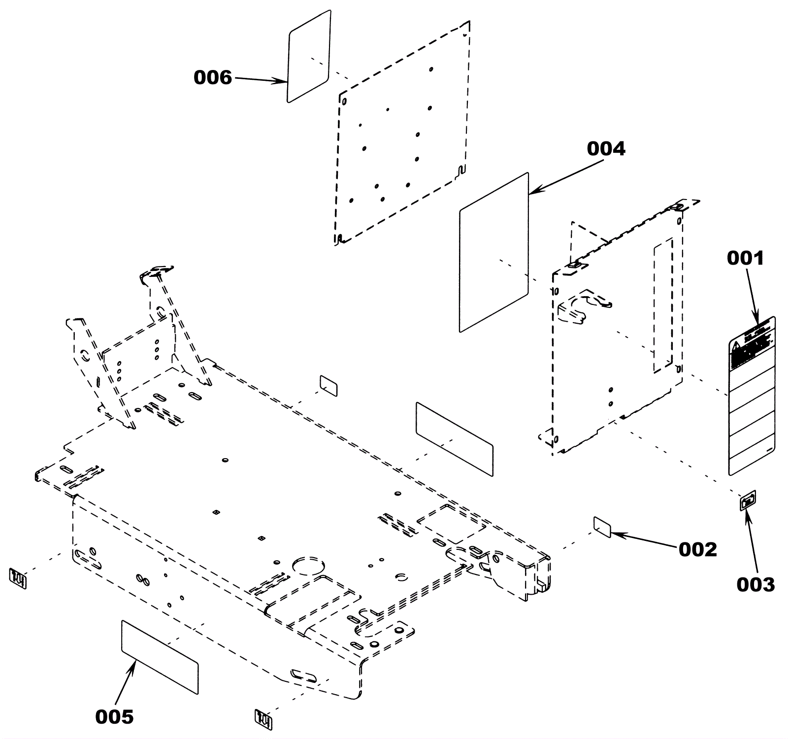
001 |
172-5000
|
Caution decal |
$48.17
|
1 |
|
usually ships 1-5 days |
002 |
172-5002
|
Tie down decal |
$37.27
|
4 |
|
usually ships 1-5 days |
003 |
172-5010
|
Charger decal |
$19.25
|
1 |
|
usually ships 1-5 days |
004a |
N/A
|
Not available |
Call for price
|
1 |
Before SN 1573672 (Wiring decal) |
usually ships 3-26 days |
004b |
N/A
|
Not available |
Call for price
|
1 |
(After SN 1573671) (Electrical schematic decal) |
usually ships 3-26 days |
005a |
N/A
|
Not available |
Call for price
|
2 |
(ConvertaMAX 26 decal) |
usually ships 3-26 days |
005b |
N/A
|
Not available |
Call for price
|
2 |
(ConvertaMAX 20 decal) |
usually ships 3-26 days |
006 |
N/A
|
Not available |
Call for price
|
1 |
(Battery wiring decal) |
usually ships 3-26 days |