| # | Part | Description | Price | Req | Notes | Availability |
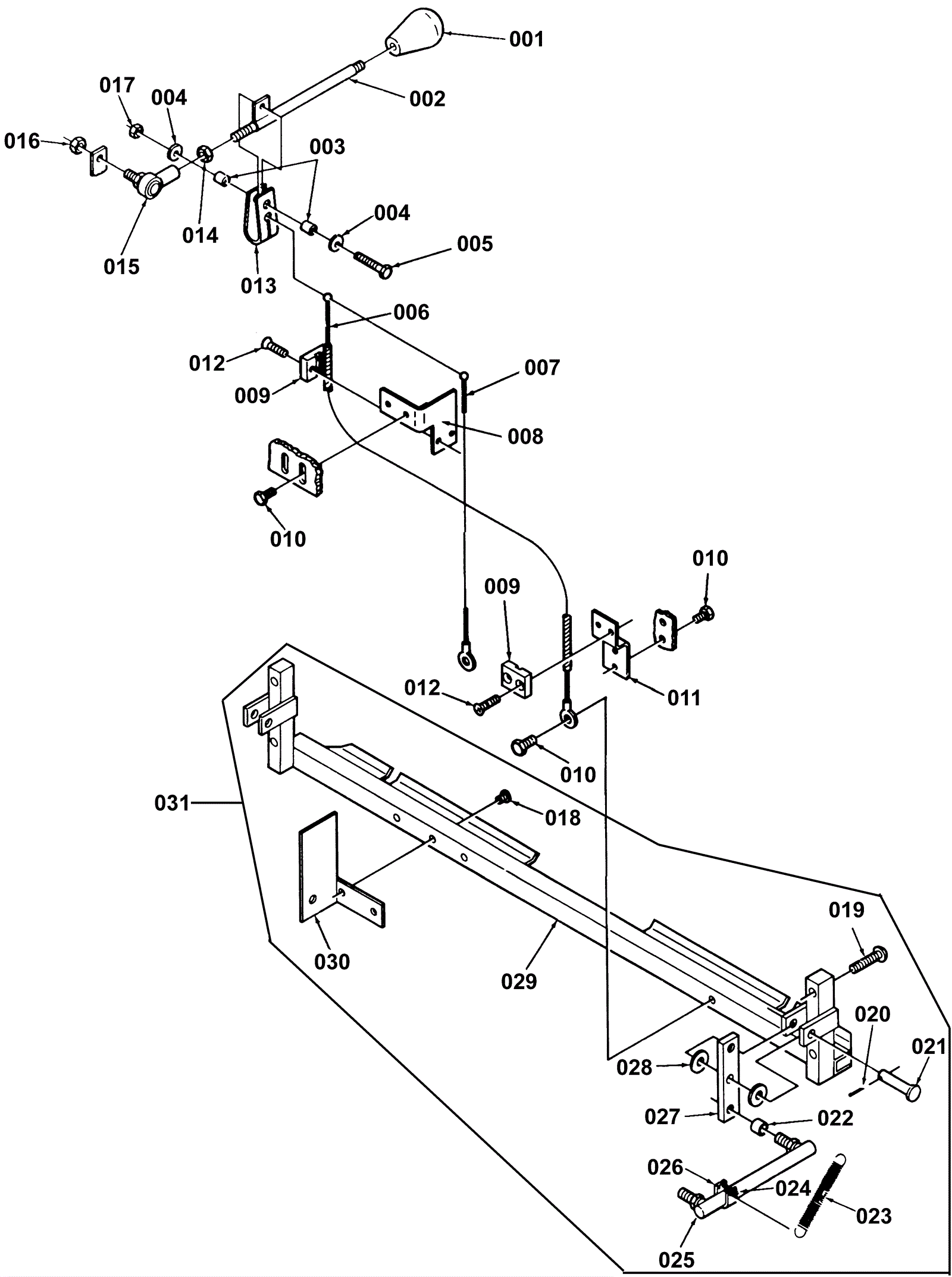
001 |
172-0021
|
Knob |
$25.75
|
1 |
|
usually ships 13-18 days |
002 |
172-2757
|
Rod |
$78.98
|
1 |
|
usually ships 1-5 days |
003 |
172-2758
|
Bushing |
$10.23
|
2 |
|
usually ships 1-5 days |
004 |
999-0123
|
Washer 1/4 SAE flat zinc plated |
$0.99
|
2 |
|
ships same day |
005 |
999-0344
|
Bolt 1/4-20 x 1 1/2 hex head plain finish |
$0.99
|
1 |
|
ships same day |
006 |
172-8001
|
Cable |
$86.27
|
1 |
The old style cables (not shown) had eyelets at both ends. To replace, order part number 172-8184 Squeegee Cable Kit |
usually ships 1-5 days |
007 |
172-0567
|
Squeegee cable |
$34.96
|
1 |
The old style cables (not shown) had eyelets at both ends. To replace, order part number 172-8184 Squeegee Cable Kit |
usually ships 1-5 days |
008 |
172-2759
|
Bracket (OBSOLETE) |
$6.24
|
1 |
|
usually ships 1-5 days |
009 |
172-2760
|
Cable clamp (OBSOLETE) |
$42.24
|
2 |
|
usually ships 1-5 days |
010 |
999-0360
|
Screw 1/4-20 x 3/8 hex head thread rolling unslotted |
$0.99
|
6 |
|
ships same day |
011 |
172-2761
|
Bracket (OBSOLETE) |
$6.08
|
1 |
|
usually ships 1-5 days |
012 |
172-2762
|
Screw 1/4-20 x 3/4 flat head phillips thread forming |
$10.52
|
4 |
|
usually ships 1-5 days |
013 |
172-2763
|
Pivot (OBSOLETE) |
$20.90
|
1 |
The old style cables (not shown) had eyelets at both ends. To replace, order part number 172-8184 Squeegee Cable Kit |
usually ships 1-5 days |
014 |
999-0211
|
Nut 5/16-18 hex nylon insert lock zinc plated |
$0.99
|
1 |
|
ships same day |
015 |
172-2679
|
Rod end |
$67.56
|
1 |
|
usually ships 13-18 days |
016 |
999-0211
|
Nut 5/16-18 hex nylon insert lock zinc plated |
$0.99
|
1 |
|
ships same day |
017 |
999-0152
|
Nut 1/4-20 nylon insert lock zinc plated |
$0.99
|
1 |
|
ships same day |
018 |
999-0409
|
Screw 10-24 x 3/8 pan head slotted zinc plated |
$0.99
|
2 |
|
ships same day |
019 |
999-0398
|
Screw 1/4-20 x 1 1/2 pan head phillips zinc plated |
$0.99
|
4 |
|
ships same day |
020 |
997-2501
|
Cotter pin 1/16 x 1 |
$0.99
|
2 |
|
ships same day |
021 |
172-0409
|
Pin (OBSOLETE) |
$8.03
|
2 |
|
usually ships 1-5 days |
022 |
172-4008
|
Bushing |
$38.50
|
4 |
|
ships same day |
023 |
172-0425
|
Extension spring |
$19.65
|
4 |
|
usually ships 1-5 days |
024a |
999-0299
|
Screw 4-40 x 7/8 pan head phillips stainless steel |
$0.99
|
4 |
|
ships same day |
024b |
999-0295
|
Nut 4-40 nylon insert lock stainless steel |
$0.99
|
4 |
|
ships same day |
025 |
172-0314
|
Rod with ball joint |
$48.82
|
4 |
|
usually ships 1-5 days |
026 |
172-0424
|
Collar (OBSOLETE) |
$11.00
|
4 |
|
usually ships 13-18 days |
027 |
172-0423
|
Squeegee mounting bar (OBSOLETE) |
$30.25
|
2 |
|
usually ships 1-5 days |
028 |
172-0369
|
Washer 17/64 x 3/4 x 23/64 flat |
$12.89
|
4 |
|
usually ships 1-5 days |
029 |
172-2766
|
Squeegee mounting kit (OBSOLETE) |
$263.85
|
1 |
|
usually ships 1-5 days |
030 |
172-2767
|
Bracket (OBSOLETE) |
$29.11
|
1 |
|
usually ships 1-5 days |
031 |
172-2765
|
Squeegee mounting assembly (OBSOLETE) |
$540.54
|
1 |
(includes 018 thru 030) |
usually ships 1-5 days |
KIT |
172-8184
|
Squeegee cable kit (OBSOLETE) |
$173.25
|
1 |
|
usually ships 1-5 days |