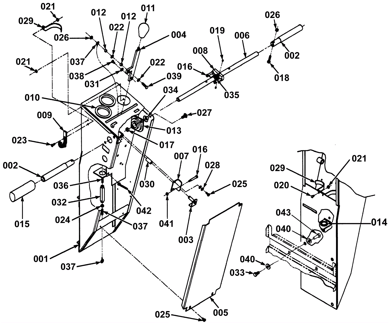
# | Part | Description | Price | Req | Notes | Availability |
001 |
N/A
|
Not available |
Call for price
|
1 |
(Handle weldment) |
usually ships 3-26 days |
002 |
172-2287
|
Handle tube (OBSOLETE) |
$34.76
|
2 |
|
usually ships 1-5 days |
003 |
172-2288
|
Actuator weldment (OBSOLETE) |
$55.24
|
1 |
|
usually ships 13-18 days |
004 |
172-0570
|
Handle weldment |
$137.61
|
1 |
|
usually ships 13-18 days |
005 |
N/A
|
Not available |
Call for price
|
1 |
(Cover) |
usually ships 3-26 days |
006 |
172-2290
|
Handle bar |
$56.14
|
1 |
|
usually ships 1-5 days |
007 |
172-2291
|
Stop bracket (OBSOLETE) |
$35.82
|
1 |
|
usually ships 1-5 days |
008 |
172-0505
|
Handle spring lever |
$141.67
|
1 |
|
usually ships 1-5 days |
009 |
172-0020
|
Hook (OBSOLETE) |
$18.48
|
2 |
|
usually ships 1-5 days |
010 |
172-2292
|
Grommet |
$5.39
|
2 |
|
usually ships 1-5 days |
011 |
172-0021
|
Knob |
$24.60
|
1 |
|
usually ships 13-18 days |
012 |
172-0016
|
Bushing |
$31.16
|
2 |
|
usually ships 1-5 days |
013 |
172-2293
|
Bearing (OBSOLETE) |
$79.42
|
2 |
|
usually ships 1-5 days |
014 |
172-2294
|
Flanged bearing (OBSOLETE) |
$24.95
|
1 |
|
usually ships 1-5 days |
015a |
164-0304
|
Handle grip |
$71.48
|
2 |
|
usually ships 1-5 days |
015b |
991-8571
|
Handle grip |
$4.04
|
2 |
(NON-OEM) |
usually ships 18-24 days |
016 |
999-0085
|
Screw 10-24 x 1 1/2 socket head shoulder |
$0.99
|
3 |
|
ships same day |
017 |
999-0211
|
Nut 5/16-18 hex nylon insert lock zinc plated |
$0.99
|
6 |
|
ships same day |
018 |
999-0076
|
Bolt 1/2-20 x 1 hex head grade 5 plain finish |
$1.76
|
2 |
|
ships same day |
019 |
999-0327
|
Screw 10-24 x 1/8 cup point socket set |
$0.99
|
2 |
|
ships same day |
020 |
999-0267
|
Screw 10-24 x 1/2 pan head phillips zinc |
$0.99
|
2 |
|
ships same day |
021 |
999-0211
|
Nut 5/16-18 hex nylon insert lock zinc plated |
$0.99
|
6 |
|
ships same day |
022 |
172-0369
|
Washer 17/64 x 3/4 x 23/64 flat |
$12.31
|
2 |
|
usually ships 1-5 days |
023 |
999-0695
|
Screw 10-24 x 5/8 flat head phillips zinc plated |
$0.99
|
2 |
|
ships same day |
024 |
999-0134
|
Nut 1/2-20 hex jam plain finish |
$0.99
|
1 |
|
ships same day |
025 |
999-0793
|
Screw 10-24 x 3/8 hex washer slot thread cutting zinc |
$0.99
|
4 |
|
ships same day |
026 |
999-0152
|
Nut 1/4-20 nylon insert lock zinc plated |
$0.99
|
3 |
|
ships same day |
027 |
999-0696
|
Screw 5/16-18 x 1 pan head phillips zinc plated |
$0.99
|
4 |
|
ships same day |
028 |
999-0588
|
Washer 7/8 flat stainless steel |
$11.44
|
2 |
|
ships same day |
029 |
172-2295
|
Clamp capacitor (OBSOLETE) |
$26.14
|
3 |
|
usually ships 1-5 days |
030 |
172-0209
|
Sleeve bearing |
$12.54
|
1 |
|
usually ships 1-5 days |
031 |
999-0588
|
Washer 7/8 flat stainless steel |
$11.44
|
1 |
|
ships same day |
032 |
172-2296
|
Turn buckle |
$11.75
|
1 |
|
usually ships 13-18 days |
033 |
999-0031
|
Bolt 5/16-18 x 1 hex head grade 5 zinc plated |
$0.99
|
2 |
|
ships same day |
034 |
172-4008
|
Bushing |
$33.43
|
4 |
|
ships same day |
035 |
172-0506
|
Torsion spring (OBSOLETE) |
$13.07
|
1 |
|
usually ships 13-18 days |
036 |
172-0247
|
Wire rope assembly (OBSOLETE) |
$36.71
|
1 |
(left hand) |
usually ships 13-18 days |
037 |
172-0248
|
Wire rope assy |
$42.85
|
1 |
(right hand) |
usually ships 1-5 days |
038 |
999-0370
|
Screw 10-24 x 3/8 hex washer head slotted zinc |
$0.99
|
1 |
|
ships same day |
039 |
999-0510
|
Screw 1/4-20 x 1 pan head phillips zinc plated |
$0.99
|
1 |
|
ships same day |
040 |
999-0024
|
Washer 5/16 flat stainless steel |
$1.34
|
6 |
|
ships same day |
041 |
999-0211
|
Nut 5/16-18 hex nylon insert lock zinc plated |
$0.99
|
1 |
|
ships same day |
042 |
172-2298
|
Push mount tie |
$10.52
|
2 |
|
usually ships 1-5 days |
043 |
999-0030
|
Bolt 5/16-18 x 5/8 hex head grade 5 zinc plated |
$1.14
|
2 |
|
ships same day |