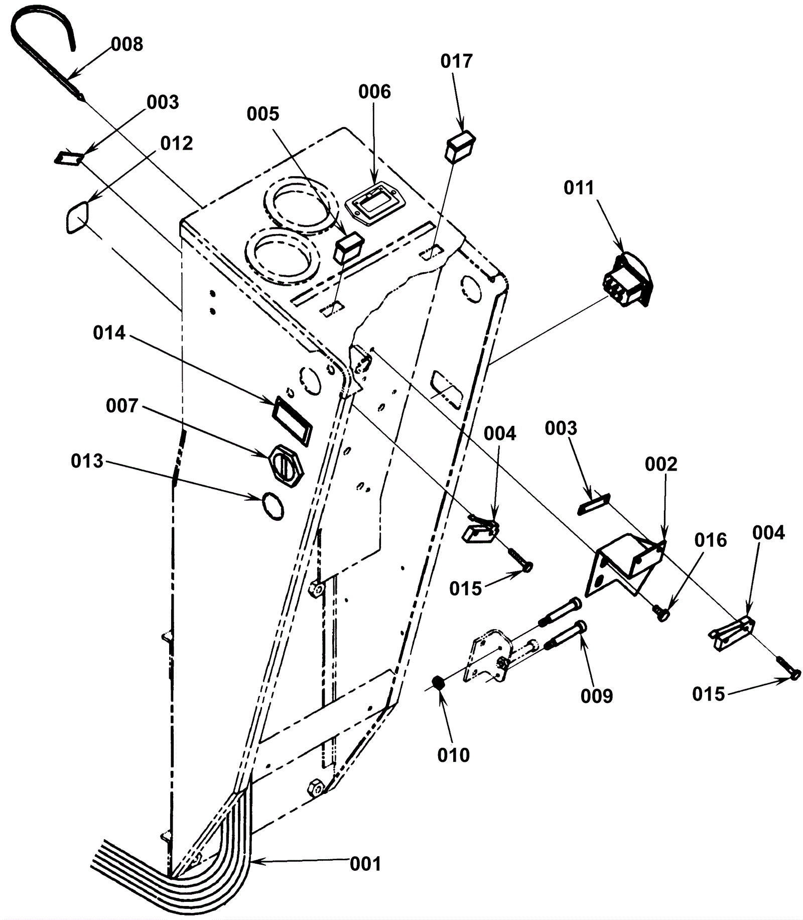
| # | Part | Description | Price | Req | Notes | Availability |
001 |
N/A
|
Not available |
Call for price
|
1 |
(Wiring harness) |
usually ships 3-26 days |
002 |
N/A
|
Not available |
Call for price
|
1 |
(Switch bracket) |
usually ships 3-26 days |
003 |
172-6084
|
Nut plate |
$24.40
|
1 |
|
usually ships 13-18 days |
004 |
172-2301
|
Snap switch |
$46.22
|
2 |
|
usually ships 13-18 days |
005 |
172-0220
|
Green light (OBSOLETE) |
$17.90
|
1 |
|
usually ships 13-18 days |
006a |
172-2302
|
Battery meter |
$90.59
|
1 |
|
usually ships 13-18 days |
006b |
172-2303
|
Rubber boot |
$14.41
|
2 |
|
usually ships 1-5 days |
007a |
172-2161
|
Key switch with key and bracket |
$225.10
|
1 |
(optional) |
usually ships 13-18 days |
007b |
172-0451
|
Replacement key |
$40.21
|
1 |
|
usually ships 13-18 days |
007c |
172-6004
|
Toggle switch |
$48.17
|
1 |
|
usually ships 13-18 days |
008 |
172-2298
|
Push mount tie |
$10.52
|
2 |
|
usually ships 1-5 days |
009 |
999-0745
|
Screw 10-24 x 1 1/4 socket head shoulder |
$2.67
|
2 |
|
ships same day |
010 |
999-0211
|
Nut 5/16-18 hex nylon insert lock zinc plated |
$0.99
|
2 |
|
ships same day |
011 |
172-2157
|
Rocker switch DPDT |
$86.94
|
1 |
|
usually ships 13-18 days |
012 |
N/A
|
Not available |
Call for price
|
|
(not available) Cover decal |
usually ships 3-26 days |
013 |
172-2306
|
Cap plug |
$12.89
|
1 |
|
usually ships 1-5 days |
014 |
N/A
|
Not available |
Call for price
|
1 |
(Plug) |
usually ships 3-26 days |
015 |
999-0440
|
Screw 6-32 x 1 hex washer head slotted zinc |
$0.99
|
4 |
Loc |
ships same day |
016 |
999-0793
|
Screw 10-24 x 3/8 hex washer slot thread cutting zinc |
$0.99
|
4 |
|
ships same day |
017 |
172-0504
|
Blue light (OBSOLETE) |
$7.70
|
1 |
|
usually ships 13-18 days |