| # | Part | Description | Price | Req | Notes | Availability |
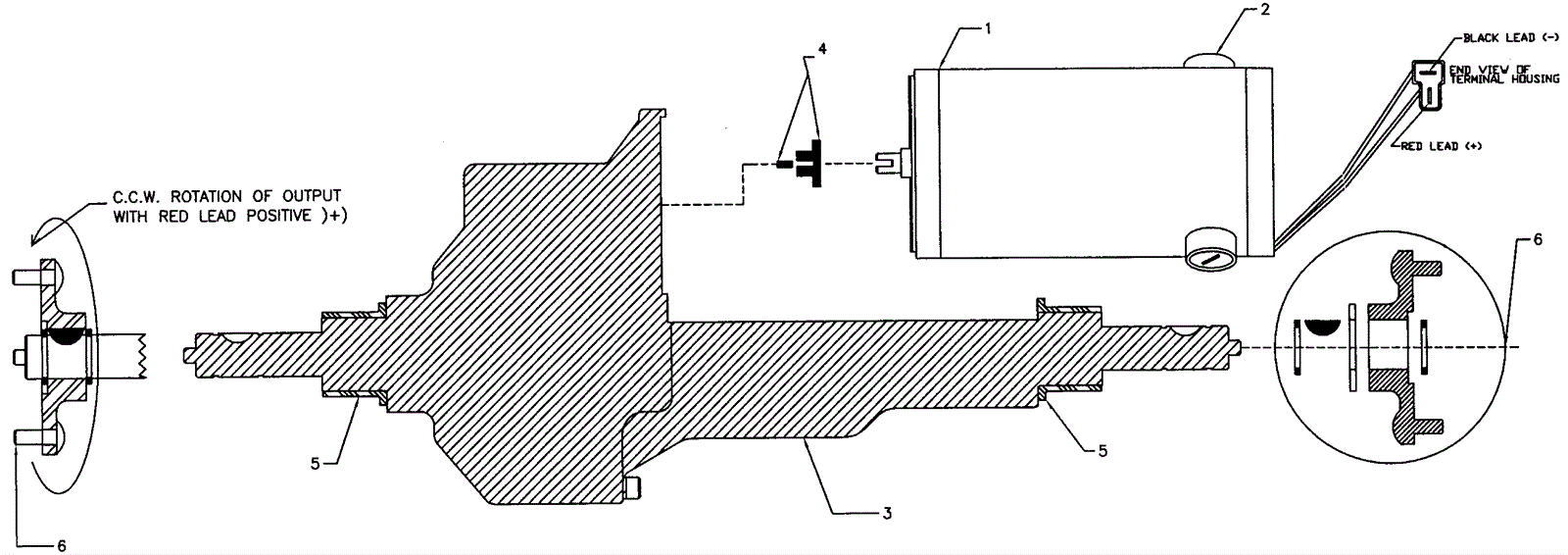
1 |
270-0733
|
Transaxle motor (OBSOLETE) |
$825.91
|
1 |
|
usually ships 1-5 days |
2 |
270-0734
|
Carbon brushes (pkg of 2) |
$66.03
|
1 |
|
usually ships 1-5 days |
3 |
270-0842
|
Gearbox assembly |
$2,182.16
|
1 |
|
usually ships 1-5 days |
4 |
272-5579
|
Coupling kit |
$72.26
|
1 |
(includes motor coupler and motor key) |
usually ships 13-18 days |
5 |
272-2338
|
Neoprene mounting sleeve |
$32.15
|
2 |
|
usually ships 13-18 days |
6 |
170-1921
|
Transaxle hub (OBSOLETE) |
$203.50
|
2 |
(includes snap rings, woodruff key, wheel flange, carriage bolts and shim) |
usually ships 13-18 days |