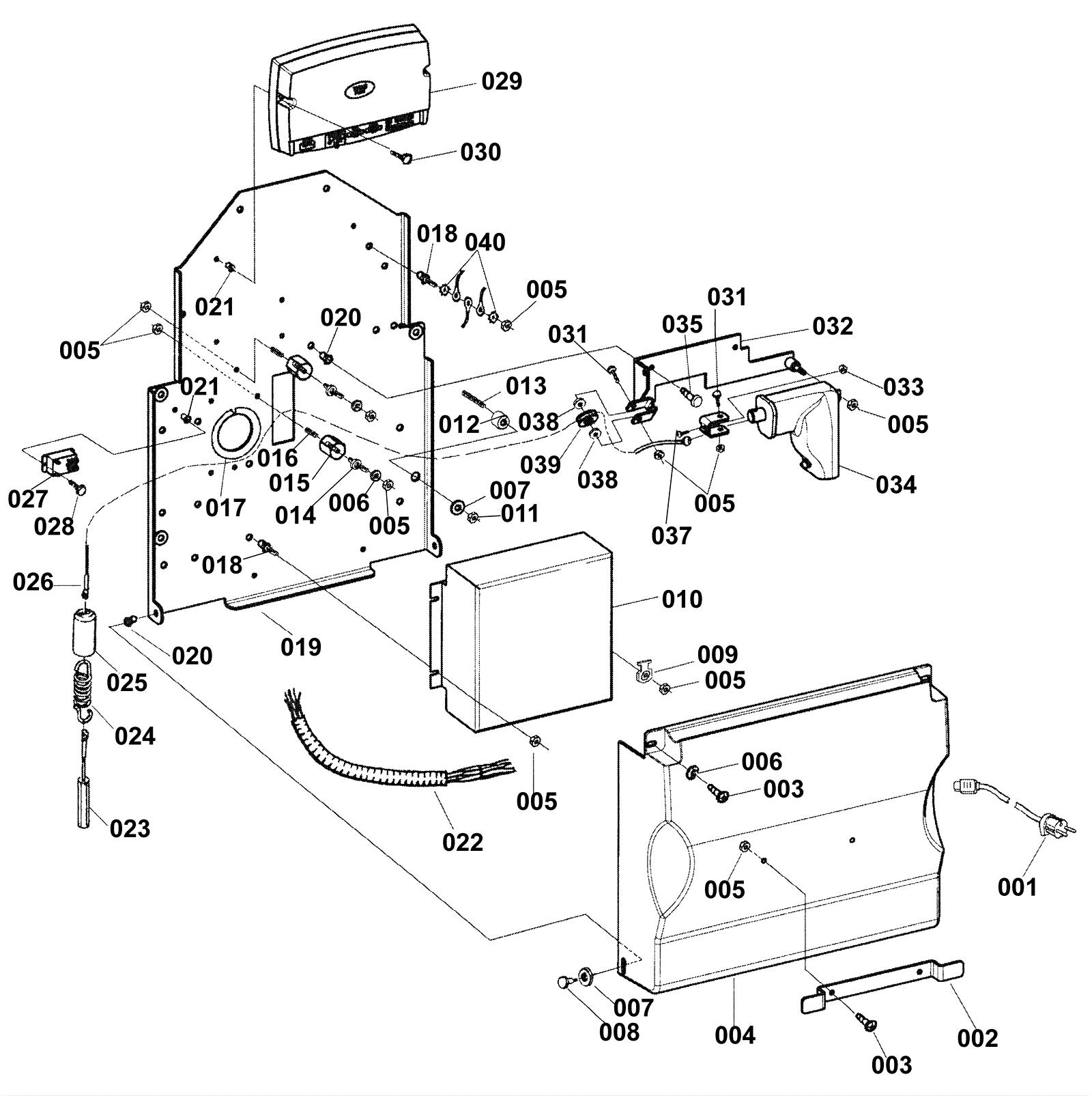
| # | Part | Description | Price | Req | Notes | Availability |
001 |
170-7385
|
Onboard charger cord |
$29.52
|
1 |
|
usually ships 13-18 days |
002 |
170-7386
|
Cord wrapping bracket |
$13.17
|
1 |
|
usually ships 1-5 days |
003 |
999-0081
|
Screw 1/4-20 x 5/8 pan head slotted zinc |
$0.99
|
4 |
|
ships same day |
004 |
170-7345
|
Rear cover |
$302.50
|
1 |
|
usually ships 1-5 days |
005 |
999-0294
|
Nut 1/4-20 hex nylon lock type NE stainless steel |
$1.18
|
14 |
|
ships same day |
006 |
999-0016
|
Washer 1/4 flat plain finish |
$0.99
|
4 |
|
ships same day |
007 |
999-0549
|
Washer 5/16 x 3/4 SAE flat stainless steel |
$0.99
|
6 |
|
ships same day |
008 |
170-7389
|
Bolt 5/46 x 1/2 shoulder |
$10.52
|
2 |
|
usually ships 1-5 days |
009 |
170-7388
|
1/4 tab |
$12.31
|
1 |
|
usually ships 1-5 days |
010 |
272-2224
|
36V onboard battery charger |
$1,180.45
|
1 |
|
ships same day |
011 |
999-0211
|
Nut 5/16-18 hex nylon insert lock zinc plated |
$0.99
|
4 |
|
ships same day |
012 |
170-7391
|
Spacer |
$10.52
|
4 |
|
usually ships 1-5 days |
013 |
999-9117
|
Screw 5/16-18 x 1 3/4 socket cup point set stainless steel |
$2.70
|
4 |
|
ships same day |
014 |
170-0064
|
Stud 1/4-20 |
$12.31
|
2 |
|
usually ships 1-5 days |
016 |
999-0715
|
Screw 1/4-20 x 3/4 cup point socket set alloy plain finish |
$0.99
|
2 |
|
ships same day |
017 |
170-7070
|
Gasket |
$12.31
|
1 |
|
usually ships 13-18 days |
018 |
170-7074
|
Stud 1/4-20 |
$10.52
|
5 |
|
usually ships 1-5 days |
019 |
170-7393
|
Electrical panel (OBSOLETE) |
$325.51
|
1 |
|
usually ships 1-5 days |
020 |
170-7076
|
Insert 1/4-20 |
$12.31
|
4 |
|
usually ships 1-5 days |
021 |
170-7075
|
Insert 8-32 |
$12.31
|
4 |
|
usually ships 1-5 days |
022 |
170-7403
|
Main wiring harness - deluxe |
$534.05
|
1 |
|
usually ships 1-5 days |
023 |
170-1626
|
Cable spring assembly (OBSOLETE) |
$80.86
|
1 |
|
usually ships 13-18 days |
024 |
170-1625
|
Cable spring |
$17.90
|
1 |
|
usually ships 1-5 days |
025 |
170-1624
|
Sleeve |
$12.05
|
1 |
|
usually ships 1-5 days |
026 |
170-1623
|
Upper cable assembly (OBSOLETE) |
$38.07
|
1 |
|
usually ships 13-18 days |
027 |
172-1779
|
36V relay SPST |
$78.58
|
1 |
|
usually ships 13-18 days |
028 |
999-0697
|
Screw 8-32 x 3/4 pan head phillips stainless steel |
$0.99
|
2 |
|
ships same day |
029 |
170-7405
|
Trio controller |
$3,727.63
|
1 |
|
usually ships 1-5 days |
030 |
999-0852
|
Screw 8-32 x 1 1/4 truss head slotted stainless steel |
$0.99
|
2 |
|
ships same day |
031 |
999-0506
|
Bolt 1/4-20 x 1 1/2 hex head stainless steel |
$1.28
|
2 |
|
ships same day |
032 |
170-7406
|
Actuator bracket |
$21.01
|
1 |
|
usually ships 1-5 days |
033 |
999-0211
|
Nut 5/16-18 hex nylon insert lock zinc plated |
$0.99
|
1 |
|
ships same day |
034 |
170-7407
|
Squeegee actuator |
$386.65
|
1 |
|
usually ships 1-5 days |
035 |
999-0019
|
Bolt 1/4-20 x 5/8 hex head grade 5 zinc plated |
$0.99
|
2 |
|
ships same day |
036 |
170-1622
|
Pulley bracket |
$33.00
|
1 |
|
usually ships 1-5 days |
037 |
999-0267
|
Screw 10-24 x 1/2 pan head phillips zinc |
$0.99
|
1 |
|
ships same day |
038 |
170-7115
|
Washer 1 1/2 x 1/8 flat nylon |
$12.31
|
2 |
|
usually ships 13-18 days |
039 |
372-2615
|
Squeegee pulley cable |
$75.67
|
1 |
|
usually ships 13-18 days |
040 |
999-0017
|
Washer 1/4 external star lock |
$0.99
|
2 |
|
ships same day |