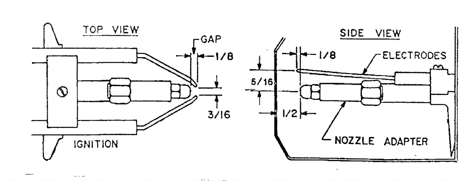
Electrode Diagram
Click to enlarge