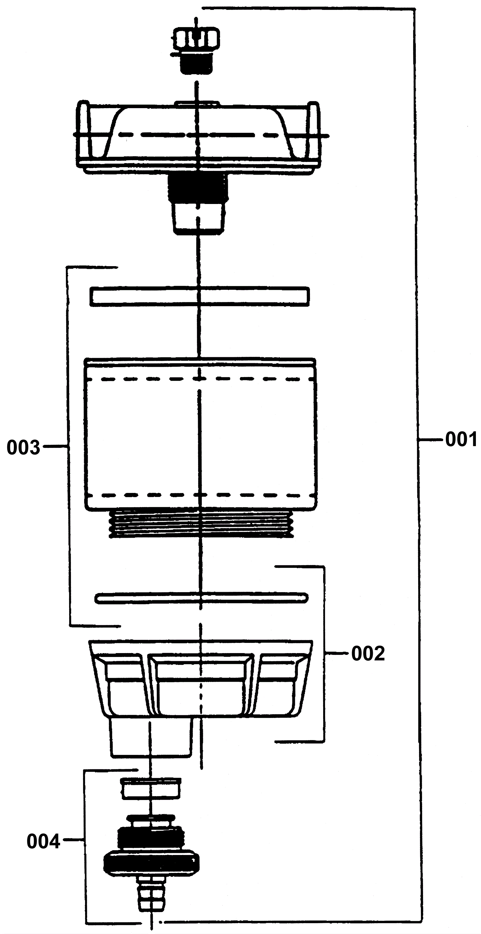
Fuel Filter Assembly
Click to enlarge