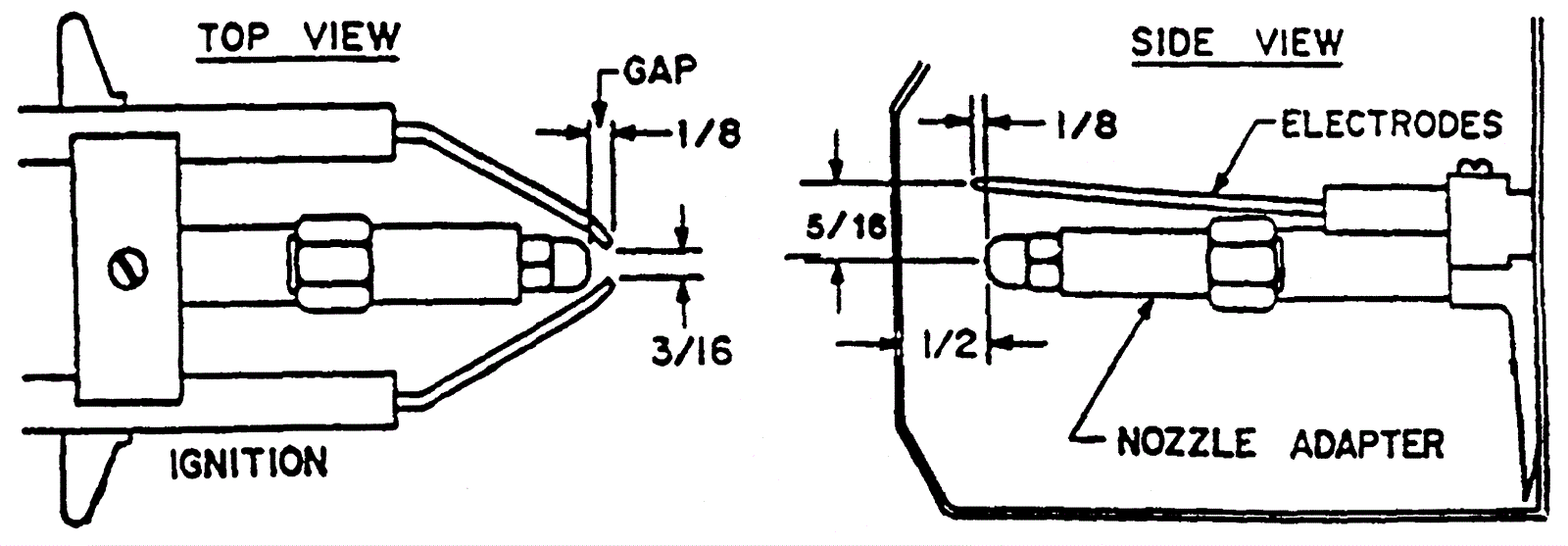
Electrode Adjustments
Click to enlarge