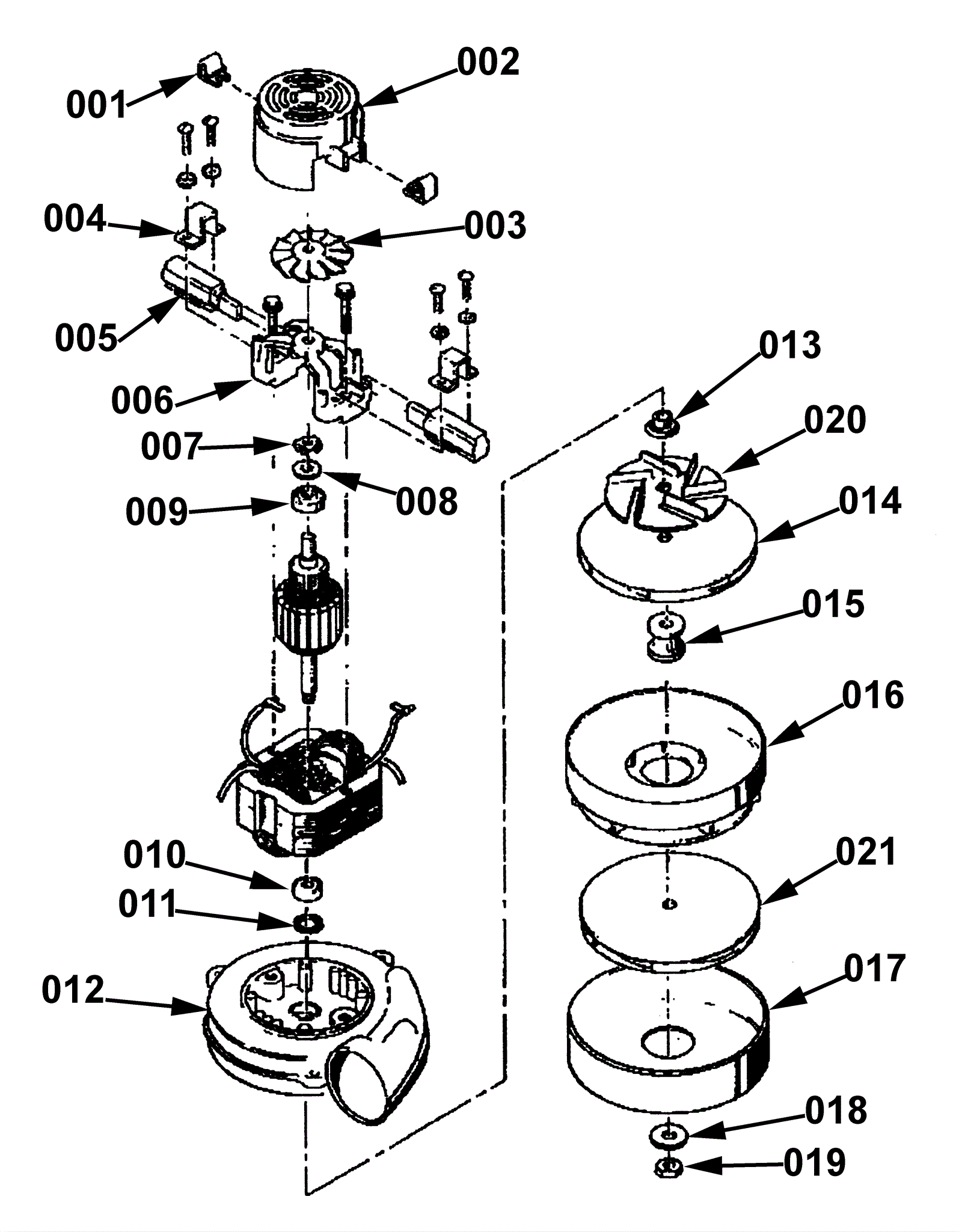
Motor 115V
Click to enlarge