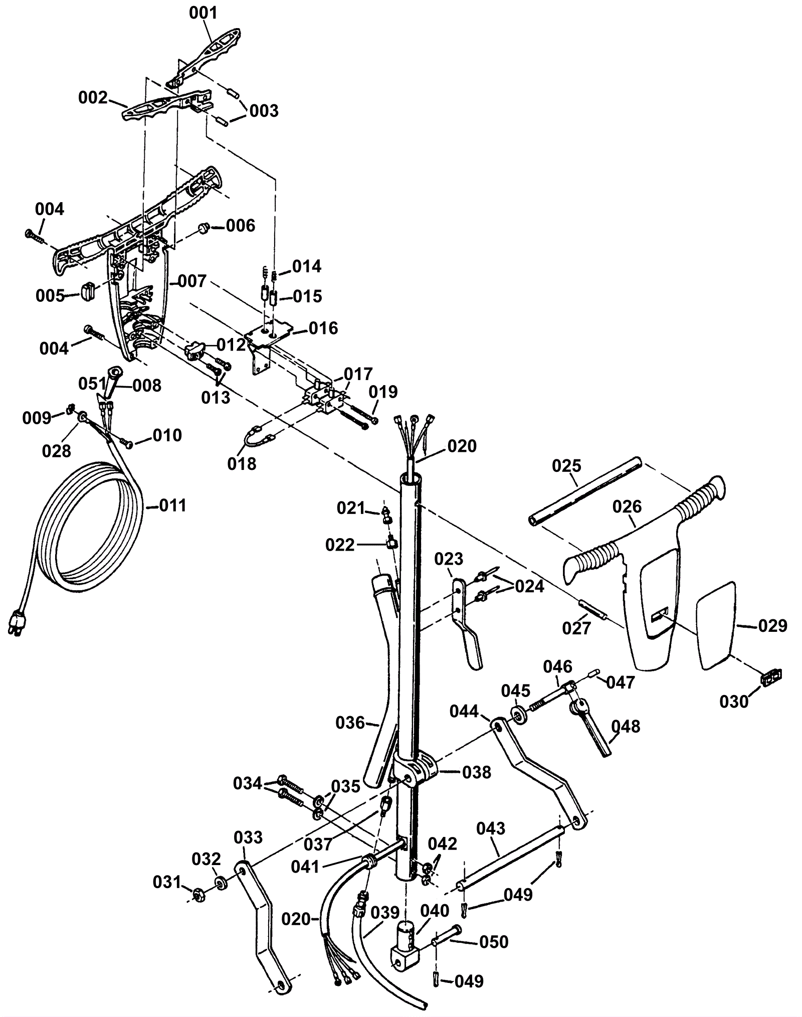
Upper Unit
Click to enlarge