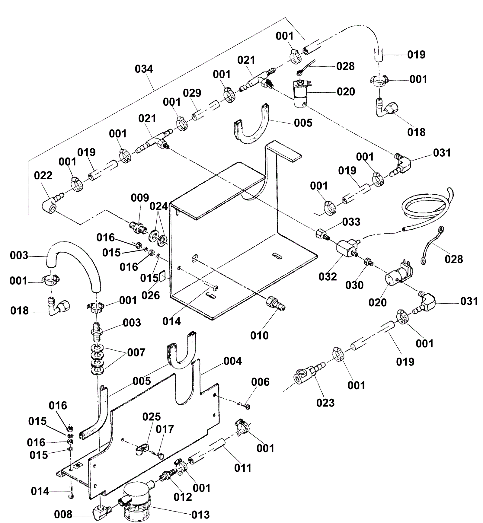
Valve Assembly 102844
Click to enlarge