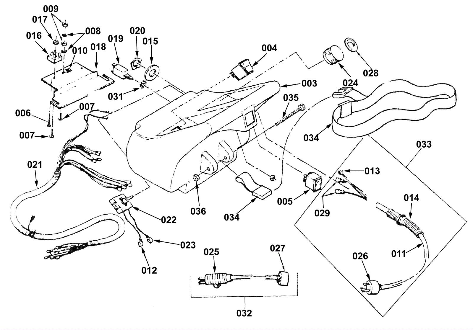
Electric Panel Assembly 10308A
Click to enlarge