| # | Part | Description | Price | Req | Notes | Availability |
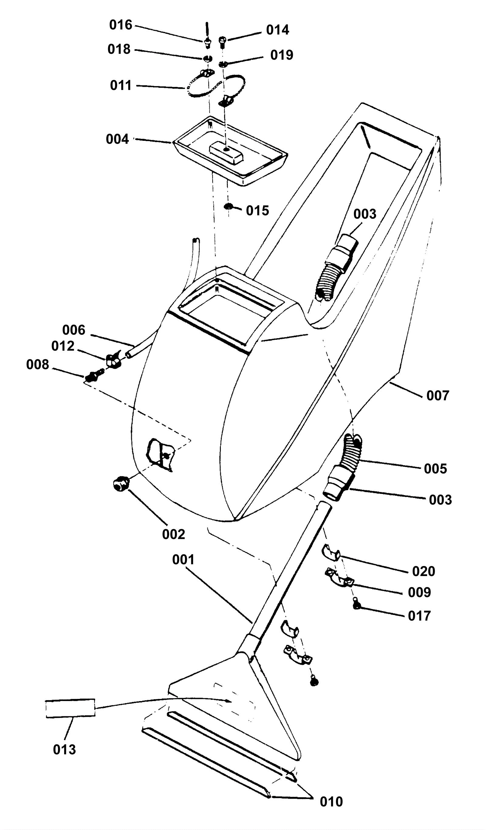
001 |
170-2887
|
Extractor tool EXT-771 (OBSOLETE) |
$275.62
|
1 |
|
usually ships 13-18 days |
002 |
170-3750
|
Soap screen (OBSOLETE) |
$13.20
|
1 |
|
usually ships 13-18 days |
003 |
170-3751
|
Hose vacuum cuff (OBSOLETE) |
$7.72
|
2 |
|
usually ships 1-5 days |
004 |
170-3752
|
Solution tank cover (OBSOLETE) |
$79.60
|
1 |
|
usually ships 1-5 days |
005 |
170-3663
|
Vac hose with cuffs (OBSOLETE) |
$43.36
|
1 |
|
usually ships 1-5 days |
006 |
170-3753
|
Hose 5-3/4 inch x 1 (OBSOLETE) |
$7.48
|
1 |
|
usually ships 1-5 days |
007 |
170-3754
|
Solution tank (OBSOLETE) |
Call for price
|
1 |
|
usually ships 1-5 days |
008 |
170-5061
|
Glow lamp (120V) (OBSOLETE) |
$7.72
|
1 |
|
usually ships 1-5 days |
009 |
170-3755
|
Extractor tool bracket (OBSOLETE) |
$13.54
|
2 |
|
usually ships 1-5 days |
010 |
170-2888
|
Shoe EXT-771 (OBSOLETE) |
$35.29
|
2 |
|
usually ships 1-5 days |
011 |
172-2474
|
8 inch chain |
$11.35
|
1 |
|
usually ships 13-18 days |
012 |
997-2002
|
Hose clamp #6 |
$2.15
|
1 |
|
ships same day |
013 |
170-0497
|
Clarke decal |
$17.74
|
1 |
|
usually ships 13-18 days |
014 |
999-0267
|
Screw 10-24 x 1/2 pan head phillips zinc |
$0.99
|
1 |
|
ships same day |
015 |
999-0062
|
Nut 10-24 hex |
$0.99
|
1 |
|
ships same day |
016 |
170-0614
|
Rivet (OBSOLETE) |
$5.50
|
1 |
|
usually ships 1-5 days |
017 |
999-0334
|
Bolt 1/4-20 x 3/4 inch hex head stainless steel |
$3.85
|
4 |
|
usually ships 16-20 days |
018 |
999-1416
|
Washer 7/16 flat stainless steel |
$0.99
|
1 |
|
ships same day |
019 |
170-6125
|
Washer 1/8 lock |
$1.21
|
1 |
|
usually ships 1-5 days |
020 |
170-3756
|
Gasket (OBSOLETE) |
$14.38
|
2 |
|
usually ships 1-5 days |