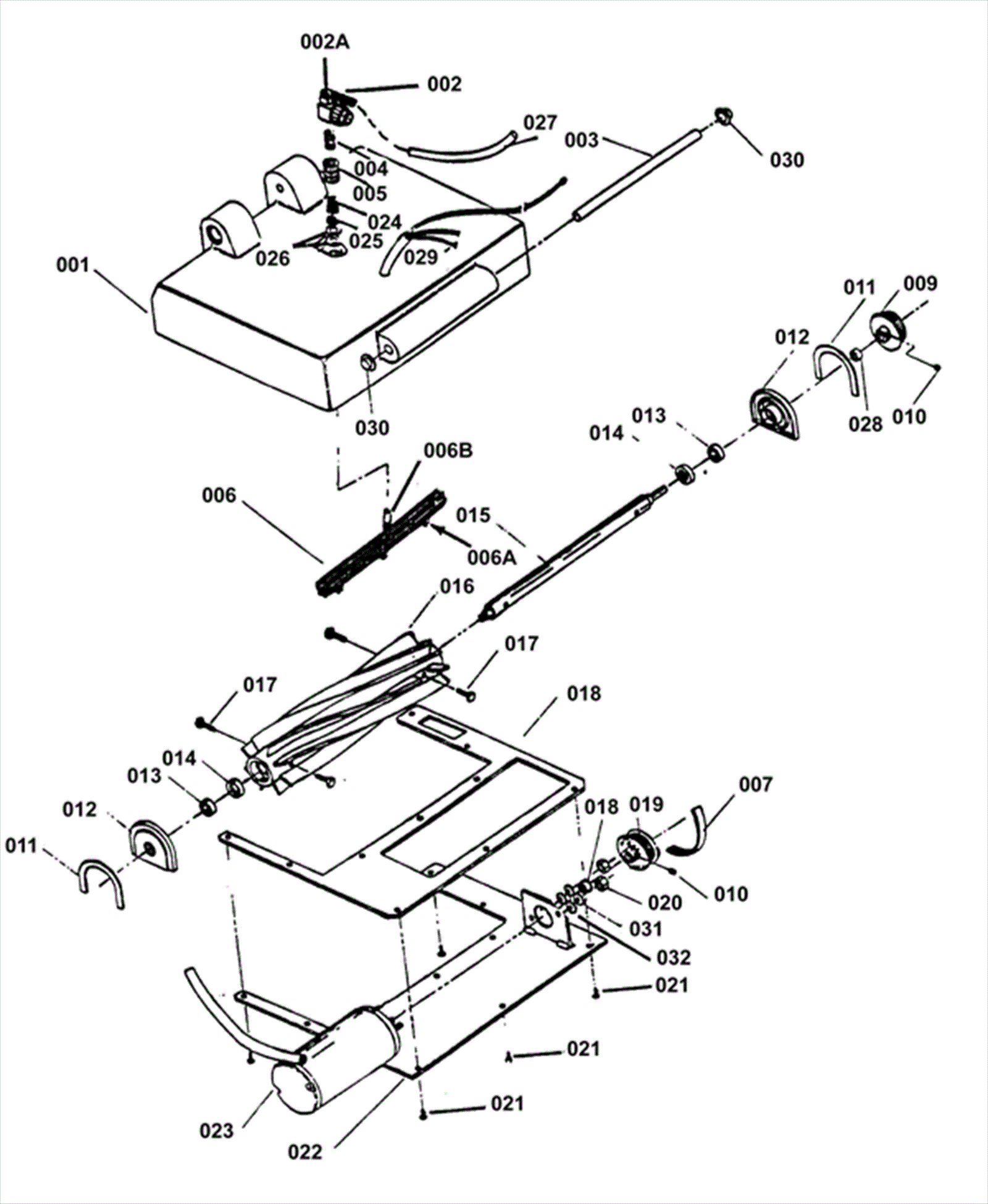
EXT771
Power Brush Assembly
Click to enlarge
#
Part
Description
Price
Req
Notes
Availability
006
170-6255
Spray nozzle 1/8in 110deg (OBSOLETE)
$23.65
3
usually ships 13-18 days
007
170-0696
Brush drive belt
$34.23
1
usually ships 13-18 days