| # | Part | Description | Price | Req | Notes | Availability |
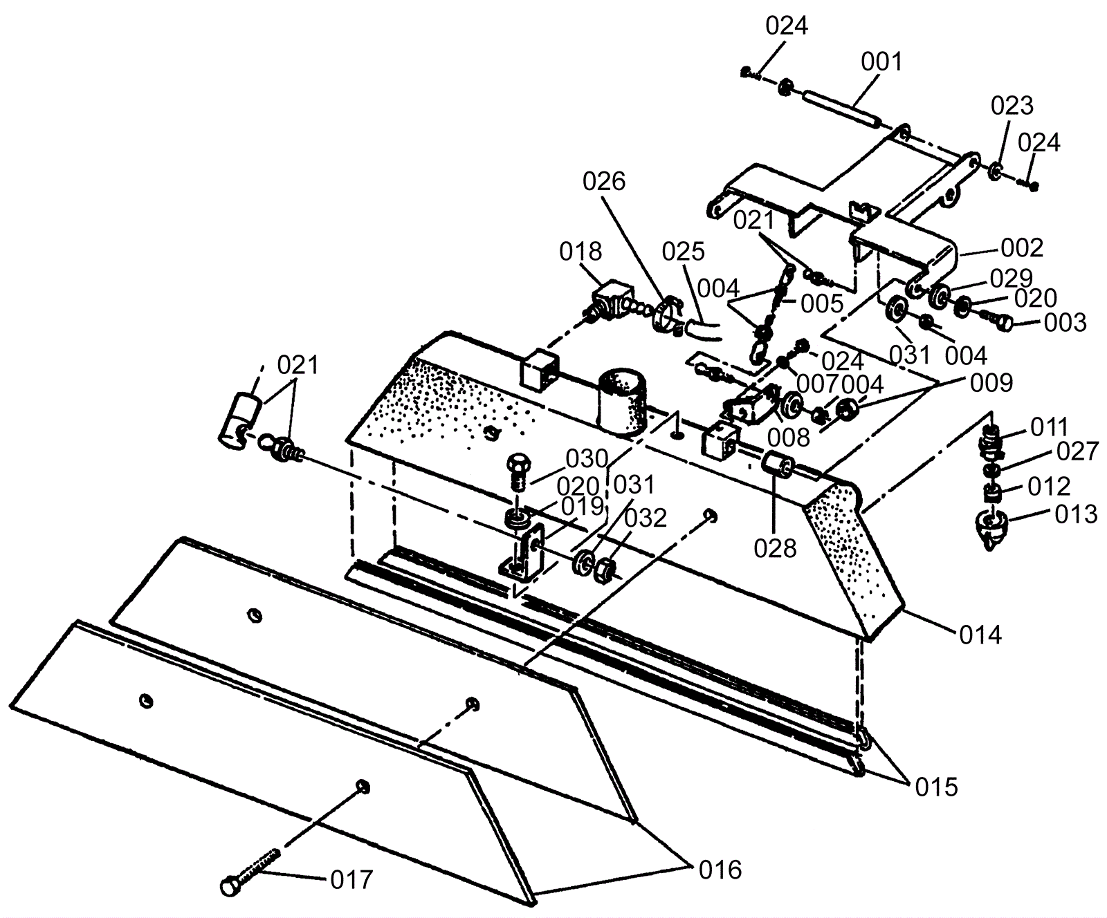
001 |
170-1491
|
Vacuum shoe shaft (OBSOLETE) |
$35.05
|
1 |
|
usually ships 1-5 days |
002 |
170-1492
|
Recovery lift weldment (OBSOLETE) |
$112.27
|
1 |
|
usually ships 1-5 days |
003 |
999-0275
|
Screw 1/4-20 x 3/4 hex washer hd unslotted thread rolling |
$0.99
|
2 |
|
ships same day |
004 |
999-0763
|
Nut 5/16-24 hex jam plain finish |
$0.99
|
4 |
|
ships same day |
005 |
170-1493
|
Vacuum shoe adjustment rod |
$11.75
|
1 |
|
usually ships 1-5 days |
007 |
999-0006
|
Washer 3/16 flat zinc plated |
$0.99
|
2 |
|
ships same day |
008 |
170-1376
|
Ball joint mount |
$36.85
|
1 |
|
usually ships 1-5 days |
009 |
999-0211
|
Nut 5/16-18 hex nylon insert lock zinc plated |
$0.99
|
2 |
|
ships same day |
011 |
170-6110
|
Spray nozzle housing (OBSOLETE) |
$26.26
|
4 |
|
usually ships 13-18 days |
012 |
170-1494
|
Brass tip nozzle |
$27.78
|
4 |
|
usually ships 13-18 days |
013a |
170-6111
|
Cap with seal assembly |
$9.70
|
4 |
|
usually ships 13-18 days |
013b |
170-6112
|
Spray gasket |
$29.55
|
1 |
|
usually ships 13-18 days |
014 |
170-1374
|
Vacuum shoe weldment (OBSOLETE) |
$502.25
|
1 |
|
usually ships 1-5 days |
015 |
170-1372
|
Vacuum shoe spray bar |
$84.28
|
2 |
|
usually ships 1-5 days |
016 |
170-1373
|
Vacuum shoe weight (OBSOLETE) |
$34.45
|
2 |
|
usually ships 1-5 days |
017 |
999-0814
|
Screw 5/16-18 x 1 1/2 pan head phillips zinc plated |
$0.99
|
2 |
|
ships same day |
018 |
170-1297
|
3/8 elbow (OBSOLETE) |
$9.13
|
1 |
|
usually ships 13-18 days |
019 |
170-1495
|
Bracket (OBSOLETE) |
$12.35
|
1 |
|
usually ships 1-5 days |
020 |
999-0016
|
Washer 1/4 flat plain finish |
$0.99
|
2 |
|
ships same day |
021 |
170-1496
|
Ball joint |
$57.59
|
3 |
|
usually ships 1-5 days |
023 |
999-0006
|
Washer 3/16 flat zinc plated |
$0.99
|
2 |
|
ships same day |
024 |
999-0267
|
Screw 10-24 x 1/2 pan head phillips zinc |
$0.99
|
4 |
|
ships same day |
025 |
170-8938
|
Hose (OBSOLETE) |
$8.32
|
1 |
|
usually ships 1-5 days |
026 |
997-2001
|
Hose clamp |
$2.42
|
1 |
|
ships same day |
027 |
170-6112
|
Spray gasket |
$29.55
|
4 |
|
usually ships 13-18 days |
028 |
170-0117
|
Spacer |
$27.93
|
2 |
|
usually ships 1-5 days |
029 |
999-9114
|
Washer 3/4 flat stainless steel |
$1.58
|
2 |
|
ships same day |
030 |
170-1497
|
Screw (OBSOLETE) |
Call for price
|
1 |
|
usually ships 1-5 days |
031 |
999-0028
|
Washer 5/16 split lock plain finish |
$0.99
|
3 |
|
ships same day |
032 |
999-0763
|
Nut 5/16-24 hex jam plain finish |
$0.99
|
1 |
|
ships same day |