| # | Part | Description | Price | Req | Notes | Availability | 
|---|
          
            
            
                
                  
                  
                  
				       
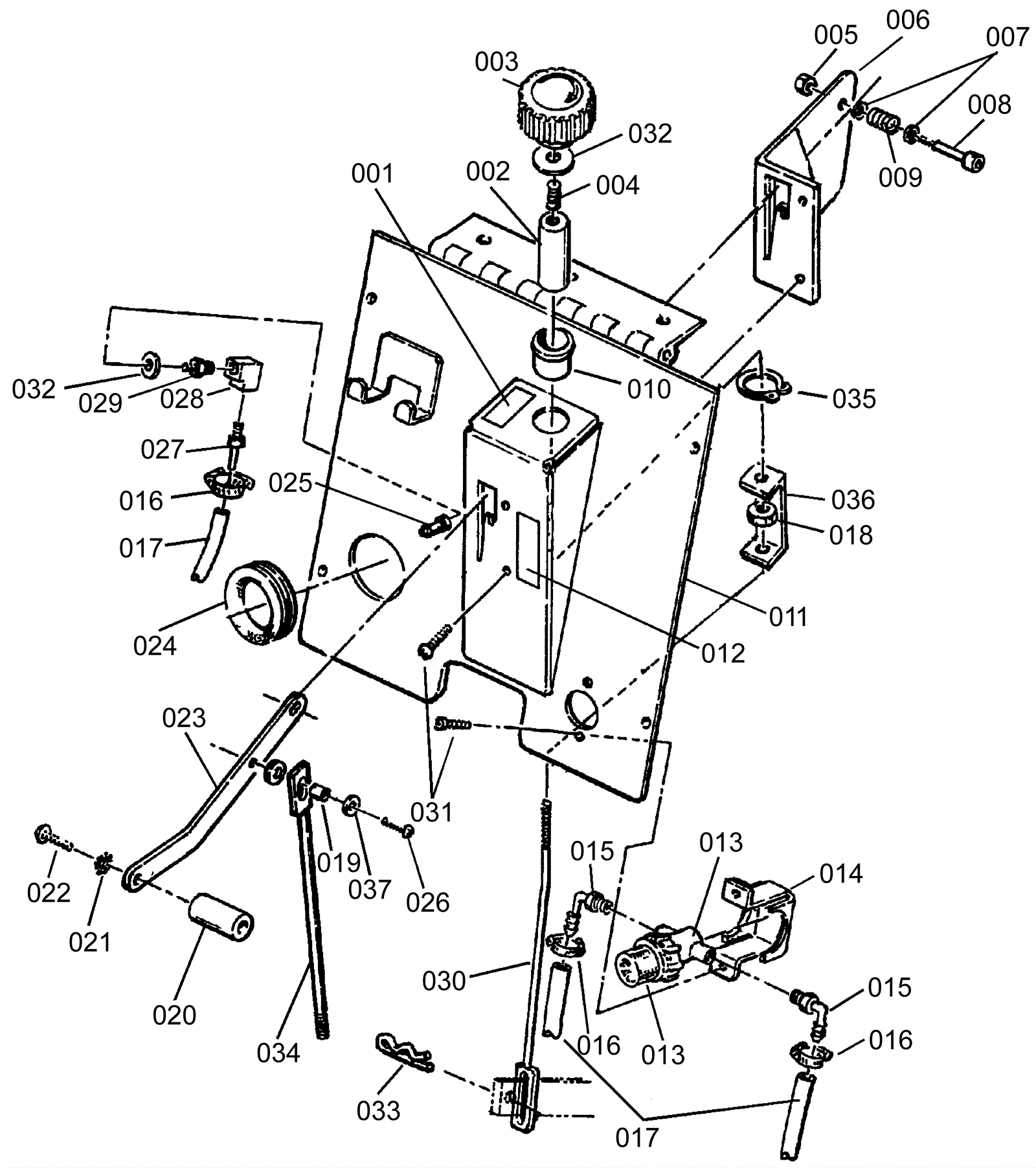
				      001 | N/A | Not available | Call for price | 1 | (Brush decal) | usually ships 3-26 days | 002 | 170-1344 | Brush height control | $68.20 | 1 |  | usually ships 1-5 days | 003 | 170-1345 | Brush pressure knob (OBSOLETE) | $13.34 | 1 |  | usually ships 1-5 days | 004 | 999-0594 | Screw 3/8-16 x 1 socket head alloy plain finish | $1.14 | 1 |  | ships same day | 005 | 999-0152 | Nut 1/4-20 nylon insert lock zinc plated | $0.99 | 1 |  | ships same day | 006 | 170-1481 | Wear plate (OBSOLETE) | $44.55 | 1 |  | usually ships 1-5 days | 007 | 999-0024 | Washer 5/16 flat stainless steel | $1.34 | 2 |  | ships same day | 008 | 999-0813 | Bolt 5/16-18 x 1 x 1/4-20 socket head shoulder | $8.69 | 1 |  | ships same day | 009 | 170-0113 | Spring (OBSOLETE) | $10.56 | 1 |  | usually ships 13-18 days | 010 | 170-1343 | Bushing (OBSOLETE) | $9.47 | 1 |  | usually ships 1-5 days | 011 | 170-1482 | Rear cover (OBSOLETE) | $163.35 | 1 |  | usually ships 1-5 days | 012 | N/A | Not available | Call for price | 1 | (Recovery tool decal) | usually ships 3-26 days | 013a | 170-6059 | Bowl strainer | $80.75 | 1 | (includes 013b, 013c and 013d) | usually ships 13-18 days | 013b | 170-6062 | Clear filter bowl | $16.50 | 1 | (OEM) | ships same day | 013c | 991-8575 | Short bowl (clear) | $14.50 | 1 | (NON-OEM) | usually ships 18-24 days | 013d | 170-6061 | Viton gasket | $12.89 | 1 |  | usually ships 13-18 days | 013e | 170-6060 | Filter screen | $17.74 | 1 |  | usually ships 13-18 days | 014 | 170-1484 | Filter bracket (OBSOLETE) | $33.86 | 1 |  | usually ships 1-5 days | 015 | 170-1297 | 3/8 elbow (OBSOLETE) | $9.13 | 2 |  | usually ships 13-18 days | 016 | 997-2001 | Hose clamp | $2.42 | 3 |  | ships same day | 017 | 170-6050 | 24 inch solution hose | $8.80 | 3 |  | usually ships 1-5 days | 018 | 999-0211 | Nut 5/16-18 hex nylon insert lock zinc plated | $0.99 | 1 |  | ships same day | 019 | 170-0117 | Spacer | $27.93 | 1 |  | usually ships 1-5 days | 020 | 170-0110 | Squeegee lift handle | $34.23 | 1 |  | usually ships 13-18 days | 021 | 999-0034 | Washer 3/8 split lock plain finish | $1.82 | 1 |  | ships same day | 022 | 999-0587 | Screw 3/8-16 x 5/8 round head slotted zinc | $0.99 | 1 |  | ships same day | 023 | 170-1356 | Recovery tool lift handle (OBSOLETE) | $46.86 | 1 |  | usually ships 1-5 days | 024 | N/A | Not available | Call for price | 1 | (Frame trim) | usually ships 3-26 days | 025a | 991-8149 | 1/8 inch male quick disconnect | $10.00 | 1 |  | ships same day | 025b | 991-8157 | 1/8 inch female quick disconnect socket | $22.20 | 1 |  | ships same day | 026 | 999-0273 | Screw 1/4-20 x 1/2 hex washer head thread rolling zinc | $0.99 | 1 |  | ships same day | 027 | 170-1350 | Hose barb 3/8 x 1/4 inch | $9.27 | 1 |  | usually ships 13-18 days | 028 | 160-0054 | 45 degree elbow fitting | $12.89 | 1 |  | usually ships 13-18 days | 029 | 170-6055 | Reducer | $22.61 | 1 |  | usually ships 1-5 days | 030 | 170-1485 | Brush lift (OBSOLETE) | $43.57 | 1 |  | usually ships 1-5 days | 031 | 999-0081 | Screw 1/4-20 x 5/8 pan head slotted zinc | $0.99 | 4 |  | ships same day | 032 | 999-0032 | Washer 3/8 USS flat plain finish | $2.42 | 3 |  | ships same day | 033 | 170-0135 | Cotter pin (OBSOLETE) | $11.99 | 1 |  | usually ships 13-18 days | 034 | 170-1355 | Vacuum shoe lift (OBSOLETE) | $49.16 | 1 |  | usually ships 13-18 days | 035 | 170-1359 | Snap ring (OBSOLETE) | $7.70 | 1 |  | usually ships 1-5 days | 036 | 170-1486 | Retaining bracket (OBSOLETE) | $29.11 | 1 |  | usually ships 1-5 days | 037 | 999-9114 | Washer 3/4 flat stainless steel | $1.58 | 1 |  | ships same day |