# | Part | Description | Price | Req | Notes | Availability |
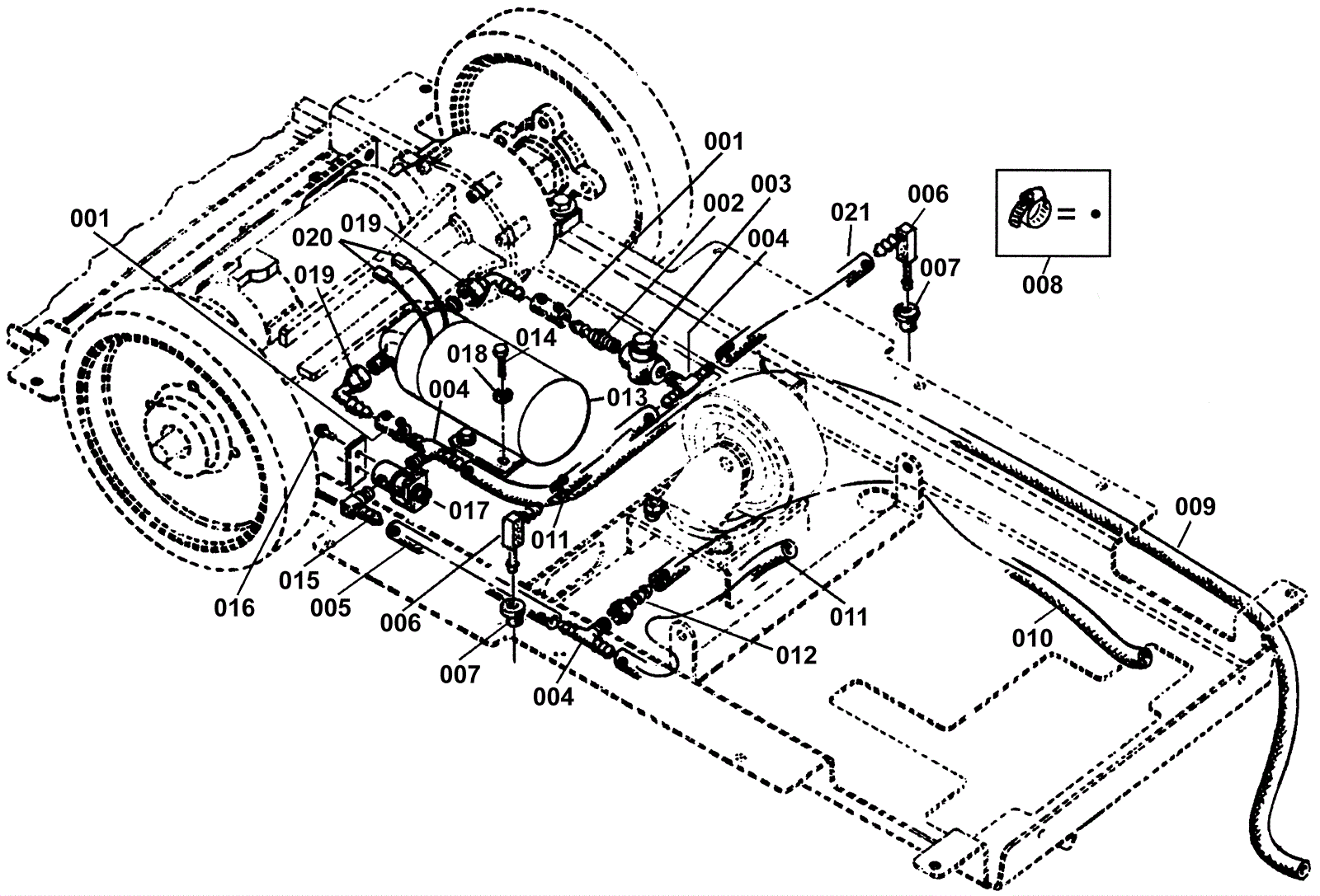
001 |
170-1380
|
Hose 3/8 x 2 1/2 inches (OBSOLETE) |
$7.01
|
2 |
|
usually ships 1-5 days |
002 |
170-6058
|
Nylon hosebarb |
$13.76
|
1 |
|
usually ships 13-18 days |
003a |
170-6059
|
Bowl strainer |
$77.12
|
1 |
|
usually ships 13-18 days |
003b |
170-6062
|
Clear filter bowl |
$16.50
|
1 |
(OEM) |
usually ships 1-5 days |
003c |
991-8575
|
Short bowl (clear) |
$14.50
|
1 |
(NON-OEM) |
usually ships 18-24 days |
003d |
170-6061
|
Viton gasket |
$12.31
|
1 |
|
usually ships 13-18 days |
003e |
170-6060
|
Filter screen |
$16.95
|
1 |
|
usually ships 13-18 days |
004 |
170-6066
|
Tee (OBSOLETE) |
$16.50
|
3 |
|
usually ships 13-18 days |
005 |
170-1381
|
Hose 3/8 x 3 1/2 inches (OBSOLETE) |
$3.00
|
1 |
|
usually ships 1-5 days |
006 |
170-6089
|
90 degree hosebarb |
$15.48
|
2 |
|
ships same day |
007 |
170-6085
|
Bushing (OBSOLETE) |
$31.10
|
2 |
|
usually ships 13-18 days |
008 |
997-2001
|
Hose clamp |
$2.42
|
16 |
|
ships same day |
009 |
170-1383
|
Hose 3/8 x 36 inch (OBSOLETE) |
$13.75
|
1 |
|
usually ships 1-5 days |
010 |
170-6050
|
24 inch solution hose |
$8.80
|
1 |
|
usually ships 1-5 days |
011 |
170-6064
|
14 inch solution hose |
$9.13
|
2 |
|
usually ships 1-5 days |
012 |
170-1350
|
Hose barb 3/8 x 1/4 inch |
$9.27
|
1 |
|
usually ships 13-18 days |
013 |
170-1384
|
Pump |
$504.90
|
1 |
|
usually ships 1-5 days |
014 |
999-0389
|
Screw 10-32 x 1 round head slotted zinc plated |
$0.99
|
4 |
|
ships same day |
015 |
170-6093
|
1/4 elbow (OBSOLETE) |
$17.90
|
2 |
|
usually ships 13-18 days |
016 |
999-0462
|
Screw 8-32 x 1/2 pan head slotted zinc plated |
$0.99
|
2 |
|
ships same day |
017 |
170-1385
|
Solenoid valve (OBSOLETE) |
$242.00
|
1 |
|
usually ships 13-18 days |
018 |
999-0006
|
Washer 3/16 flat zinc plated |
$0.99
|
4 |
|
ships same day |
019 |
170-6063
|
Swivel elbow |
$18.41
|
2 |
|
usually ships 13-18 days |
020 |
170-6081
|
1/4 terminal |
$3.28
|
2 |
|
usually ships 1-5 days |
021 |
170-6144
|
Discharge Hose |
$9.13
|
1 |
|
usually ships 1-5 days |