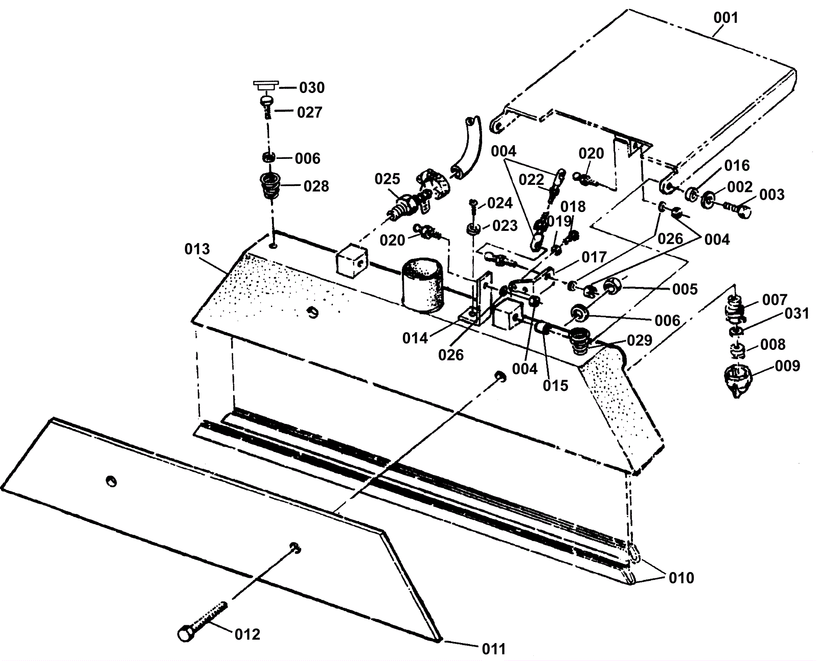
| # | Part | Description | Price | Req | Notes | Availability | 
|---|
          
            
            
                
                  
                  
                  
				       
				      001 | 170-1370 | Recovery lift (OBSOLETE) | $155.98 | 1 |  | usually ships 1-5 days | 002 | 999-0016 | Washer 1/4 flat plain finish | $0.99 | 2 |  | ships same day | 003 | 999-0020 | Bolt 1/4-20 x 3/4 hex head grade 5 zinc plated | $0.99 | 2 |  | ships same day | 004 | 999-0763 | Nut 5/16-24 hex jam plain finish | $0.99 | 5 |  | ships same day | 005 | 999-0211 | Nut 5/16-18 hex nylon insert lock zinc plated | $0.99 | 2 |  | ships same day | 006 | 999-0549 | Washer 5/16 x 3/4 SAE flat stainless steel | $0.99 | 4 |  | ships same day | 007 | 170-6110 | Spray nozzle housing (OBSOLETE) | $26.26 | 4 |  | usually ships 13-18 days | 008 | 170-1371 | Brass tip nozzle (OBSOLETE) | $12.60 | 4 |  | usually ships 1-5 days | 009 | 170-6111 | Cap with seal assembly | $9.70 | 4 |  | usually ships 13-18 days | 010 | 170-1372 | Vacuum shoe spray bar | $84.28 | 2 |  | usually ships 1-5 days | 011 | 170-1373 | Vacuum shoe weight (OBSOLETE) | $34.45 | 1 |  | usually ships 1-5 days | 012 | 999-0814 | Screw 5/16-18 x 1 1/2 pan head phillips zinc plated | $0.99 | 2 |  | ships same day | 013 | 170-1374 | Vacuum shoe weldment (OBSOLETE) | $502.25 | 1 |  | usually ships 1-5 days | 014 | 170-1375 | Recovery lift bracket (OBSOLETE) | $24.95 | 1 |  | usually ships 1-5 days | 015 | 170-0117 | Spacer | $27.93 | 2 |  | usually ships 1-5 days | 016 | 999-9114 | Washer 3/4 flat stainless steel | $1.58 | 2 |  | ships same day | 017 | 170-1376 | Ball joint mount | $36.85 | 1 |  | usually ships 1-5 days | 018 | 999-0267 | Screw 10-24 x 1/2 pan head phillips zinc | $0.99 | 2 |  | ships same day | 019 | 999-0006 | Washer 3/16 flat zinc plated | $0.99 | 2 |  | ships same day | 020 | 170-0285 | Solution tank for 26I (OBSOLETE) | $793.82 | 3 |  | usually ships 1-5 days | 022 | 999-0798 | Bolt 1/4-20 x 1/2 flange grade 8.2 zinc plated | $0.99 | 1 |  | ships same day | 023 | 999-0659 | Washer 3/8 medium split lock stainless steel | $0.39 | 1 |  | ships same day | 024 | 170-5576 | Screw 1/4-20 x 3/4 socket cap | $1.21 | 1 |  | usually ships 6-8 days | 025 | 170-6051 | Hosebarb (OBSOLETE) | $8.25 | 1 |  | usually ships 13-18 days | 026 | 999-0028 | Washer 5/16 split lock plain finish | $0.99 | 3 |  | ships same day | 027 | 999-0081 | Screw 1/4-20 x 5/8 pan head slotted zinc | $0.99 | 2 |  | ships same day | 028 | 170-1377 | Spring (OBSOLETE) | $11.29 | 1 |  | usually ships 1-5 days | 029 | 170-1378 | Spring | $22.41 | 1 |  | usually ships 1-5 days | 030 | 170-1379 | Bushing (OBSOLETE) | $35.19 | 2 |  | usually ships 13-18 days | 031 | N/A | Not available | Call for price | 4 | (not available) Nozzle gasket | usually ships 3-26 days |