| # | Part | Description | Price | Req | Notes | Availability |
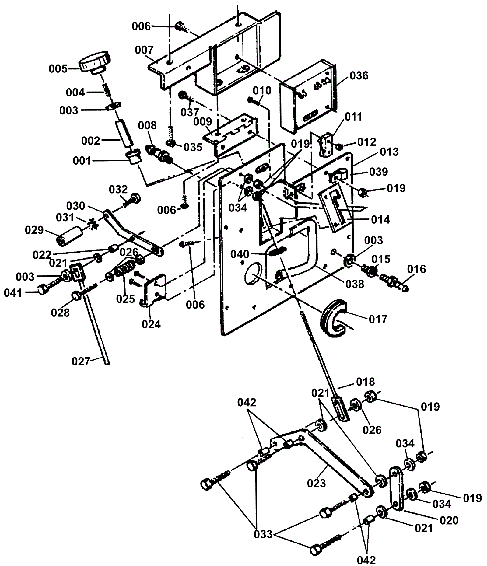
001 |
170-1343
|
Bushing (OBSOLETE) |
$9.47
|
1 |
|
usually ships 1-5 days |
002 |
170-1344
|
Brush height control |
$68.20
|
1 |
|
usually ships 1-5 days |
003 |
999-0032
|
Washer 3/8 USS flat plain finish |
$2.42
|
3 |
|
ships same day |
004 |
999-0594
|
Screw 3/8-16 x 1 socket head alloy plain finish |
$1.14
|
1 |
|
ships same day |
005 |
170-1345
|
Brush pressure knob (OBSOLETE) |
$13.34
|
1 |
|
usually ships 1-5 days |
006 |
999-0081
|
Screw 1/4-20 x 5/8 pan head slotted zinc |
$0.99
|
16 |
|
ships same day |
007 |
170-1346
|
Top rear panel (OBSOLETE) |
$119.68
|
1 |
|
usually ships 1-5 days |
008 |
991-8149
|
1/8 inch male quick disconnect |
$10.00
|
1 |
Need 991-8157 to mate |
ships same day |
009 |
170-1347
|
Rear panel hinge (OBSOLETE) |
$34.98
|
1 |
|
usually ships 1-5 days |
010 |
999-0511
|
Screw 6-32 x 1 pan head phillips zinc plated |
$0.99
|
2 |
|
ships same day |
011 |
170-0191
|
Snap switch |
$66.03
|
1 |
|
ships same day |
012 |
999-0227
|
Nut 6-32 hex nylon insert lock jam zinc plated |
$0.99
|
2 |
|
ships same day |
013 |
170-1348
|
Rear panel (OBSOLETE) |
$245.19
|
1 |
|
usually ships 1-5 days |
014 |
170-1349
|
Wear plate (OBSOLETE) |
$54.89
|
1 |
|
usually ships 1-5 days |
015 |
170-6055
|
Reducer |
$22.61
|
1 |
|
usually ships 1-5 days |
016 |
170-1350
|
Hose barb 3/8 x 1/4 inch |
$9.27
|
1 |
|
usually ships 13-18 days |
017 |
170-1351
|
Frame trim (OBSOLETE) |
Call for price
|
1 |
|
usually ships 1-5 days |
018 |
170-1352
|
Brush lift (OBSOLETE) |
$76.23
|
1 |
|
usually ships 1-5 days |
019 |
999-0152
|
Nut 1/4-20 nylon insert lock zinc plated |
$0.99
|
5 |
|
ships same day |
020 |
170-1353
|
Brush lift link (OBSOLETE) |
$38.72
|
1 |
|
usually ships 1-5 days |
021 |
999-9114
|
Washer 3/4 flat stainless steel |
$1.58
|
5 |
|
ships same day |
022 |
170-0117
|
Spacer |
$27.93
|
1 |
|
usually ships 1-5 days |
023 |
170-1354
|
Brush lift arm (OBSOLETE) |
$23.87
|
1 |
|
usually ships 1-5 days |
024 |
170-1115
|
Socket for hose (OBSOLETE) |
$14.94
|
1 |
|
usually ships 1-5 days |
025 |
170-0113
|
Spring (OBSOLETE) |
$10.56
|
1 |
|
usually ships 13-18 days |
026 |
999-0024
|
Washer 5/16 flat stainless steel |
$1.34
|
3 |
|
ships same day |
027 |
170-1355
|
Vacuum shoe lift (OBSOLETE) |
$49.16
|
1 |
|
usually ships 13-18 days |
028 |
999-0813
|
Bolt 5/16-18 x 1 x 1/4-20 socket head shoulder |
$8.69
|
1 |
|
ships same day |
029 |
170-0110
|
Squeegee lift handle |
$34.23
|
1 |
|
usually ships 13-18 days |
030 |
170-1356
|
Recovery tool lift handle (OBSOLETE) |
$46.86
|
1 |
|
usually ships 1-5 days |
031 |
999-0034
|
Washer 3/8 split lock plain finish |
$1.82
|
1 |
|
ships same day |
032 |
999-0587
|
Screw 3/8-16 x 5/8 round head slotted zinc |
$0.99
|
1 |
|
ships same day |
033 |
999-0020
|
Bolt 1/4-20 x 3/4 hex head grade 5 zinc plated |
$0.99
|
3 |
|
ships same day |
034 |
999-0335
|
Washer 1/4 x 5/8 SAE flat stainless steel |
$0.99
|
4 |
|
ships same day |
035 |
999-0076
|
Bolt 1/2-20 x 1 hex head grade 5 plain finish |
$1.76
|
2 |
|
ships same day |
036 |
170-1357
|
Motor control (OBSOLETE) |
$1,111.33
|
1 |
|
usually ships 1-5 days |
037 |
999-0398
|
Screw 1/4-20 x 1 1/2 pan head phillips zinc plated |
$0.99
|
1 |
|
ships same day |
038 |
170-1358
|
Frame trim (OBSOLETE) |
$6.78
|
1 |
|
usually ships 1-5 days |
039 |
170-7071
|
Metal clamp |
$10.52
|
1 |
|
usually ships 1-5 days |
040 |
170-1359
|
Snap ring (OBSOLETE) |
$7.70
|
1 |
|
usually ships 1-5 days |
041 |
999-0273
|
Screw 1/4-20 x 1/2 hex washer head thread rolling zinc |
$0.99
|
1 |
|
ships same day |
042 |
170-1360
|
Spacer (OBSOLETE) |
$6.78
|
4 |
|
usually ships 1-5 days |
N/S |
170-6206
|
Swivel fitting |
$32.60
|
|
|
usually ships 1-5 days |