| # | Part | Description | Price | Req | Notes | Availability |
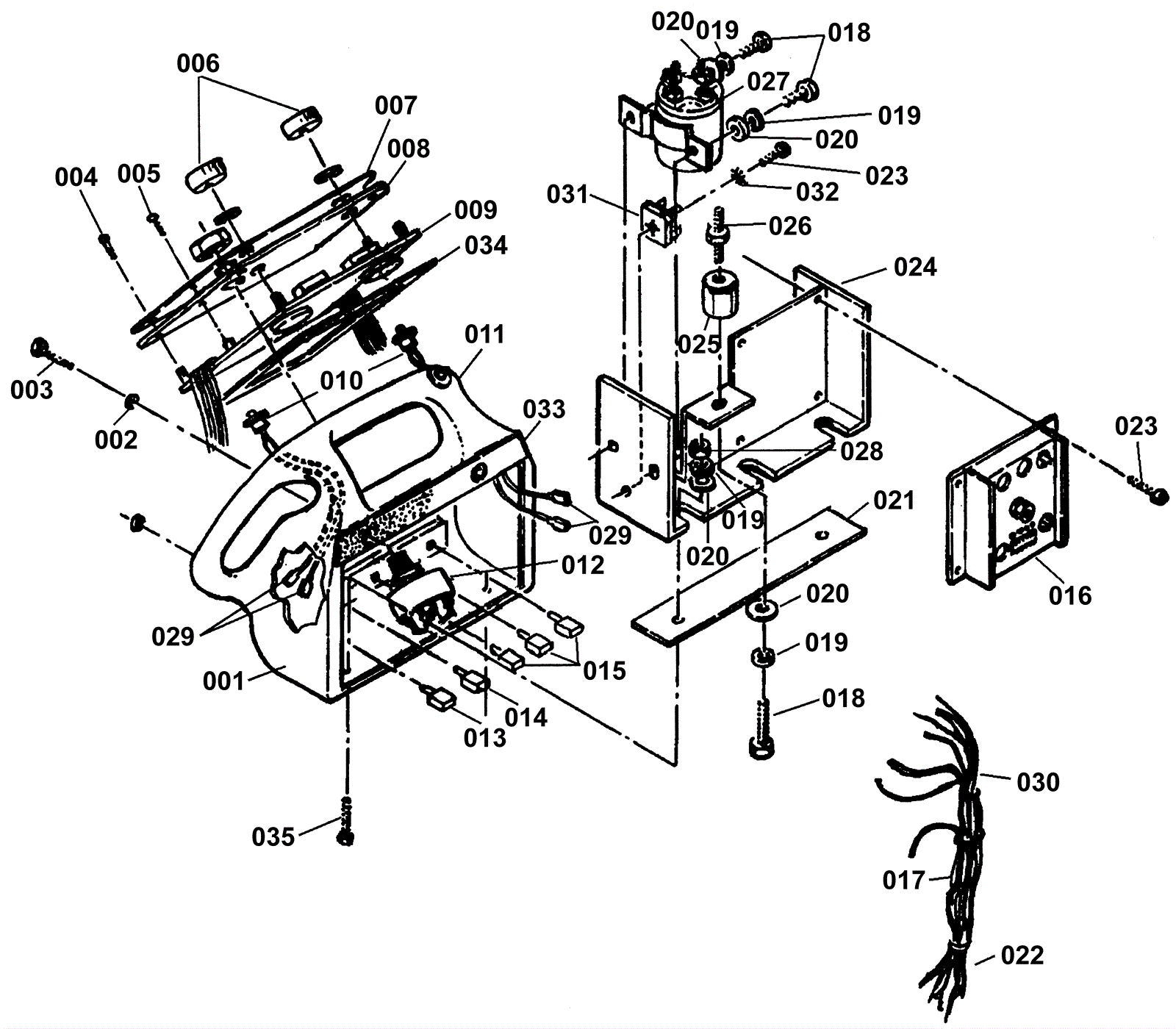
001 |
170-1327
|
Handle (OBSOLETE) |
$234.07
|
1 |
|
usually ships 1-5 days |
002 |
999-0032
|
Washer 3/8 USS flat plain finish |
$2.42
|
2 |
|
ships same day |
003 |
999-0107
|
Bolt 3/8-16 x 2 hex head grade 5 zinc plated |
$1.19
|
2 |
|
ships same day |
004 |
999-0267
|
Screw 10-24 x 1/2 pan head phillips zinc |
$0.99
|
4 |
|
ships same day |
005 |
999-0463
|
Screw 6-32 x 3/8 pan head slotted zinc plated |
$0.99
|
4 |
|
ships same day |
006 |
170-8261
|
Knob solution flow module (OBSOLETE) |
$34.66
|
2 |
|
usually ships 13-18 days |
007 |
170-1328
|
Control panel label |
$34.23
|
1 |
|
usually ships 1-5 days |
008 |
170-1329
|
Control panel (OBSOLETE) |
$34.32
|
1 |
|
usually ships 1-5 days |
009 |
170-1330
|
Control module (OBSOLETE) |
$641.98
|
1 |
|
usually ships 1-5 days |
010 |
170-1331
|
Forward switch |
$93.17
|
2 |
|
usually ships 13-18 days |
011 |
170-1332
|
Reverse switch |
$149.81
|
1 |
|
usually ships 13-18 days |
012 |
170-0053
|
Key switch with 2 keys |
$101.65
|
1 |
|
usually ships 13-18 days |
013 |
991-1627
|
5amp circuit breaker |
$54.79
|
1 |
Pump |
usually ships 12-15 days |
014 |
170-1333
|
7 amp circuit breaker (OBSOLETE) |
$14.63
|
1 |
Brush motor |
usually ships 1-5 days |
015 |
991-1632
|
25amp circuit breaker |
$10.55
|
3 |
Vacuum motor |
ships same day |
016 |
170-1334
|
Quad control motor (OBSOLETE) |
$689.22
|
1 |
|
usually ships 1-5 days |
017 |
170-1335
|
Wiring harness (OBSOLETE) |
$164.03
|
1 |
main harness |
usually ships 1-5 days |
018 |
999-0273
|
Screw 1/4-20 x 1/2 hex washer head thread rolling zinc |
$0.99
|
3 |
|
ships same day |
019 |
999-0060
|
Washer 1/4 split lock plain finish |
$0.99
|
3 |
|
ships same day |
020 |
999-0016
|
Washer 1/4 flat plain finish |
$0.99
|
3 |
|
ships same day |
021 |
170-1336
|
Retaining plate (OBSOLETE) |
$33.22
|
1 |
|
usually ships 1-5 days |
022 |
170-1337
|
Wire harness (OBSOLETE) |
$82.25
|
1 |
for the quad module |
usually ships 1-5 days |
023 |
999-0723
|
Screw 10-32 x 1/2 pan head slotted stainless steel |
$0.99
|
5 |
|
ships same day |
024 |
N/A
|
Not available |
Call for price
|
1 |
(Not Available) Control handle weldment |
usually ships 3-26 days |
025 |
170-0063
|
Insulated stand off |
$11.75
|
1 |
|
usually ships 1-5 days |
026 |
170-0064
|
Stud 1/4-20 |
$12.89
|
1 |
|
usually ships 1-5 days |
027 |
172-2805
|
36V contactor |
$104.81
|
1 |
|
ships same day |
028 |
999-0190
|
Nut 1/4-20 hex plain finish |
$0.99
|
2 |
|
ships same day |
029 |
170-6081
|
1/4 terminal |
$3.28
|
6 |
|
usually ships 1-5 days |
031 |
170-0340
|
Endshield motor adapter (OBSOLETE) |
$176.54
|
1 |
|
usually ships 1-5 days |
032 |
170-7004
|
Pressure tube |
$68.62
|
1 |
|
usually ships 13-18 days |
033 |
170-0341
|
Housing cover (OBSOLETE) |
$75.85
|
1 |
|
usually ships 1-5 days |
034 |
170-0342
|
Ball bearing |
$57.29
|
1 |
|
usually ships 12-15 days |
035 |
999-0076
|
Bolt 1/2-20 x 1 hex head grade 5 plain finish |
$1.76
|
2 |
|
ships same day |