| # | Part | Description | Price | Req | Notes | Availability |
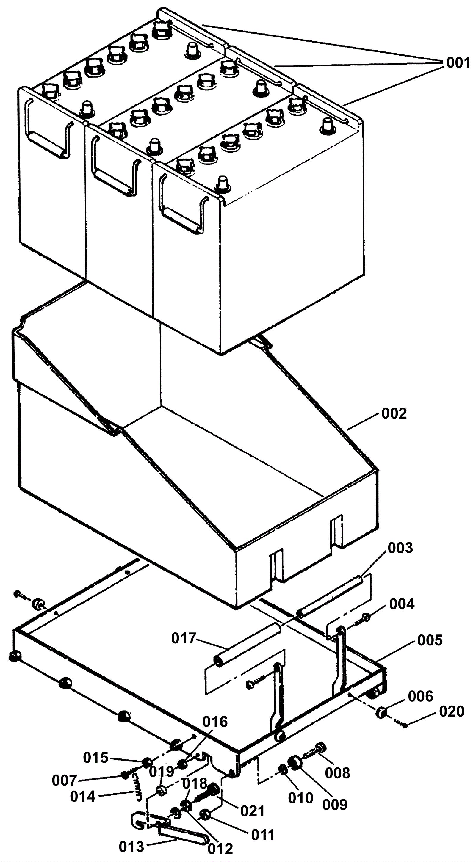
001 |
162-0002
|
12V 185Ah wet battery (SNSR) |
$511.50
|
3 |
|
ships same day |
001 |
162-0047
|
12V 215Ah AGM battery (Group J185) (SNSR) |
$907.50
|
3 |
|
usually ships 27-29 days |
002 |
170-1287
|
Battery box (OBSOLETE) |
$210.00
|
1 |
|
usually ships 1-5 days |
003 |
170-1288
|
Handle grip (OBSOLETE) |
$40.04
|
1 |
|
usually ships 1-5 days |
004 |
999-0081
|
Screw 1/4-20 x 5/8 pan head slotted zinc |
$0.99
|
2 |
|
ships same day |
005 |
170-1289
|
Battery tray (OBSOLETE) |
$199.43
|
1 |
|
usually ships 1-5 days |
006 |
170-1290
|
Bumper |
$12.89
|
4 |
|
usually ships 1-5 days |
007 |
999-0723
|
Screw 10-32 x 1/2 pan head slotted stainless steel |
$0.99
|
1 |
|
ships same day |
008 |
999-0810
|
Screw 5/16-18 x 3/4 flat head slotted stainless steel |
$1.56
|
10 |
|
ships same day |
009 |
170-0362
|
Radial ball bearing |
$25.41
|
10 |
|
usually ships 12-15 days |
010 |
999-0549
|
Washer 5/16 x 3/4 SAE flat stainless steel |
$0.99
|
10 |
|
ships same day |
011 |
999-0430
|
Nut 5/16-18 hex jam plain finish |
$0.99
|
10 |
|
ships same day |
012 |
170-0117
|
Spacer |
$27.93
|
1 |
|
usually ships 1-5 days |
013 |
170-1291
|
Battery tray arm (OBSOLETE) |
$35.05
|
1 |
|
usually ships 1-5 days |
014 |
170-1292
|
Spring (OBSOLETE) |
$30.89
|
|
|
usually ships 1-5 days |
015 |
999-0460
|
Nut 10-32 hex |
$0.99
|
1 |
|
ships same day |
016 |
999-0152
|
Nut 1/4-20 nylon insert lock zinc plated |
$0.99
|
1 |
|
ships same day |
017 |
154-0037
|
Tubing 1/2 x 5/8 (clear) (sold by the foot) |
$2.33
|
1 |
|
usually ships 3-15 days |
018 |
999-0032
|
Washer 3/8 USS flat plain finish |
$2.42
|
1 |
|
ships same day |
019 |
999-9114
|
Washer 3/4 flat stainless steel |
$1.58
|
1 |
|
ships same day |
020 |
999-0811
|
Screw 10-32 x 3/8 pan head phillips stainless steel |
$0.99
|
4 |
|
ships same day |
021a |
999-0020
|
Bolt 1/4-20 x 3/4 hex head grade 5 zinc plated |
$0.99
|
1 |
|
ships same day |
021b |
998-0010
|
Battery jumper cable - ring type (red) |
$6.06
|
2 |
(For use with top, bolt type post batteries) |
ships same day |
021c |
170-1294
|
Battery cable assembly (OBSOLETE) |
$74.84
|
1 |
|
usually ships 1-5 days |
021d |
162-5062
|
36V 20amp battery charger with small SB50 gray plug |
$715.51
|
1 |
|
usually ships 7-8 days |
021e |
991-6025
|
Wire 4 x14.5, 3/8 ring x 3/8 ring |
$16.98
|
2 |
(NON-OEM) |
usually ships 18-24 days |
N/S |
162-9024
|
36V 12amp battery charger with small SB50 gray plug |
$668.48
|
|
|
ships same day |