| # | Part | Description | Price | Req | Notes | Availability |
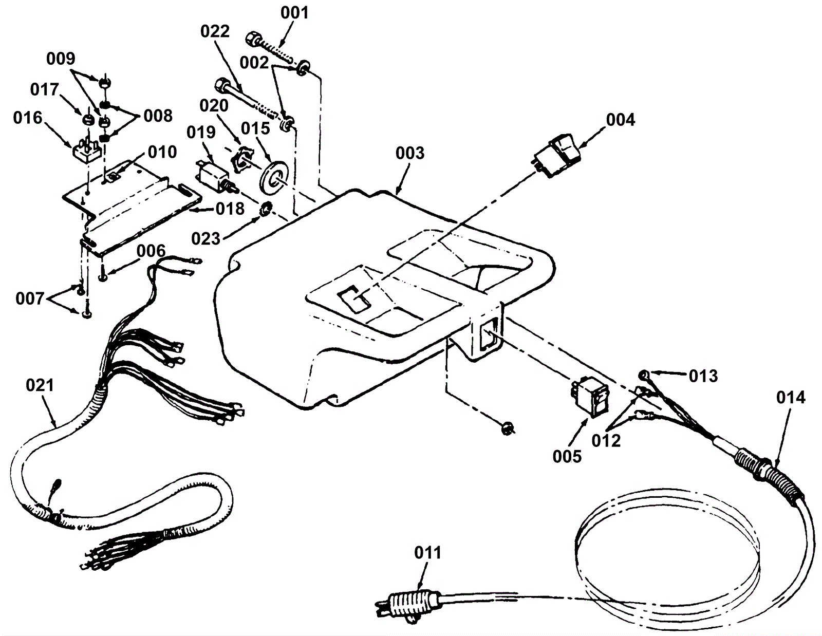
001 |
999-0109
|
Bolt 5/16-18 x 1 1/2 hex head grade 5 zinc plated |
$0.99
|
2 |
|
ships same day |
002 |
999-0549
|
Washer 5/16 x 3/4 SAE flat stainless steel |
$0.99
|
4 |
|
ships same day |
003 |
170-6008
|
Control handle (OBSOLETE) |
$260.81
|
1 |
|
usually ships 1-5 days |
004 |
170-6009
|
Vacuum switch (OBSOLETE) |
$21.01
|
1 |
|
usually ships 13-18 days |
005 |
170-6001
|
Spray brush switch (OBSOLETE) |
$60.38
|
1 |
|
usually ships 13-18 days |
006 |
999-0413
|
Screw 10-32 x 1/2 pan head slotted zinc plated |
$2.20
|
2 |
|
ships same day |
007 |
999-0414
|
Screw 10-32 x 3/4 pan head slotted zinc plated |
$0.99
|
2 |
|
ships same day |
008 |
999-0311
|
Washer #10 external star lock zinc plated |
$0.99
|
2 |
|
ships same day |
009 |
999-0460
|
Nut 10-32 hex |
$0.99
|
2 |
|
ships same day |
010 |
170-6011
|
Ground symbol decal |
$3.87
|
1 |
|
usually ships 1-5 days |
011a |
170-6012
|
14/3 power cord 35 foot |
$204.60
|
1 |
(OEM) |
usually ships 13-18 days |
011b |
991-5005
|
14/3 replacement power cord 50 foot (yellow) |
$108.51
|
1 |
(NON-OEM) (does not include strain relief) |
ships same day |
011c |
991-5001
|
14/3 extension cord 50 foot (yellow) |
$103.23
|
1 |
(NON-OEM) |
ships same day |
012 |
170-6013
|
1/4 terminal |
$2.42
|
2 |
|
usually ships 1-5 days |
013 |
170-6014
|
Terminal clip |
$1.21
|
1 |
|
usually ships 12-15 days |
014 |
164-4502
|
Strain relief |
$17.38
|
1 |
|
usually ships 19-25 days |
015 |
999-0721
|
Washer 7/8 USS flat zinc plated |
$2.79
|
1 |
|
ships same day |
016 |
170-6016
|
Rectifier |
$70.94
|
1 |
|
usually ships 1-5 days |
017 |
999-0086
|
Nut 10-32 nylon insert lock zinc plated |
$0.99
|
1 |
|
ships same day |
018 |
170-6018
|
Electrical panel (OBSOLETE) |
$40.70
|
1 |
|
usually ships 1-5 days |
019 |
170-6019
|
1.25amp circuit breaker |
$44.99
|
1 |
|
usually ships 13-18 days |
020 |
170-0294
|
Nut 1/2 conduit lock |
$12.89
|
1 |
|
usually ships 13-18 days |
021 |
170-6021
|
Harness machine cord (OBSOLETE) |
$122.10
|
1 |
|
usually ships 1-5 days |
022 |
999-0283
|
Bolt 5/16-18 x 2 1/4 hex head grade 5 zinc plated |
$0.99
|
2 |
|
ships same day |
023 |
999-0318
|
Washer 3/8 external star lock zinc plated |
$0.99
|
1 |
|
ships same day |
N/S |
170-0080
|
Wire tie |
$12.89
|
1 |
|
usually ships 13-18 days |
N/S |
270-0933
|
35ft Power cord assembly |
$84.28
|
1 |
Cord assembly, includes items 011-014. |
usually ships 1-5 days |