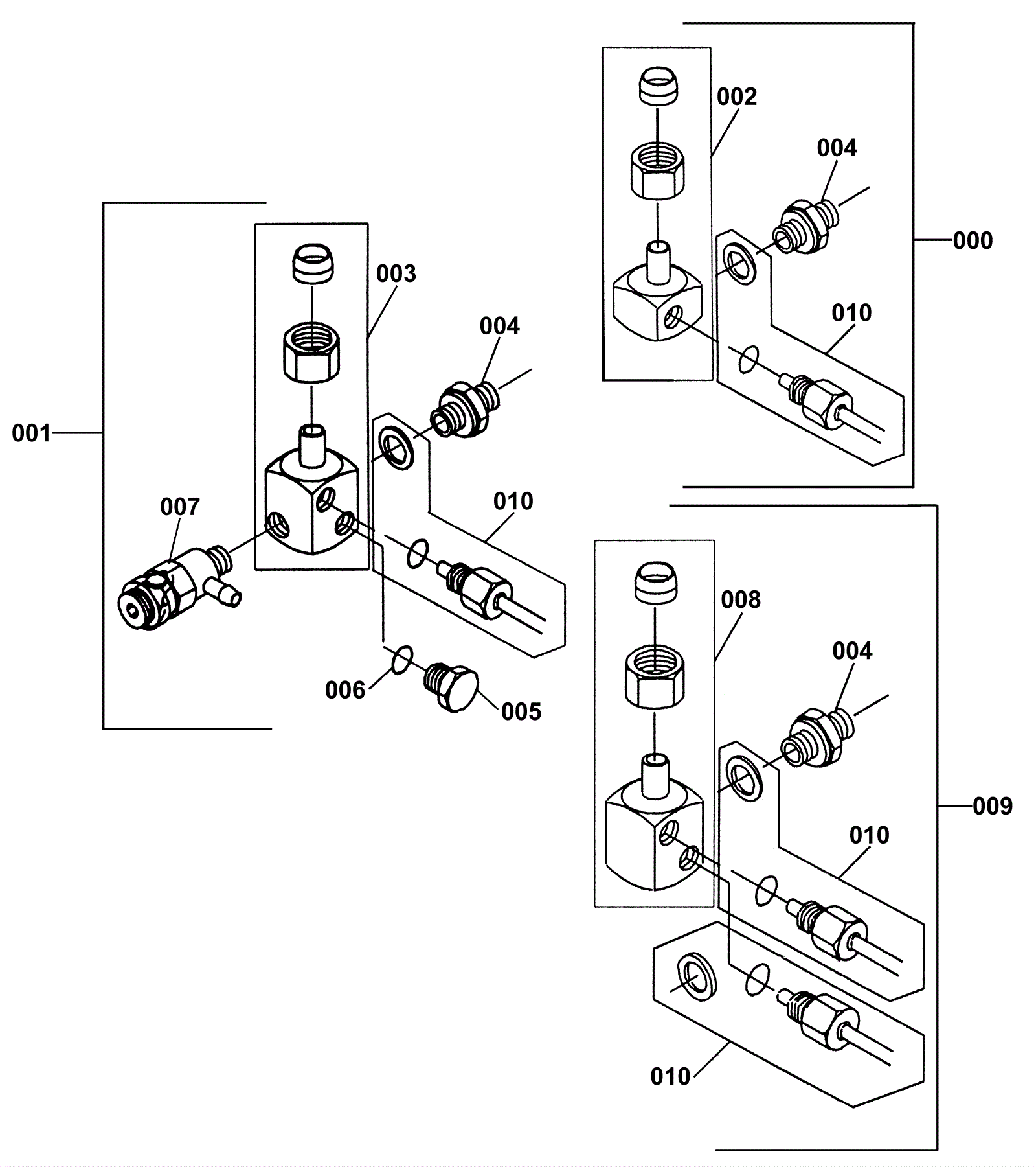
| # | Part | Description | Price | Req | Notes | Availability |
000 |
170-1147
|
Complete outlet for coil elbow |
$440.88
|
|
|
usually ships 1-5 days |
001 |
170-1151
|
Complete outlet for coil elbow (OBSOLETE) |
Call for price
|
|
|
usually ships 1-5 days |
002 |
170-1148
|
Outlet for coil elbow (OBSOLETE) |
$113.59
|
1 |
|
usually ships 1-5 days |
003 |
170-1152
|
Outlet for coil elbow (OBSOLETE) |
$47.76
|
1 |
|
usually ships 1-5 days |
004 |
170-1141
|
Screwed connection |
$29.72
|
1 |
|
usually ships 1-5 days |
005 |
170-1154
|
Plug (OBSOLETE) |
Call for price
|
1 |
|
usually ships 1-5 days |
006 |
170-1155
|
O-ring |
$13.38
|
1 |
|
usually ships 1-5 days |
007 |
170-1156
|
Safety valve (OBSOLETE) |
$124.39
|
1 |
|
usually ships 1-5 days |
008 |
170-1159
|
Outlet for coil elbow (OBSOLETE) |
$42.05
|
1 |
|
usually ships 1-5 days |
009 |
170-1158
|
Complete outlet for coil elbow (OBSOLETE) |
Call for price
|
|
|
usually ships 1-5 days |
010 |
170-1150
|
Outlet coil elbow kit |
$315.96
|
1 |
|
usually ships 1-5 days |