| # | Part | Description | Price | Req | Notes | Availability |
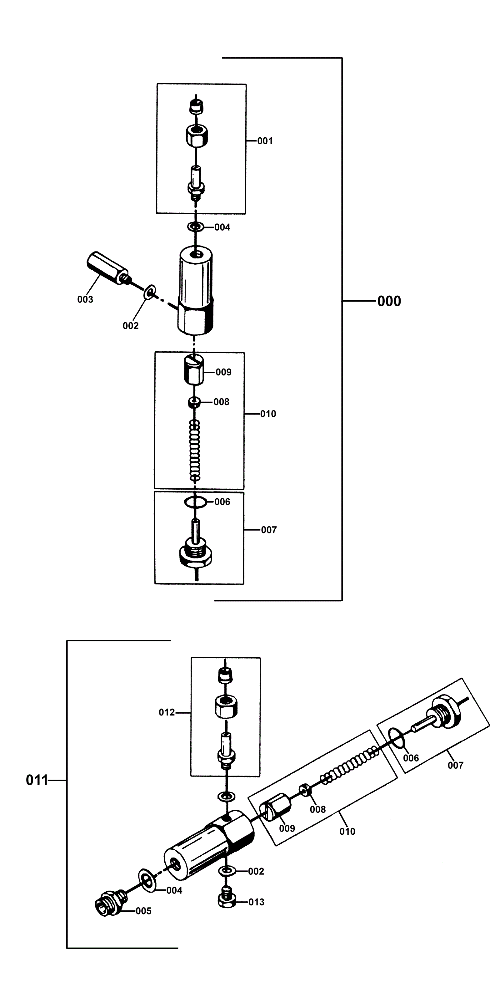
000 |
170-0930
|
Flow switch |
$683.36
|
|
|
usually ships 1-5 days |
001 |
170-0996
|
Screwed connection |
$75.57
|
1 |
|
usually ships 13-18 days |
002 |
170-1131
|
Sealing washer (OBSOLETE) |
$14.50
|
1 |
|
usually ships 13-18 days |
003 |
170-1132
|
Housing (OBSOLETE) |
$57.42
|
1 |
|
usually ships 13-18 days |
004 |
170-0995
|
Washer 3/8 sealing |
$17.81
|
1 |
|
usually ships 13-18 days |
005 |
170-1141
|
Screwed connection |
$29.72
|
1 |
|
usually ships 1-5 days |
006 |
170-1133
|
O-ring |
$13.21
|
1 |
|
usually ships 1-5 days |
007 |
170-1134
|
Reed switch with O-ring (OBSOLETE) |
$266.55
|
1 |
|
usually ships 1-5 days |
008 |
170-1135
|
Magnet |
$16.17
|
1 |
|
usually ships 1-5 days |
009 |
170-1136
|
Piston |
$66.88
|
1 |
|
usually ships 1-5 days |
010 |
170-1137
|
Flow switch |
$141.39
|
1 |
|
usually ships 1-5 days |
011 |
170-0931
|
Flow switch complete |
$477.62
|
|
|
usually ships 1-5 days |
012 |
170-1138
|
Screwed connection |
$68.21
|
1 |
|
usually ships 13-18 days |
013 |
170-1140
|
Drain plug |
$14.70
|
1 |
|
usually ships 1-5 days |