| # | Part | Description | Price | Req | Notes | Availability |
000 |
170-0928
|
Complete fan (OBSOLETE) |
$512.86
|
|
|
usually ships 1-5 days |
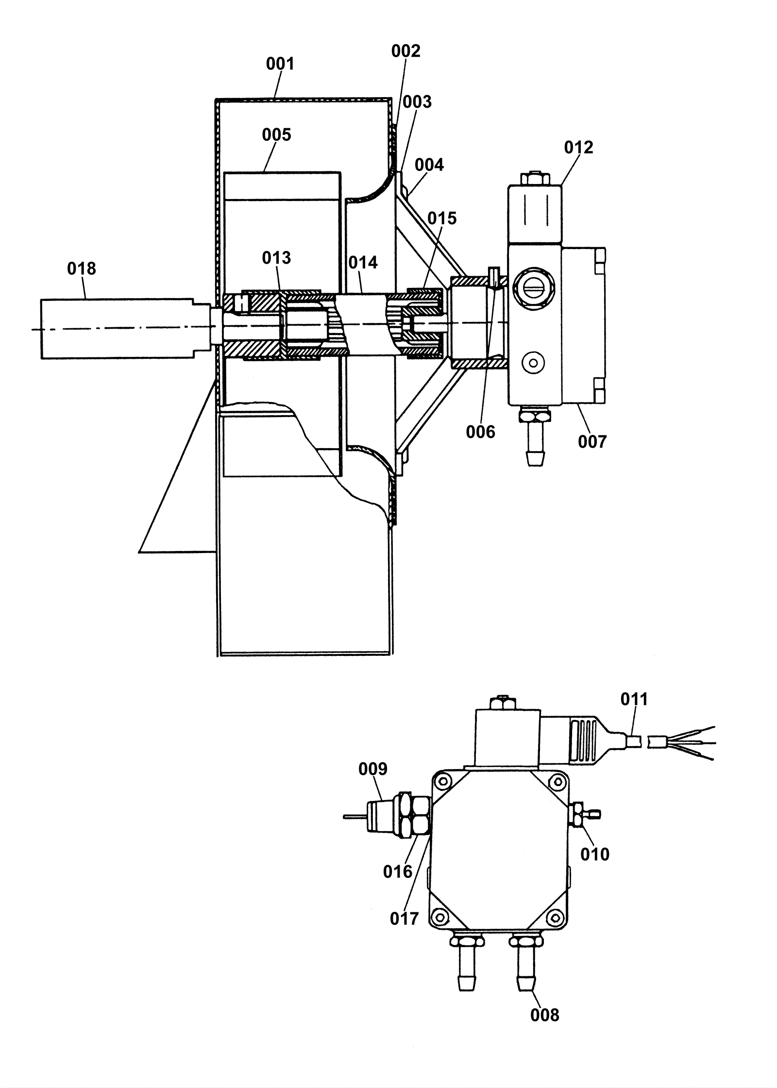
001 |
170-1109
|
Fan housing (OBSOLETE) |
$196.85
|
1 |
|
usually ships 1-5 days |
002 |
170-1110
|
Suction funnel (OBSOLETE) |
$28.39
|
1 |
|
usually ships 1-5 days |
003 |
170-1111
|
Bracket for fuel pump |
$145.49
|
1 |
|
usually ships 1-5 days |
004 |
170-0987
|
Screw 4mm X 12 tapetite |
$10.29
|
4 |
|
usually ships 1-5 days |
005 |
170-1112
|
Impeller |
$720.52
|
1 |
|
usually ships 13-18 days |
006 |
170-1113
|
Screw (OBSOLETE) |
$0.99
|
1 |
|
usually ships 1-5 days |
007 |
170-1114
|
Fuel pump with coil |
$578.39
|
1 |
|
usually ships 1-5 days |
008 |
170-1115
|
Socket for hose (OBSOLETE) |
$14.94
|
2 |
|
usually ships 1-5 days |
009 |
170-1116
|
Pressure switch (OBSOLETE) |
$29.46
|
1 |
|
usually ships 1-5 days |
010 |
170-1097
|
Screwed connection |
$14.06
|
1 |
|
usually ships 1-5 days |
011 |
170-1118
|
Lead (OBSOLETE) |
$45.02
|
1 |
|
usually ships 1-5 days |
012 |
170-1119
|
Coil with nut and washer |
$96.43
|
1 |
|
usually ships 13-18 days |
013 |
170-1122
|
Coupling |
$14.70
|
1 |
|
usually ships 1-5 days |
014 |
170-1123
|
Hose coupling (OBSOLETE) |
$7.48
|
1 |
|
usually ships 1-5 days |
015 |
170-1124
|
Coupling |
$14.70
|
1 |
|
usually ships 1-5 days |
016 |
170-1125
|
Oil pump connecting piece (OBSOLETE) |
Call for price
|
1 |
|
usually ships 1-5 days |
017 |
170-1126
|
O-ring (OBSOLETE) |
$9.31
|
1 |
|
usually ships 1-5 days |
018 |
170-1127
|
Axle fan (OBSOLETE) |
$55.04
|
1 |
|
usually ships 1-5 days |