# | Part | Description | Price | Req | Notes | Availability |
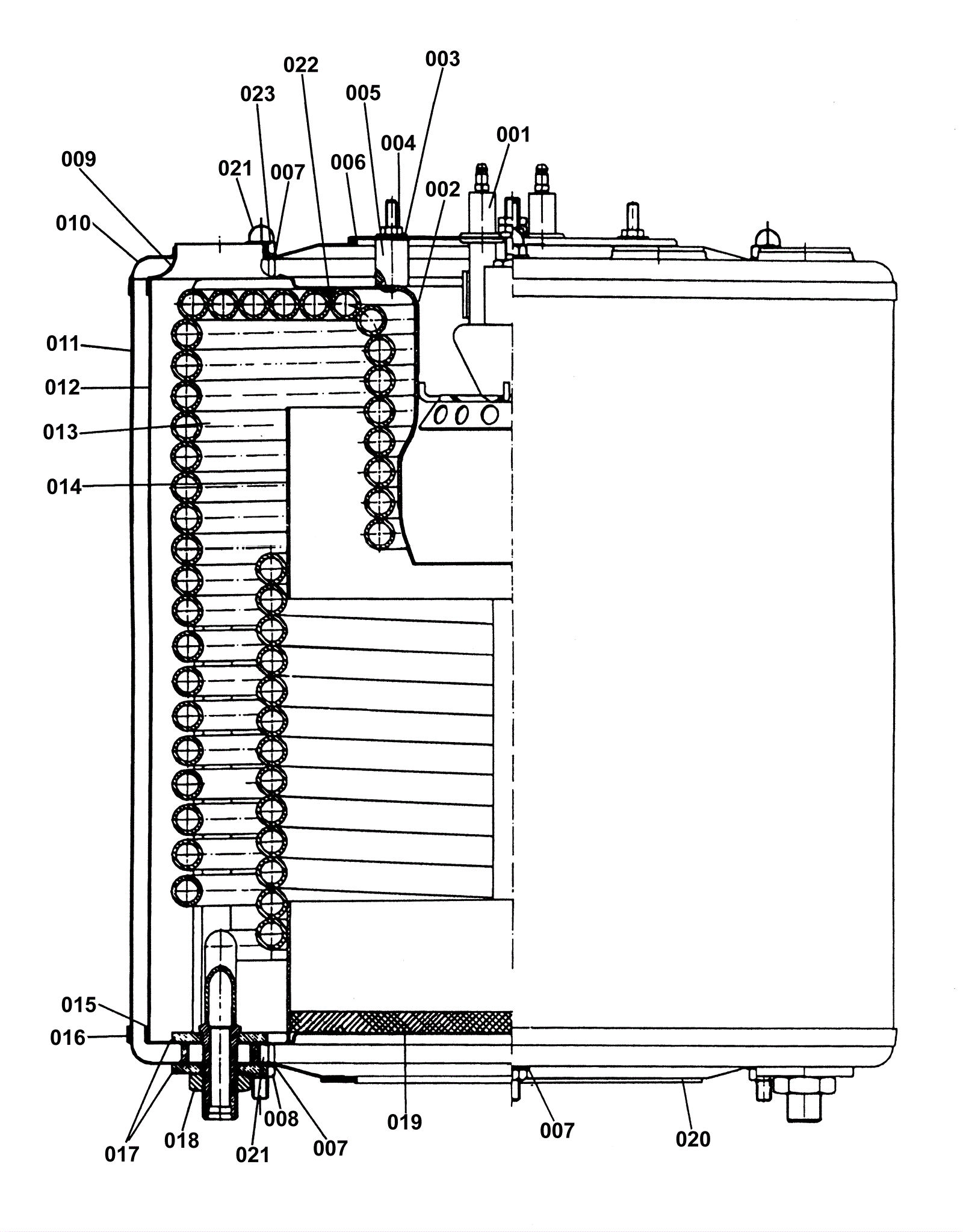
001 |
170-1117
|
Complete air distributor (OBSOLETE) |
$393.82
|
1 |
|
usually ships 1-5 days |
002 |
170-1139
|
Burner tube (OBSOLETE) |
$253.56
|
1 |
|
usually ships 1-5 days |
003 |
999-1261
|
Washer M6 flat stainless steel |
$0.99
|
3 |
|
ships same day |
004 |
170-1142
|
Nut M6 (OBSOLETE) |
$9.31
|
3 |
|
usually ships 1-5 days |
005 |
170-1143
|
Spacer |
$24.98
|
3 |
|
usually ships 1-5 days |
006 |
170-1144
|
O-ring |
$12.39
|
1 |
|
usually ships 1-5 days |
007 |
170-0955
|
Washer 8mm (OBSOLETE) |
$7.01
|
7 |
|
usually ships 1-5 days |
008 |
999-1424
|
Nut M8-1.25 hex stainless steel |
$1.65
|
3 |
|
ships same day |
009 |
170-1146
|
Boiler top inside |
$418.84
|
1 |
|
usually ships 1-5 days |
010 |
170-1149
|
Boiler top inside |
$161.66
|
1 |
|
usually ships 1-5 days |
011 |
170-1153
|
Outer jacket (OBSOLETE) |
$341.23
|
1 |
|
usually ships 1-5 days |
012 |
170-1157
|
Inner jacket |
$470.27
|
1 |
|
usually ships 1-5 days |
013a |
170-1160
|
Coil |
$1,690.04
|
1 |
|
usually ships 1-5 days |
013b |
170-1161
|
Coil (OBSOLETE) |
Call for price
|
1 |
|
usually ships 1-5 days |
013c |
170-1162
|
Coil (OBSOLETE) |
Call for price
|
1 |
|
usually ships 1-5 days |
014 |
170-1163
|
Flame tube |
$617.23
|
1 |
|
usually ships 1-5 days |
015 |
170-1164
|
Inner boiler bottom |
$174.64
|
1 |
|
usually ships 1-5 days |
016 |
170-1165
|
Outer boiler bottom |
$213.09
|
1 |
|
usually ships 1-5 days |
017 |
170-1166
|
Washer |
$11.76
|
4 |
|
usually ships 13-18 days |
018 |
170-0965
|
Nut M18 x 1.5 lock |
$12.39
|
2 |
|
usually ships 1-5 days |
019 |
170-1167
|
Insulating covering (OBSOLETE) |
$104.98
|
1 |
|
usually ships 1-5 days |
020 |
170-1168
|
Gasket |
$52.17
|
1 |
|
usually ships 1-5 days |
021 |
170-1169
|
Nut (OBSOLETE) |
$4.85
|
6 |
|
usually ships 1-5 days |
022 |
170-1170
|
Gasket |
$41.62
|
1 |
|
usually ships 1-5 days |
023 |
170-1171
|
Nut M8 (OBSOLETE) |
$5.50
|
3 |
|
usually ships 1-5 days |