| # | Part | Description | Price | Req | Notes | Availability |
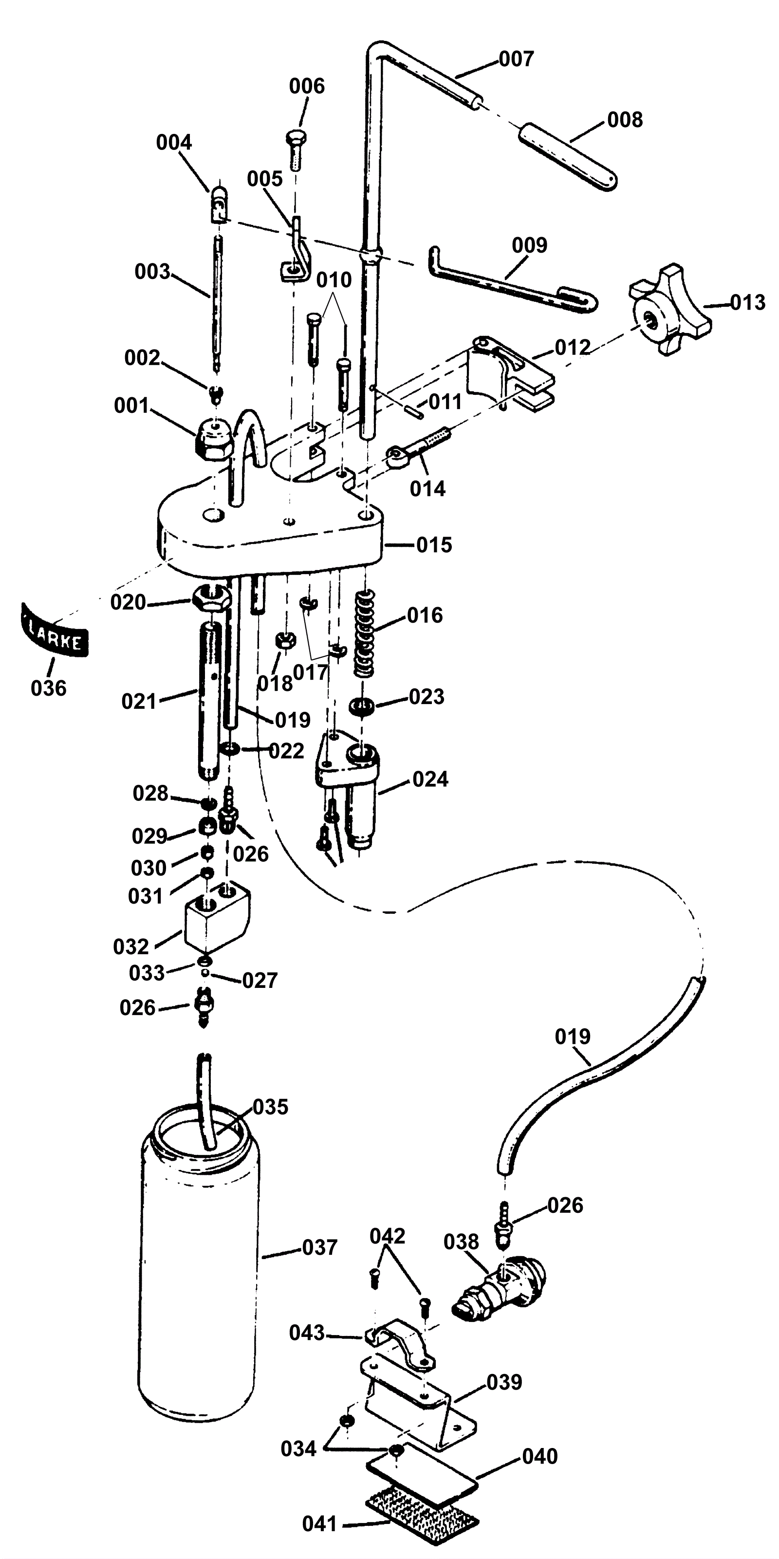
001 |
170-5691
|
Barrel Cap (OBSOLETE) |
$7.72
|
1 |
|
usually ships 1-5 days |
002 |
170-5692
|
Nyliner Bearing (OBSOLETE) |
$6.29
|
1 |
|
usually ships 1-5 days |
003 |
170-5693
|
Plunger (OBSOLETE) |
$22.69
|
1 |
|
usually ships 1-5 days |
004 |
170-5694
|
Rod End (OBSOLETE) |
$11.76
|
1 |
|
usually ships 1-5 days |
005 |
170-5695
|
Pivot Bracket (OBSOLETE) |
$8.07
|
1 |
|
usually ships 1-5 days |
006 |
999-0822
|
Screw 1/4-20 x 7/8 hex head plain finish |
$0.99
|
1 |
|
ships same day |
007 |
170-5696
|
handle (OBSOLETE) |
$97.66
|
1 |
|
usually ships 1-5 days |
008 |
170-5697
|
Handle Grip (OBSOLETE) |
$5.94
|
1 |
|
usually ships 1-5 days |
009 |
170-5574
|
Interlock label |
$1.69
|
1 |
|
usually ships 1-5 days |
010 |
170-5699
|
Pin (OBSOLETE) |
$5.70
|
2 |
|
usually ships 1-5 days |
011 |
373-3020
|
Pin roll |
$12.89
|
1 |
|
usually ships 13-18 days |
012 |
170-5700
|
Clamp (OBSOLETE) |
$12.00
|
1 |
|
usually ships 1-5 days |
013 |
170-5701
|
Knob (OBSOLETE) |
$8.07
|
1 |
|
usually ships 1-5 days |
014 |
170-5724
|
Bolt swing (OBSOLETE) |
$18.29
|
1 |
|
usually ships 1-5 days |
015 |
170-5703
|
Cover (OBSOLETE) |
$35.40
|
1 |
|
usually ships 1-5 days |
016 |
170-5704
|
Spring (OBSOLETE) |
$4.57
|
1 |
|
usually ships 1-5 days |
017 |
170-5705
|
Ring E (OBSOLETE) |
$6.53
|
2 |
|
usually ships 1-5 days |
018 |
170-0465
|
Nut 1/4-20 ESNA heavy jam |
$11.35
|
1 |
|
usually ships 13-18 days |
019 |
170-5706
|
Large Tube 60 Inches (OBSOLETE) |
$16.75
|
1 |
|
usually ships 1-5 days |
020 |
999-0714
|
Nut 1/2-20 hex jam stainless steel |
$1.25
|
1 |
|
ships same day |
021 |
170-5707
|
Barrel (OBSOLETE) |
$69.15
|
1 |
|
usually ships 1-5 days |
022 |
170-5708
|
O Ring (OBSOLETE) |
$2.00
|
1 |
|
usually ships 1-5 days |
023 |
170-5709
|
Spacer (OBSOLETE) |
$10.34
|
1 |
|
usually ships 1-5 days |
024 |
170-5710
|
Guide (OBSOLETE) |
$11.88
|
1 |
|
usually ships 1-5 days |
025 |
999-0269
|
Screw 10-24 x 5/8 pan head phillips zinc plated |
$0.99
|
2 |
|
ships same day |
026 |
160-0052
|
Fitting 1/4 barb x 1/4mp |
$7.32
|
3 |
|
usually ships 31-35 days |
027 |
170-5711
|
5/32 Diameter Stainless Steel Ball (OBSOLETE) |
$5.50
|
1 |
|
usually ships 1-5 days |
028 |
170-5725
|
Washer (OBSOLETE) |
$5.50
|
1 |
|
usually ships 1-5 days |
029 |
170-5712
|
Piston (OBSOLETE) |
$25.78
|
1 |
|
usually ships 1-5 days |
030 |
170-5713
|
Piston Spacer (OBSOLETE) |
$4.14
|
1 |
|
usually ships 1-5 days |
031 |
170-6358
|
Nut 4-40 esna (OBSOLETE) |
$7.81
|
1 |
|
usually ships 1-5 days |
032 |
170-5714
|
Manifold (OBSOLETE) |
$15.57
|
1 |
|
usually ships 1-5 days |
033 |
170-5715
|
Ball Retainer (OBSOLETE) |
$4.28
|
1 |
|
usually ships 1-5 days |
034 |
999-0062
|
Nut 10-24 hex |
$0.99
|
2 |
|
ships same day |
035 |
170-5716
|
Tube (OBSOLETE) |
$5.50
|
1 |
|
usually ships 1-5 days |
036 |
170-5717
|
Clarke Label (OBSOLETE) |
$2.00
|
1 |
|
usually ships 1-5 days |
037 |
170-5718
|
Bottle (OBSOLETE) |
$6.53
|
1 |
|
usually ships 1-5 days |
038 |
170-5719
|
Nozzle assembly (OBSOLETE) |
$96.35
|
1 |
|
usually ships 1-5 days |
039 |
170-5720
|
Nozzle Bracket (OBSOLETE) |
$9.63
|
1 |
|
usually ships 1-5 days |
040 |
170-5721
|
Upper Pad (OBSOLETE) |
$7.04
|
1 |
|
usually ships 13-18 days |
041 |
170-5722
|
Lower Pad (OBSOLETE) |
$7.92
|
1 |
|
usually ships 1-5 days |
042 |
999-0267
|
Screw 10-24 x 1/2 pan head phillips zinc |
$0.99
|
2 |
|
ships same day |
043 |
170-5723
|
Nozzle Clamp (OBSOLETE) |
$17.70
|
1 |
|
usually ships 1-5 days |