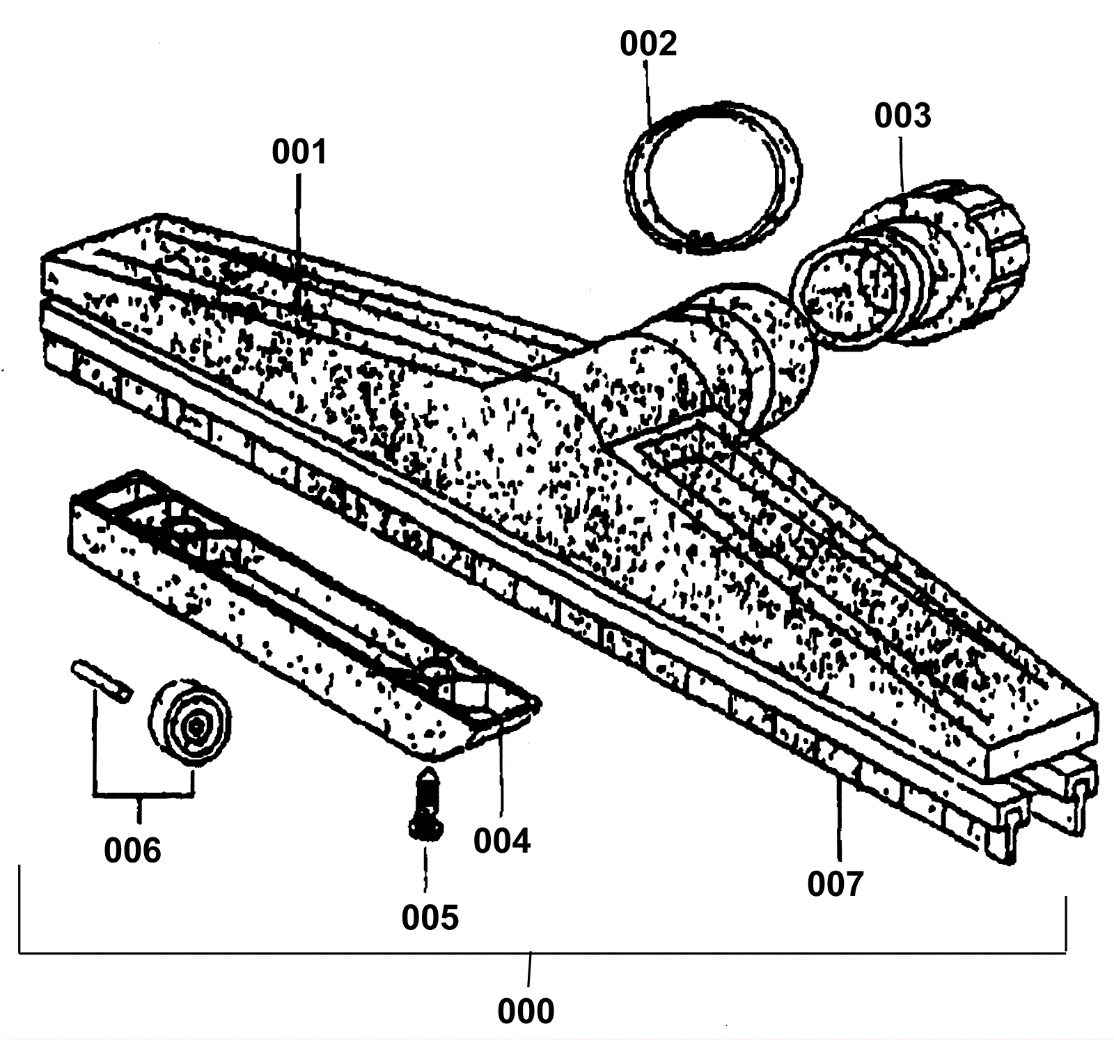
| # | Part | Description | Price | Req | Notes | Availability |
000 |
170-4007
|
Squeegee tool |
$115.74
|
|
|
usually ships 13-18 days |
001 |
170-3956
|
Tool body (OBSOLETE) |
$7.70
|
1 |
|
usually ships 13-18 days |
002 |
170-3957
|
Floor tool ring |
$11.19
|
1 |
|
usually ships 1-5 days |
003 |
170-3958
|
Floor tool adaptor |
$8.83
|
1 |
|
usually ships 13-18 days |
004 |
170-3959
|
Floor tool support |
$10.01
|
2 |
|
usually ships 1-5 days |
005 |
170-3960
|
Screw 5mm x 15mm (OBSOLETE) |
$9.13
|
4 |
|
usually ships 1-5 days |
006 |
170-3961
|
Wheel |
$12.60
|
2 |
|
usually ships 1-5 days |
007 |
164-4946
|
Squeegee blade 15 inch gum rubber |
$24.42
|
2 |
|
usually ships 19-25 days |