| # | Part | Description | Price | Req | Notes | Availability |
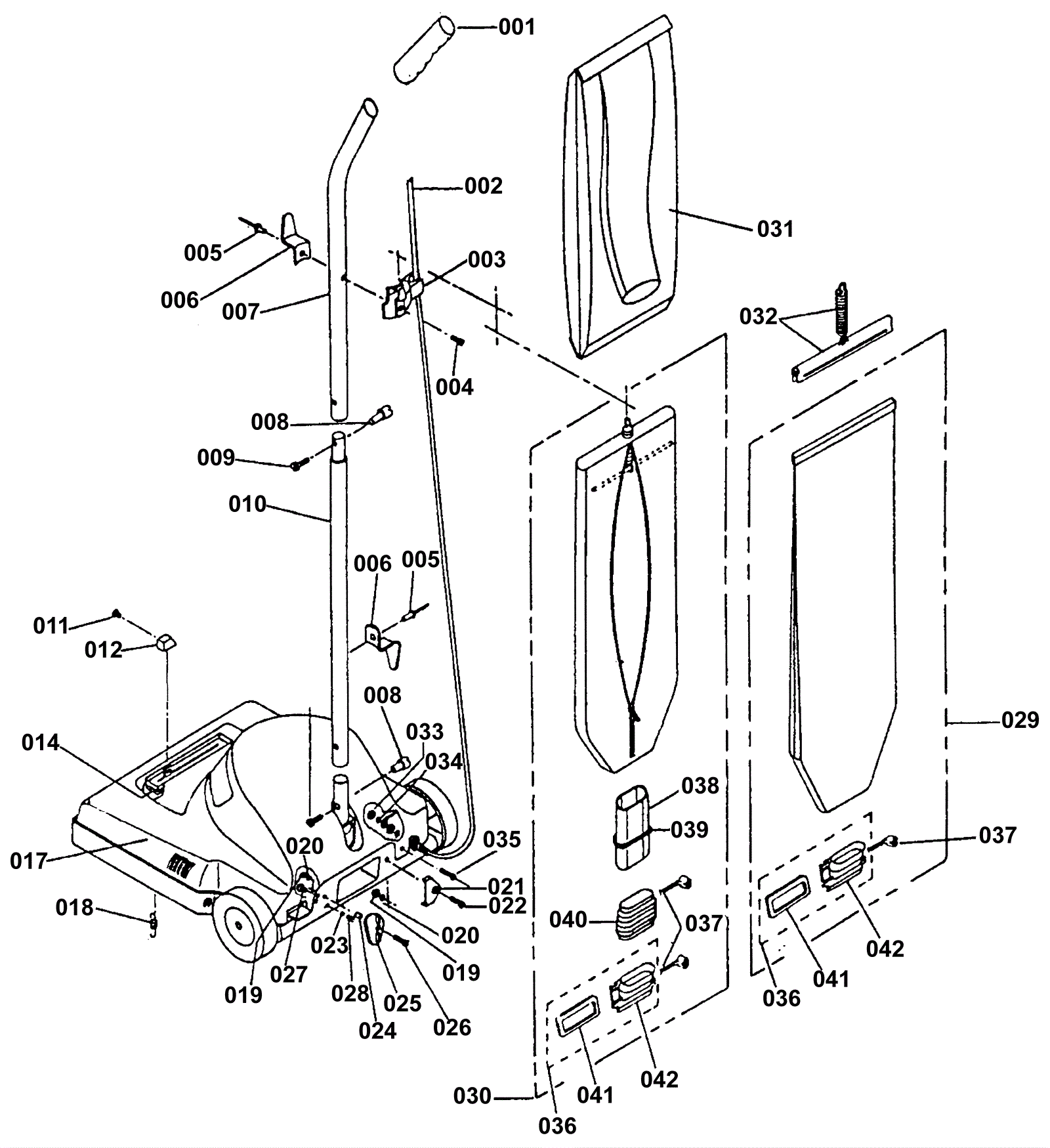
001 |
170-5316
|
Handle grip (OBSOLETE) |
$6.78
|
1 |
|
usually ships 1-5 days |
002a |
170-5317
|
Line cord assembly (OBSOLETE) |
$81.97
|
1 |
|
usually ships 1-5 days |
002b |
170-5318
|
Line cord assembly 3w/230v (OBSOLETE) |
$205.28
|
1 |
|
usually ships 1-5 days |
003 |
170-5319
|
Cord retainer (OBSOLETE) |
$6.66
|
1 |
|
usually ships 1-5 days |
004 |
999-0453
|
Screw 8-32 x 1/2 pan head phillips thread forming zinc |
$0.99
|
1 |
|
ships same day |
005 |
170-5133
|
Pop rivet (OBSOLETE) |
$5.50
|
2 |
|
usually ships 1-5 days |
006 |
170-5320
|
Cord hook (OBSOLETE) |
$12.12
|
2 |
|
usually ships 1-5 days |
007 |
170-5321
|
Upper handle (OBSOLETE) |
$51.80
|
1 |
|
usually ships 1-5 days |
008 |
170-5322
|
Nut (OBSOLETE) |
$6.78
|
2 |
|
usually ships 1-5 days |
009 |
999-0389
|
Screw 10-32 x 1 round head slotted zinc plated |
$0.99
|
2 |
|
ships same day |
010 |
170-5323
|
Lower handle (OBSOLETE) |
$35.29
|
1 |
|
usually ships 1-5 days |
011 |
999-0463
|
Screw 6-32 x 3/8 pan head slotted zinc plated |
$0.99
|
1 |
|
ships same day |
012 |
170-5324
|
Wheel height knob (OBSOLETE) |
$6.78
|
1 |
|
usually ships 1-5 days |
014 |
170-5325
|
Felt (OBSOLETE) |
$0.99
|
1 |
|
usually ships 1-5 days |
017 |
170-5326
|
Blue hood without lens (OBSOLETE) |
$131.15
|
1 |
|
usually ships 1-5 days |
018 |
170-5327
|
Hood spring (OBSOLETE) |
$11.41
|
2 |
|
usually ships 1-5 days |
019 |
999-0460
|
Nut 10-32 hex |
$0.99
|
2 |
|
ships same day |
020 |
170-5328
|
Wsher 10 x 2.04 star (OBSOLETE) |
$6.78
|
2 |
|
usually ships 1-5 days |
021 |
170-5329
|
Bag support (OBSOLETE) |
$6.06
|
1 |
|
usually ships 1-5 days |
022 |
999-0726
|
Screw 10-32 x 5/8 pan head phillips zinc plated |
$0.99
|
1 |
|
ships same day |
023 |
170-5330
|
Ball (OBSOLETE) |
$7.01
|
1 |
|
usually ships 1-5 days |
024 |
170-5331
|
Bag knob spacer (OBSOLETE) |
$7.01
|
1 |
|
usually ships 1-5 days |
025 |
170-5332
|
Bag knob (OBSOLETE) |
$7.01
|
1 |
|
usually ships 1-5 days |
026 |
999-0414
|
Screw 10-32 x 3/4 pan head slotted zinc plated |
$0.99
|
1 |
|
ships same day |
027 |
170-5333
|
Screw 6 x 5 5/16 type b (OBSOLETE) |
$5.50
|
1 |
|
usually ships 1-5 days |
028 |
170-5334
|
Knob spring (OBSOLETE) |
$8.32
|
1 |
|
usually ships 1-5 days |
029 |
170-4636
|
Permanent cloth bag assembly (OBSOLETE) |
$111.33
|
1 |
|
usually ships 1-5 days |
030 |
170-4638
|
Zipper bag assembly (OBSOLETE) |
$111.55
|
1 |
|
usually ships 1-5 days |
031 |
170-4642
|
Paper bag (OBSOLETE) |
$295.91
|
1 |
|
usually ships 1-5 days |
032 |
170-4643
|
Bag clip (OBSOLETE) |
$27.32
|
1 |
|
usually ships 1-5 days |
033 |
999-1036
|
Nut 8-32 hex NTM nylon insert jam lock stainless steel |
$0.99
|
2 |
|
ships same day |
034 |
170-4644
|
Washer star (OBSOLETE) |
$1.90
|
2 |
|
usually ships 1-5 days |
035 |
999-0452
|
Screw 8-32 x 3/8 pan head phillips zinc plated |
$0.99
|
1 |
|
ships same day |
036a |
N/A
|
Not available |
Call for price
|
1 |
(Bag coupling gasket assembly) |
usually ships 3-26 days |
036b |
170-5315
|
Bag coupling gasket (OBSOLETE) |
$5.50
|
1 |
|
usually ships 1-5 days |
036c |
170-5314
|
Bag coupling (OBSOLETE) |
$8.91
|
1 |
|
usually ships 1-5 days |
037 |
170-4637
|
Plastic strap (OBSOLETE) |
$7.01
|
2 |
|
usually ships 1-5 days |
038 |
170-4639
|
Paper bag connector (OBSOLETE) |
$16.63
|
1 |
|
usually ships 1-5 days |
039 |
170-4640
|
Spring paper bag (OBSOLETE) |
$10.35
|
1 |
|
usually ships 1-5 days |
040 |
170-4641
|
Zipper bag hose (OBSOLETE) |
$15.20
|
1 |
|
usually ships 1-5 days |