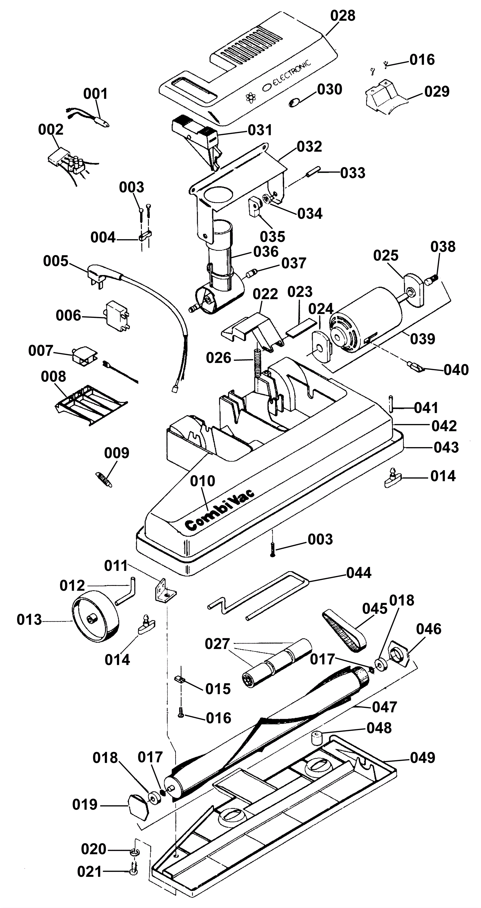
# | Part | Description | Price | Req | Notes | Availability |
001 |
170-5061
|
Glow lamp (120V) (OBSOLETE) |
$7.72
|
1 |
|
usually ships 1-5 days |
002 |
170-9934
|
Bridge rectifier (OBSOLETE) |
$30.29
|
1 |
|
usually ships 1-5 days |
003 |
170-5008
|
Screw |
$10.52
|
1 |
|
usually ships 1-5 days |
004 |
170-5067
|
Strain relief clamp (OBSOLETE) |
$5.94
|
1 |
|
usually ships 1-5 days |
005 |
170-9927
|
Cord assembly (OBSOLETE) |
$40.37
|
1 |
|
usually ships 13-18 days |
006 |
170-5089
|
Circuit breaker brush motor (OBSOLETE) |
$33.22
|
1 |
|
usually ships 1-5 days |
007 |
270-0005
|
one pole switch |
$35.60
|
1 |
|
usually ships 13-18 days |
008 |
170-5090
|
Switch cover mounting |
$10.52
|
1 |
|
usually ships 1-5 days |
009 |
170-5070
|
Spring (OBSOLETE) |
$7.92
|
1 |
|
usually ships 1-5 days |
010a |
170-4596
|
Combivac label (OBSOLETE) |
Call for price
|
1 |
Model 614, Gray |
usually ships 1-5 days |
010b |
170-4597
|
Combivac label (OBSOLETE) |
$10.57
|
1 |
Model 618, Gray |
usually ships 1-5 days |
011 |
170-5083
|
Retainer brush housing (OBSOLETE) |
$40.27
|
1 |
|
usually ships 1-5 days |
012 |
170-9926
|
Wheel axle (OBSOLETE) |
$9.25
|
2 |
|
usually ships 1-5 days |
013 |
170-5076
|
Rear wheel |
$16.95
|
2 |
|
usually ships 1-5 days |
014 |
170-5113
|
Tension lever |
$10.01
|
2 |
|
usually ships 1-5 days |
015 |
170-5107
|
Plate fixing (OBSOLETE) |
$7.92
|
2 |
|
usually ships 1-5 days |
016 |
170-9924
|
Screw 4 x 12 polyfast (OBSOLETE) |
$7.01
|
4 |
|
usually ships 1-5 days |
017 |
170-5081
|
Retaining ring (OBSOLETE) |
$8.69
|
2 |
|
usually ships 1-5 days |
018 |
170-0362
|
Radial ball bearing |
$25.41
|
2 |
|
usually ships 12-15 days |
019 |
170-5108
|
Block bearing (OBSOLETE) |
$21.45
|
1 |
|
usually ships 13-18 days |
020 |
170-5072
|
Security disc |
$9.13
|
1 |
|
usually ships 1-5 days |
021 |
170-5085
|
Screw nozzle plate (OBSOLETE) |
$5.72
|
1 |
|
usually ships 1-5 days |
022 |
170-5091
|
Latch foot |
$14.95
|
1 |
|
usually ships 13-18 days |
023 |
170-5092
|
Rail stop (OBSOLETE) |
$20.35
|
1 |
|
usually ships 1-5 days |
024 |
170-5093
|
Inner Mount Brush Motor (OBSOLETE) |
$12.83
|
1 |
|
usually ships 1-5 days |
025 |
170-5096
|
Outer mount brush motor (OBSOLETE) |
$8.91
|
1 |
|
usually ships 1-5 days |
026 |
170-5065
|
Spring |
$8.80
|
1 |
|
usually ships 1-5 days |
027 |
170-5078
|
Roller |
$8.80
|
3 |
|
usually ships 1-5 days |
028 |
170-4598
|
Brush housing cover (OBSOLETE) |
$47.22
|
1 |
|
usually ships 1-5 days |
029 |
170-5094
|
Plate reinforcing |
$8.83
|
1 |
|
usually ships 1-5 days |
030 |
170-4599
|
Lens (OBSOLETE) |
$5.50
|
1 |
|
usually ships 1-5 days |
031 |
170-5069
|
Pedal |
$9.13
|
1 |
|
usually ships 1-5 days |
032 |
170-2221
|
Pivot bracket |
$80.27
|
1 |
|
usually ships 1-5 days |
033 |
170-9913
|
Cylinder pin |
$8.03
|
1 |
|
usually ships 1-5 days |
034 |
170-9914
|
Bushing (OBSOLETE) |
$7.01
|
1 |
|
usually ships 1-5 days |
035 |
170-9915
|
Wear plate (OBSOLETE) |
$7.70
|
1 |
|
usually ships 1-5 days |
036 |
170-5064
|
Pivot handle |
$60.06
|
1 |
|
usually ships 1-5 days |
037 |
170-5066
|
Shaft pivot (OBSOLETE) |
$8.03
|
2 |
|
usually ships 1-5 days |
038 |
170-5098
|
Driver pulley |
$12.31
|
1 |
|
usually ships 1-5 days |
039 |
170-5100
|
Brush motor 120V (OBSOLETE) |
$238.70
|
1 |
614E / 618E |
usually ships 13-18 days |
040 |
170-5102
|
Carbon Brushes |
$12.60
|
1 |
|
usually ships 1-5 days |
041 |
170-5103
|
Pin (OBSOLETE) |
$7.01
|
2 |
|
usually ships 1-5 days |
042a |
170-4601
|
Lower housing (OBSOLETE) |
$99.20
|
1 |
614E |
usually ships 1-5 days |
042b |
170-4602
|
Lower housing (OBSOLETE) |
$154.34
|
1 |
618E |
usually ships 1-5 days |
043a |
170-5104
|
Bumper 14 inch (OBSOLETE) |
$26.40
|
1 |
614E |
usually ships 1-5 days |
043b |
170-5105
|
Bumper 18 inch (OBSOLETE) |
$18.59
|
1 |
618E |
usually ships 13-18 days |
044 |
170-5106
|
Adjusting axle |
$23.01
|
1 |
|
usually ships 1-5 days |
045 |
170-5109
|
Cogged belt |
$46.92
|
1 |
|
usually ships 13-18 days |
046 |
170-5082
|
Bearing block left side (OBSOLETE) |
$15.18
|
1 |
|
usually ships 13-18 days |
047a |
170-5079
|
Brush assembly 14 inch (OBSOLETE) |
$90.59
|
1 |
614E |
usually ships 13-18 days |
047b |
170-5080
|
Brush assembly 18 inch |
$123.12
|
1 |
618E |
usually ships 13-18 days |
048 |
170-7354
|
34 inch left brush housing (OBSOLETE) |
$353.45
|
1 |
|
usually ships 13-18 days |
049a |
170-5111
|
Plate nozzle |
$169.11
|
1 |
614E |
usually ships 1-5 days |
049b |
170-5112
|
Nozzle plate |
$120.08
|
1 |
618E |
usually ships 1-5 days |