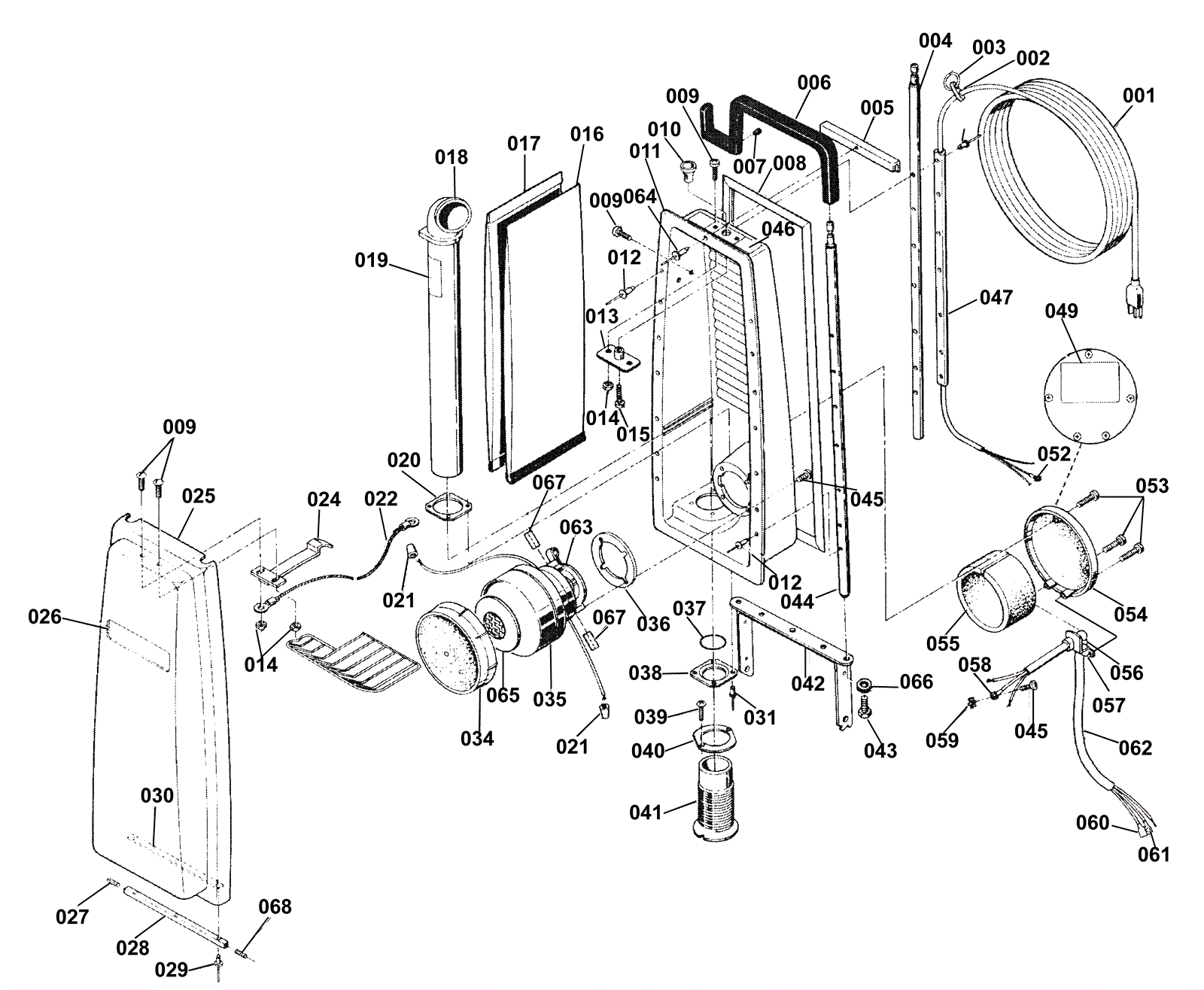
Upper Assembly
Click to enlarge