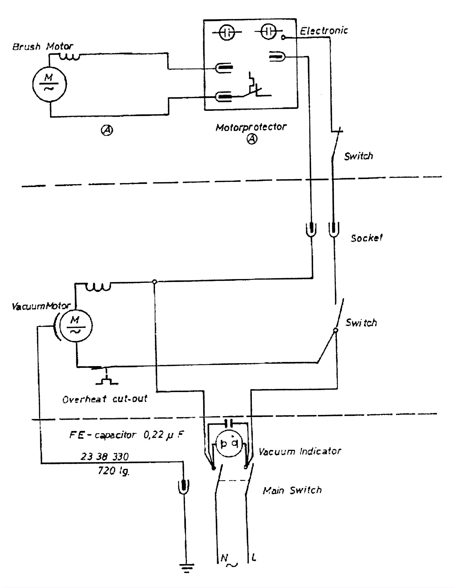
120V Electrical Schematic
Click to enlarge