| # | Part | Description | Price | Req | Notes | Availability |
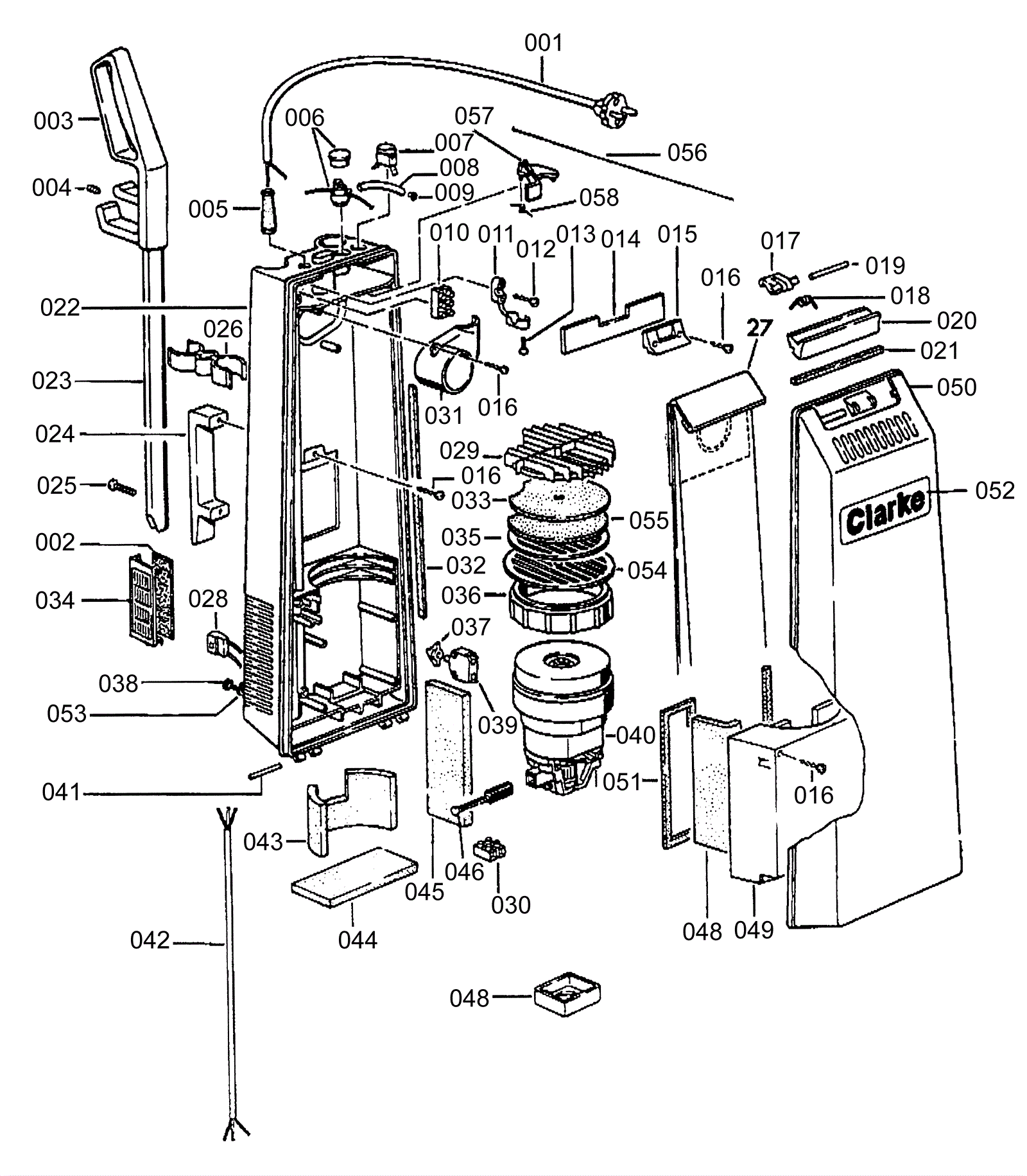
001 |
170-8910
|
Power cord 120V |
$86.76
|
1 |
|
usually ships 13-18 days |
002 |
170-9936
|
Exhaust filter |
$9.35
|
1 |
|
usually ships 1-5 days |
003 |
170-5129
|
Handle (OBSOLETE) |
$75.57
|
1 |
|
usually ships 1-5 days |
004 |
170-9937
|
Screw M6 x 12 (OBSOLETE) |
$5.50
|
1 |
|
usually ships 1-5 days |
005 |
170-9938
|
Cord sleeve 115V (OBSOLETE) |
$2.06
|
1 |
|
usually ships 1-5 days |
006 |
170-9940
|
Indicator light 115V (OBSOLETE) |
$21.14
|
1 |
|
usually ships 1-5 days |
007 |
170-5131
|
Master switch |
$34.23
|
1 |
|
usually ships 13-18 days |
008 |
170-5035
|
Tubing (OBSOLETE) |
$7.92
|
1 |
|
usually ships 1-5 days |
009 |
170-5036
|
Rivet (OBSOLETE) |
$5.50
|
1 |
|
usually ships 1-5 days |
010 |
170-5022
|
Block terminal (OBSOLETE) |
$7.92
|
2 |
|
usually ships 1-5 days |
011 |
170-9942
|
Strain relief (OBSOLETE) |
$4.28
|
1 |
|
usually ships 1-5 days |
012 |
170-9943
|
Screw B 2.9 x 16 (OBSOLETE) |
$1.86
|
1 |
|
usually ships 1-5 days |
013 |
999-1180
|
Screw M3-.5 x 16mm pan head stainless steel |
$0.99
|
3 |
|
ships same day |
014 |
170-9944
|
Cover plate (OBSOLETE) |
$5.50
|
1 |
|
usually ships 1-5 days |
015 |
170-9945
|
Tank catch (OBSOLETE) |
$5.50
|
1 |
|
usually ships 1-5 days |
016 |
170-5008
|
Screw |
$10.52
|
2 |
|
usually ships 1-5 days |
017 |
170-9946
|
Housing latch (OBSOLETE) |
$5.50
|
1 |
|
usually ships 1-5 days |
018 |
170-9947
|
Spring (OBSOLETE) |
$7.01
|
1 |
|
usually ships 1-5 days |
019 |
170-9948
|
Cylinder pin (OBSOLETE) |
$7.01
|
1 |
|
usually ships 1-5 days |
020 |
170-9949
|
Release bar (OBSOLETE) |
Call for price
|
1 |
|
usually ships 1-5 days |
021 |
170-9950
|
Tank gasket (OBSOLETE) |
$7.81
|
1 |
|
usually ships 1-5 days |
022 |
170-9951
|
Rear housing (OBSOLETE) |
$195.25
|
1 |
|
usually ships 1-5 days |
023 |
170-9952
|
Handle tube (OBSOLETE) |
$52.47
|
1 |
|
usually ships 1-5 days |
024 |
170-9953
|
Carrying handle (OBSOLETE) |
$36.23
|
1 |
|
usually ships 1-5 days |
025 |
170-9954
|
Screw 6 x 40 thumb (OBSOLETE) |
$7.92
|
1 |
|
usually ships 1-5 days |
026 |
170-5130
|
Accessory clamp (OBSOLETE) |
$15.07
|
1 |
|
usually ships 1-5 days |
027a |
170-0126
|
Paper vacuum bag (pkg of 10) |
$38.50
|
1 |
(OEM) Pkg of 10 |
usually ships 13-18 days |
027b |
991-9033
|
Paper vacuum bags (pkg of 10) (OBSOLETE) |
$13.59
|
1 |
(NON-OEM) |
usually ships 7-9 days |
028 |
170-9955
|
ReceptIcal (OBSOLETE) |
$25.55
|
1 |
|
usually ships 13-18 days |
029 |
170-9956
|
Filter holder (OBSOLETE) |
$8.03
|
1 |
|
usually ships 1-5 days |
030 |
170-4611
|
Terminal block (OBSOLETE) |
$7.01
|
1 |
|
usually ships 1-5 days |
031 |
170-9958
|
Bag adapter (OBSOLETE) |
$9.15
|
1 |
|
usually ships 1-5 days |
032 |
170-9959
|
Gasket (OBSOLETE) |
$7.92
|
1 |
|
usually ships 1-5 days |
033 |
170-3327
|
Vac motor filter (OBSOLETE) |
$12.60
|
1 |
|
usually ships 13-18 days |
034 |
170-9960
|
Filter frame (OBSOLETE) |
$14.74
|
1 |
|
usually ships 1-5 days |
035 |
170-9961
|
Filter spacer (OBSOLETE) |
$11.99
|
1 |
|
usually ships 1-5 days |
036 |
170-9962
|
Motor mounting ring (OBSOLETE) |
$4.42
|
1 |
|
usually ships 1-5 days |
037 |
170-5016
|
Switch cap |
$14.41
|
1 |
|
usually ships 1-5 days |
038 |
170-5015
|
Thumb screw set of 2 |
$16.09
|
1 |
|
usually ships 1-5 days |
039 |
170-5017
|
Switch wand |
$37.27
|
1 |
|
usually ships 1-5 days |
040 |
170-9964
|
Vacuum motor 115V (OBSOLETE) |
$233.75
|
1 |
|
usually ships 1-5 days |
041 |
170-9966
|
Grooved pin (OBSOLETE) |
$7.92
|
2 |
|
usually ships 1-5 days |
042 |
170-9967
|
Connecting cord w/3 wires (OBSOLETE) |
$20.24
|
1 |
|
usually ships 1-5 days |
043 |
170-5050
|
Foam (OBSOLETE) |
$7.01
|
1 |
|
usually ships 1-5 days |
044 |
170-5019
|
Insulating insert |
$12.89
|
1 |
|
usually ships 1-5 days |
045 |
170-9969
|
Exhaust filter |
$7.70
|
1 |
|
usually ships 1-5 days |
046 |
170-5023
|
Carbon brushes 120v (OBSOLETE) |
$13.57
|
2 |
|
usually ships 1-5 days |
047 |
170-9970
|
Motor mount (OBSOLETE) |
$7.92
|
1 |
|
usually ships 1-5 days |
048 |
170-9971
|
Foam (OBSOLETE) |
$6.53
|
1 |
|
usually ships 1-5 days |
049 |
170-9972
|
Vacuum motor cover (OBSOLETE) |
$14.30
|
1 |
|
usually ships 1-5 days |
050 |
170-9973
|
Front housing (OBSOLETE) |
$141.97
|
1 |
|
usually ships 1-5 days |
051 |
170-9974
|
Gasket (OBSOLETE) |
$7.92
|
1 |
|
usually ships 1-5 days |
052 |
170-9975
|
Clarke label (OBSOLETE) |
Call for price
|
1 |
|
usually ships 1-5 days |
053 |
170-9976
|
Clarke label |
$10.01
|
1 |
|
usually ships 1-5 days |
054 |
170-9977
|
Filter disc (OBSOLETE) |
$7.92
|
1 |
|
usually ships 1-5 days |
055 |
170-9982
|
Microstaph filter (OBSOLETE) |
$38.17
|
1 |
Pkg of 6, optional |
usually ships 1-5 days |
056 |
170-9979
|
Nylon cord (OBSOLETE) |
$7.81
|
1 |
|
usually ships 1-5 days |
057 |
170-5032
|
Locking bar |
$11.19
|
1 |
|
usually ships 1-5 days |
058 |
170-5033
|
Spiral spring (OBSOLETE) |
$8.03
|
1 |
|
usually ships 1-5 days |
059 |
170-5020
|
Circuit breaker (OBSOLETE) |
$11.66
|
1 |
|
usually ships 1-5 days |
060 |
170-9981
|
Foam ring |
$12.89
|
1 |
|
usually ships 13-18 days |
KIT |
170-1097
|
Screwed connection |
$14.06
|
1 |
Optional Accessories |
usually ships 1-5 days |
KIT |
170-5056
|
Kit of 6 Microfilters (OBSOLETE) |
$117.04
|
1 |
Optional Accessories |
usually ships 1-5 days |
N/S |
170-5052
|
Tool-furniture brush |
$29.70
|
1 |
|
usually ships 1-5 days |
N/S |
170-5053
|
Tool - floor |
$85.24
|
1 |
|
usually ships 1-5 days |
N/S |
170-5124
|
Cloth filter bag (Combivacs) (OBSOLETE) |
$87.34
|
1 |
|
usually ships 1-5 days |
N/S |
170-9982
|
Microstaph filter (OBSOLETE) |
$38.17
|
1 |
|
usually ships 1-5 days |