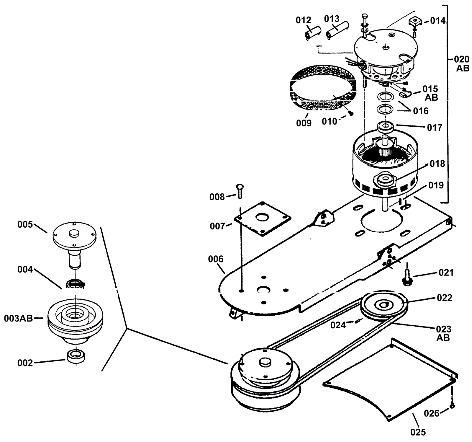
Frame and Motor Assembly
Click to enlarge