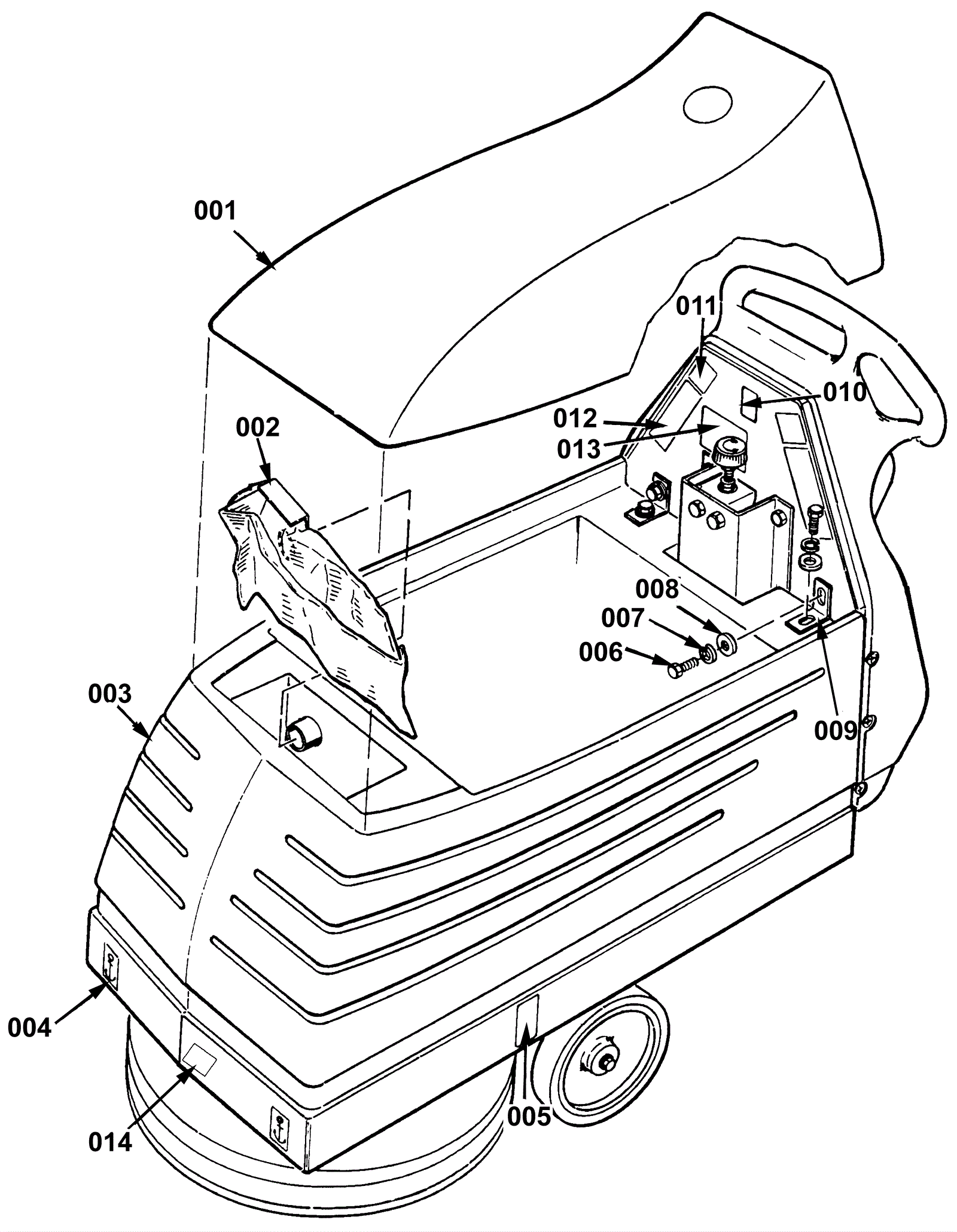
| # | Part | Description | Price | Req | Notes | Availability |
001 |
170-3932
|
Battery cover (OBSOLETE) |
$502.36
|
1 |
|
usually ships 1-5 days |
002a |
170-0126
|
Paper vacuum bag (pkg of 10) |
$38.50
|
1 |
|
usually ships 13-18 days |
002b |
991-9033
|
Paper vacuum bags (pkg of 10) (OBSOLETE) |
$13.59
|
1 |
|
usually ships 7-9 days |
003 |
170-3933
|
Main body (OBSOLETE) |
$503.50
|
1 |
|
usually ships 1-5 days |
004 |
170-1922
|
Tie down label (OBSOLETE) |
$9.79
|
2 |
|
usually ships 1-5 days |
005 |
170-0226
|
Moving warning decal |
$17.74
|
2 |
|
usually ships 1-5 days |
006 |
999-0334
|
Bolt 1/4-20 x 3/4 inch hex head stainless steel |
$3.85
|
4 |
|
usually ships 16-20 days |
007 |
999-0060
|
Washer 1/4 split lock plain finish |
$0.99
|
4 |
|
ships same day |
008 |
999-0335
|
Washer 1/4 x 5/8 SAE flat stainless steel |
$0.99
|
4 |
|
ships same day |
009 |
170-0178
|
Bracket |
$144.86
|
2 |
|
usually ships 1-5 days |
010 |
170-3934
|
Head pressure label (OBSOLETE) |
$8.79
|
1 |
|
usually ships 1-5 days |
011 |
170-0230
|
Falling parts warning decal |
$17.74
|
2 |
|
usually ships 1-5 days |
012 |
170-0229
|
Battery warning decal |
$17.74
|
2 |
|
usually ships 1-5 days |
013 |
170-3935
|
Battery label (OBSOLETE) |
$9.69
|
1 |
|
usually ships 1-5 days |
014 |
170-3936
|
20i Label (OBSOLETE) |
$9.24
|
1 |
|
usually ships 1-5 days |