| # | Part | Description | Price | Req | Notes | Availability |
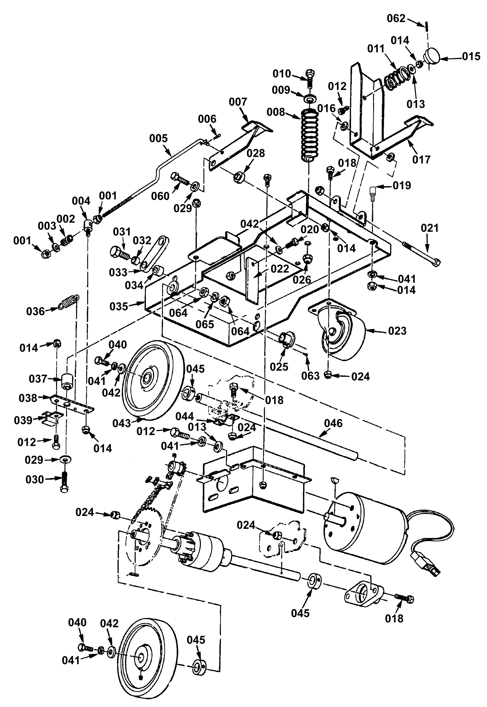
001 |
999-0294
|
Nut 1/4-20 hex nylon lock type NE stainless steel |
$1.18
|
3 |
|
ships same day |
002 |
170-0113
|
Spring (OBSOLETE) |
$10.56
|
1 |
|
usually ships 13-18 days |
003 |
999-0335
|
Washer 1/4 x 5/8 SAE flat stainless steel |
$0.99
|
1 |
|
ships same day |
004 |
170-2071
|
Swivel brake rod (OBSOLETE) |
$8.47
|
1 |
|
usually ships 1-5 days |
005 |
170-3908
|
Brake rod (OBSOLETE) |
$26.73
|
1 |
|
usually ships 1-5 days |
006 |
170-0135
|
Cotter pin (OBSOLETE) |
$11.99
|
2 |
|
usually ships 13-18 days |
007 |
170-3909
|
Brake pedal (OBSOLETE) |
$29.70
|
1 |
|
usually ships 1-5 days |
008 |
170-3910
|
Head lift spring |
$15.95
|
1 |
|
usually ships 1-5 days |
009 |
170-5602
|
Washer |
$1.21
|
1 |
|
usually ships 12-15 days |
010 |
999-0116
|
Bolt 1/2-13 x 1 1/2 hex head grade 5 |
$1.36
|
1 |
|
ships same day |
011 |
N/A
|
Not available |
Call for price
|
1 |
(Latch spring) |
usually ships 3-26 days |
012 |
999-0132
|
Bolt 5/16-18 x 3/4 hex head grade 5 zinc plated |
$2.64
|
2 |
|
ships same day |
013 |
999-0549
|
Washer 5/16 x 3/4 SAE flat stainless steel |
$0.99
|
5 |
|
ships same day |
014 |
999-0211
|
Nut 5/16-18 hex nylon insert lock zinc plated |
$0.99
|
7 |
|
ships same day |
015 |
N/A
|
Not available |
Call for price
|
1 |
Bushing |
usually ships 3-26 days |
016 |
170-6124
|
Washer flat nylon |
$1.21
|
2 |
|
usually ships 12-15 days |
017 |
170-3913
|
Head lift pedal (OBSOLETE) |
$126.62
|
1 |
|
usually ships 1-5 days |
018 |
999-0649
|
Bolt 3/8-16 x 1 1/4 hex head stainless steel |
$1.21
|
8 |
|
ships same day |
019 |
170-3914
|
Bumper (OBSOLETE) |
$21.14
|
2 |
|
usually ships 1-5 days |
020 |
999-0197
|
Screw 1/4-20 x 1 socket head alloy plain finish |
$0.99
|
1 |
|
ships same day |
021 |
170-3915
|
Screw hex 3/8-16 x 4 1/2 |
$10.52
|
1 |
|
usually ships 1-5 days |
022 |
170-7146
|
Static strap |
$14.41
|
1 |
|
usually ships 13-18 days |
023 |
991-2011
|
Caster wheel assembly |
$49.93
|
1 |
|
usually ships 14-20 days |
024 |
999-0188
|
Nut 3/8-16 nylon insert lock zinc plated |
$0.99
|
13 |
|
ships same day |
025 |
170-3916
|
Flange bushing |
$30.40
|
2 |
|
usually ships 1-5 days |
026 |
999-0118
|
Nut 1/2-13 nylon insert lock zinc plated |
$0.99
|
1 |
|
ships same day |
028 |
170-0133
|
Brake pedal spacer (OBSOLETE) |
$38.17
|
1 |
|
usually ships 1-5 days |
029 |
999-0549
|
Washer 5/16 x 3/4 SAE flat stainless steel |
$0.99
|
2 |
|
ships same day |
030 |
999-0551
|
Bolt 5/16-18 x 1 3/4 hex head stainless steel |
$1.63
|
1 |
|
ships same day |
031 |
170-3907
|
Screw 1/2-20 x 1 3/4 |
$10.52
|
2 |
|
usually ships 1-5 days |
032 |
170-0212
|
Flanged bearing |
$12.73
|
2 |
|
usually ships 1-5 days |
033 |
170-3893
|
Linkage bar (OBSOLETE) |
$20.08
|
2 |
|
usually ships 1-5 days |
034 |
170-3917
|
Link spacer (OBSOLETE) |
$9.35
|
2 |
|
usually ships 1-5 days |
035 |
170-3918
|
Lower frame (OBSOLETE) |
$182.17
|
1 |
|
usually ships 1-5 days |
036 |
170-3919
|
Brake arm spring (OBSOLETE) |
$12.09
|
1 |
|
usually ships 1-5 days |
037 |
170-0128
|
Brake arm spacer (OBSOLETE) |
$6.53
|
1 |
|
usually ships 1-5 days |
038 |
170-3920
|
Brake bar (OBSOLETE) |
$178.41
|
1 |
|
usually ships 1-5 days |
039 |
170-1766
|
Brake pad (OBSOLETE) |
$20.55
|
1 |
|
usually ships 1-5 days |
040 |
999-1186
|
Screw 5/16-24 x 3/4 hex head |
$12.89
|
2 |
|
ships same day |
041 |
999-0028
|
Washer 5/16 split lock plain finish |
$0.99
|
4 |
|
ships same day |
042 |
999-0160
|
Washer 1/4 x 1 1/4 fender zinc plated |
$0.99
|
3 |
|
ships same day |
043 |
170-6213
|
Wheel (OBSOLETE) |
$302.28
|
2 |
|
usually ships 1-5 days |
044 |
170-3921
|
Axle clamp (OBSOLETE) |
$13.57
|
2 |
|
usually ships 1-5 days |
045 |
170-3388
|
Set collar (OBSOLETE) |
$20.68
|
2 |
|
usually ships 1-5 days |
046 |
170-3922
|
Axle (OBSOLETE) |
$75.05
|
1 |
|
usually ships 1-5 days |
060 |
170-3357
|
Screw 5/16-18x1 1/4 hex head |
$1.21
|
1 |
|
ships same day |
062 |
170-3559
|
Pin 3/32x3/4 roll ss |
$9.27
|
1 |
|
usually ships 1-5 days |
063 |
999-0462
|
Screw 8-32 x 1/2 pan head slotted zinc plated |
$0.99
|
2 |
|
ships same day |
064 |
170-3892
|
Nut j1/2 -20 jam |
$1.21
|
4 |
|
usually ships 1-5 days |
065 |
999-0126
|
Washer 1/2 split lock |
$1.28
|
2 |
|
ships same day |