| # | Part | Description | Price | Req | Notes | Availability |
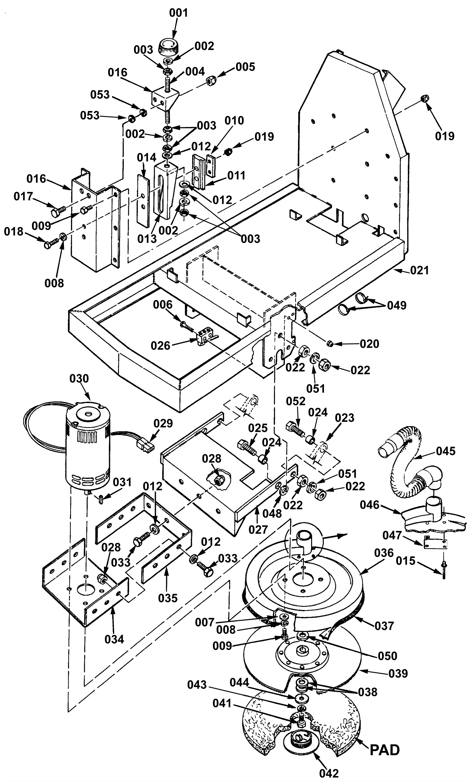
001 |
170-1345
|
Brush pressure knob (OBSOLETE) |
$13.34
|
1 |
|
usually ships 1-5 days |
002 |
999-0659
|
Washer 3/8 medium split lock stainless steel |
$0.39
|
3 |
|
ships same day |
003 |
999-0628
|
Nut 3/8-16 hex jam stainless steel |
$0.99
|
5 |
|
ships same day |
004 |
170-3884
|
Adjustment rod (OBSOLETE) |
$7.65
|
1 |
|
usually ships 1-5 days |
005 |
170-3885
|
Nut 5/16-18 esna |
$11.75
|
2 |
|
usually ships 13-18 days |
006 |
999-0511
|
Screw 6-32 x 1 pan head phillips zinc plated |
$0.99
|
2 |
|
ships same day |
007 |
999-0335
|
Washer 1/4 x 5/8 SAE flat stainless steel |
$0.99
|
4 |
|
ships same day |
008 |
999-0060
|
Washer 1/4 split lock plain finish |
$0.99
|
4 |
|
ships same day |
009 |
999-0334
|
Bolt 1/4-20 x 3/4 inch hex head stainless steel |
$3.85
|
4 |
|
usually ships 16-20 days |
010 |
170-3886
|
Plate nut (OBSOLETE) |
$10.84
|
1 |
|
usually ships 1-5 days |
011 |
170-3887
|
Head adjustment slide (OBSOLETE) |
$16.42
|
1 |
|
usually ships 1-5 days |
012 |
999-0617
|
Washer 3/8 x 1 flat stainless steel |
$1.82
|
11 |
|
ships same day |
013 |
170-3888
|
Latch stop (OBSOLETE) |
$81.68
|
1 |
|
usually ships 1-5 days |
014 |
170-3889
|
Head adjustment guide (OBSOLETE) |
$15.74
|
1 |
|
usually ships 1-5 days |
015 |
170-3005
|
Pop rivet |
$9.03
|
4 |
|
usually ships 1-5 days |
016 |
170-3890
|
Head adjustment frame (OBSOLETE) |
$46.93
|
1 |
|
usually ships 1-5 days |
017 |
999-0132
|
Bolt 5/16-18 x 3/4 hex head grade 5 zinc plated |
$2.64
|
2 |
|
ships same day |
018 |
999-0432
|
Screw 1/4-20 x 1 1/4 pan head phillips zinc plated |
$0.99
|
2 |
|
ships same day |
019 |
999-0294
|
Nut 1/4-20 hex nylon lock type NE stainless steel |
$1.18
|
8 |
|
ships same day |
020 |
999-0227
|
Nut 6-32 hex nylon insert lock jam zinc plated |
$0.99
|
2 |
|
ships same day |
021 |
270-0006
|
Frame weldment (OBSOLETE) |
$790.85
|
1 |
|
usually ships 1-5 days |
022a |
999-0050
|
Nut 1/2-13 hex jam plain finish |
$0.99
|
8 |
|
ships same day |
022b |
170-3892
|
Nut j1/2 -20 jam |
$1.21
|
8 |
after SN XD |
usually ships 1-5 days |
023 |
170-3893
|
Linkage bar (OBSOLETE) |
$20.08
|
|
|
usually ships 1-5 days |
024 |
170-0212
|
Flanged bearing |
$12.73
|
4 |
|
usually ships 1-5 days |
025a |
999-0116
|
Bolt 1/2-13 x 1 1/2 hex head grade 5 |
$1.36
|
2 |
|
ships same day |
025b |
999-0711
|
Bolt 1/2-20 x 1 1/2 hex head grade 5 zinc plated |
$1.63
|
2 |
after SN XD |
ships same day |
026 |
170-0191
|
Snap switch |
$66.03
|
1 |
|
ships same day |
027 |
170-3895
|
Lift weldment plate (OBSOLETE) |
$149.09
|
1 |
|
usually ships 1-5 days |
028 |
999-0188
|
Nut 3/8-16 nylon insert lock zinc plated |
$0.99
|
9 |
|
ships same day |
029a |
170-0218
|
Contact pins for charger plug (sold individually) |
$9.70
|
2 |
|
usually ships 13-18 days |
029b |
170-0009
|
Connector housing |
$17.74
|
2 |
|
usually ships 13-18 days |
030 |
170-3896
|
Drive motor |
$2,212.21
|
1 |
|
usually ships 1-5 days |
031 |
170-3897
|
Key |
$10.52
|
1 |
|
usually ships 1-5 days |
032 |
170-3898
|
Anchor bracket (OBSOLETE) |
$49.16
|
1 |
|
usually ships 1-5 days |
033 |
999-0562
|
Bolt 3/8-16 x 1 hex head stainless steel |
$1.50
|
9 |
|
ships same day |
034 |
170-3899
|
Motor frame (OBSOLETE) |
$49.90
|
1 |
|
usually ships 1-5 days |
035 |
170-3900
|
Motor pivot bracket (OBSOLETE) |
$45.74
|
1 |
|
usually ships 1-5 days |
036a |
170-3901
|
Pad housing assembly (gray) (OBSOLETE) |
$223.00
|
1 |
incs 037, 042 and 047 |
usually ships 1-5 days |
036b |
170-6214
|
Pad housing assembly (blue) (OBSOLETE) |
$270.60
|
1 |
incs 037, 042 and 047 |
usually ships 1-5 days |
037 |
170-3453
|
Skirt kit |
$91.10
|
1 |
incs 015-036, 037 and 047 |
usually ships 13-18 days |
038 |
999-0630
|
Washer 3/4 SAE flat |
$0.99
|
3 |
|
ships same day |
039 |
170-3902
|
Pad driver assembly |
$535.66
|
1 |
incs 042 |
usually ships 1-5 days |
041 |
999-0132
|
Bolt 5/16-18 x 3/4 hex head grade 5 zinc plated |
$2.64
|
1 |
|
ships same day |
042a |
991-2203
|
Big mouth pad holder male thread portion |
$37.74
|
1 |
|
usually ships 17-22 days |
042b |
991-2202
|
Big mouth pad holder set (blue) |
$42.60
|
1 |
|
ships same day |
042c |
991-2201
|
Center-Lok II pad holder - right hand thread (black) |
$39.08
|
|
|
ships same day |
042d |
991-2205
|
Deep lock ring and pad grip ring |
$32.00
|
|
|
usually ships 19-25 days |
042e |
991-2214
|
Center-Lok II pad holder - left hand thread (red) |
$39.08
|
|
|
ships same day |
043 |
999-0028
|
Washer 5/16 split lock plain finish |
$0.99
|
1 |
|
ships same day |
044 |
999-0160
|
Washer 1/4 x 1 1/4 fender zinc plated |
$0.99
|
1 |
|
ships same day |
045 |
170-3904
|
Hose (OBSOLETE) |
$78.65
|
1 |
|
usually ships 13-18 days |
046 |
170-3905
|
Pad housing (OBSOLETE) |
$191.07
|
1 |
|
usually ships 1-5 days |
047 |
170-3906
|
Air baffle |
$12.54
|
1 |
|
usually ships 1-5 days |
048 |
999-0019
|
Bolt 1/4-20 x 5/8 hex head grade 5 zinc plated |
$0.99
|
6 |
|
ships same day |
049 |
170-0080
|
Wire tie |
$12.89
|
5 |
|
usually ships 13-18 days |
050 |
170-3386
|
Spacer |
$9.27
|
1 |
|
usually ships 1-5 days |
051 |
999-0126
|
Washer 1/2 split lock |
$1.28
|
4 |
|
ships same day |
052a |
999-0372
|
Bolt 1/2-13 x 1 3/4 hex head |
$0.99
|
2 |
|
ships same day |
052b |
170-3907
|
Screw 1/2-20 x 1 3/4 |
$10.52
|
2 |
after SN XD |
usually ships 1-5 days |
053 |
170-7027
|
T-nut 10-32 |
$9.33
|
8 |
|
ships same day |
N/S |
999-0723
|
Screw 10-32 x 1/2 pan head slotted stainless steel |
$0.99
|
8 |
|
ships same day |