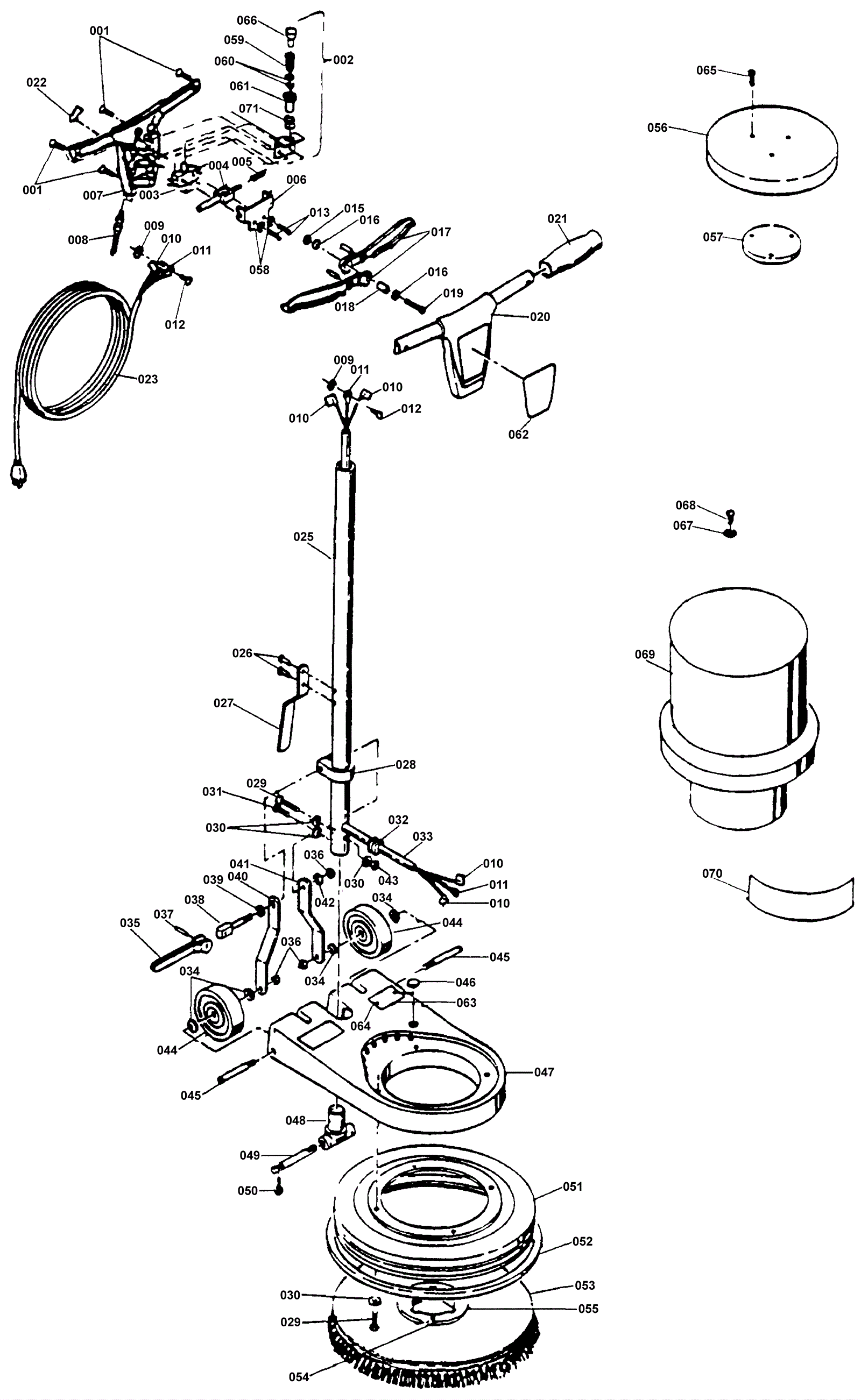
Metal Handle Assembly 115V or 230V
Click to enlarge