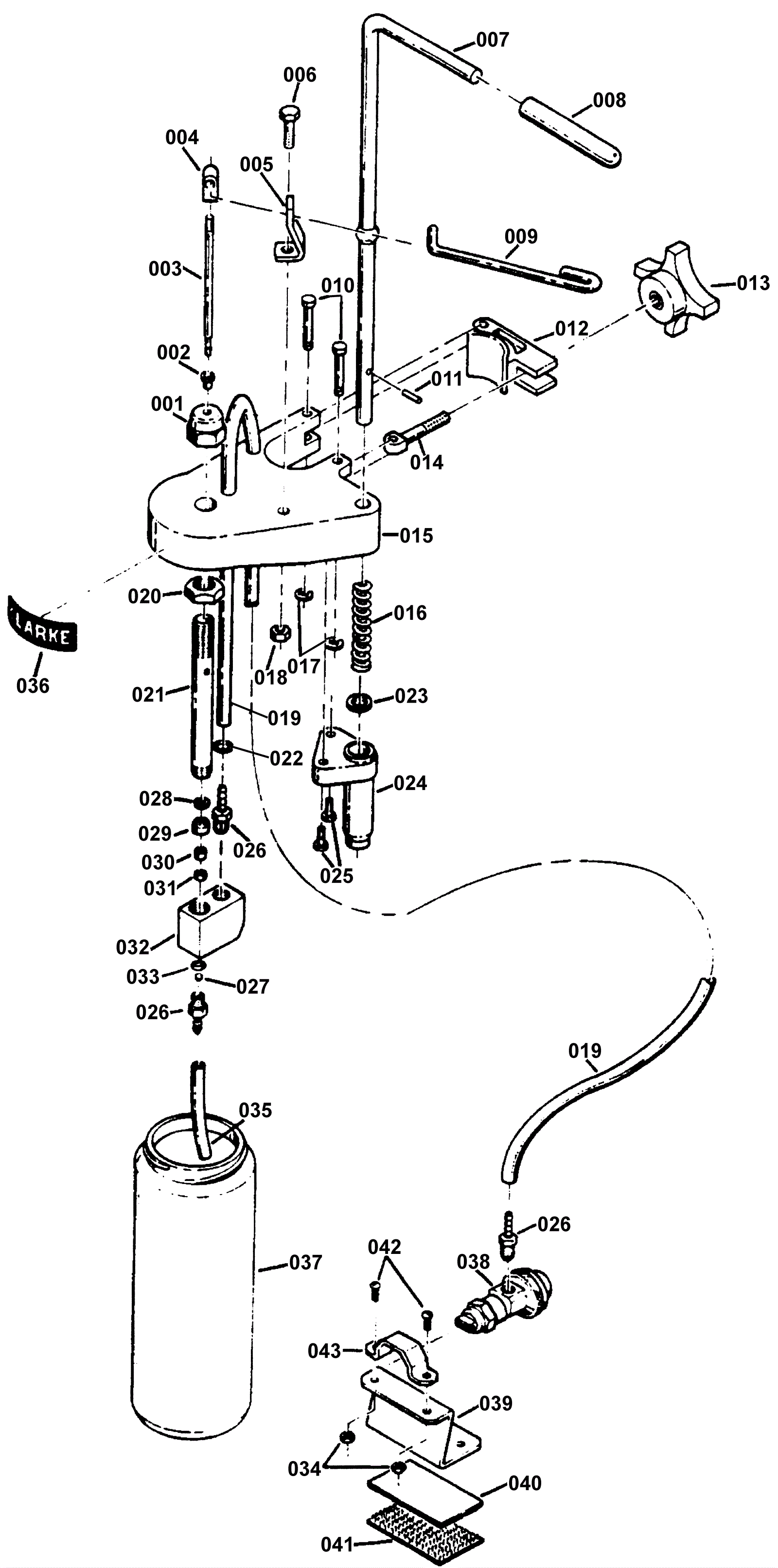
Spray Buff Accessory
Click to enlarge