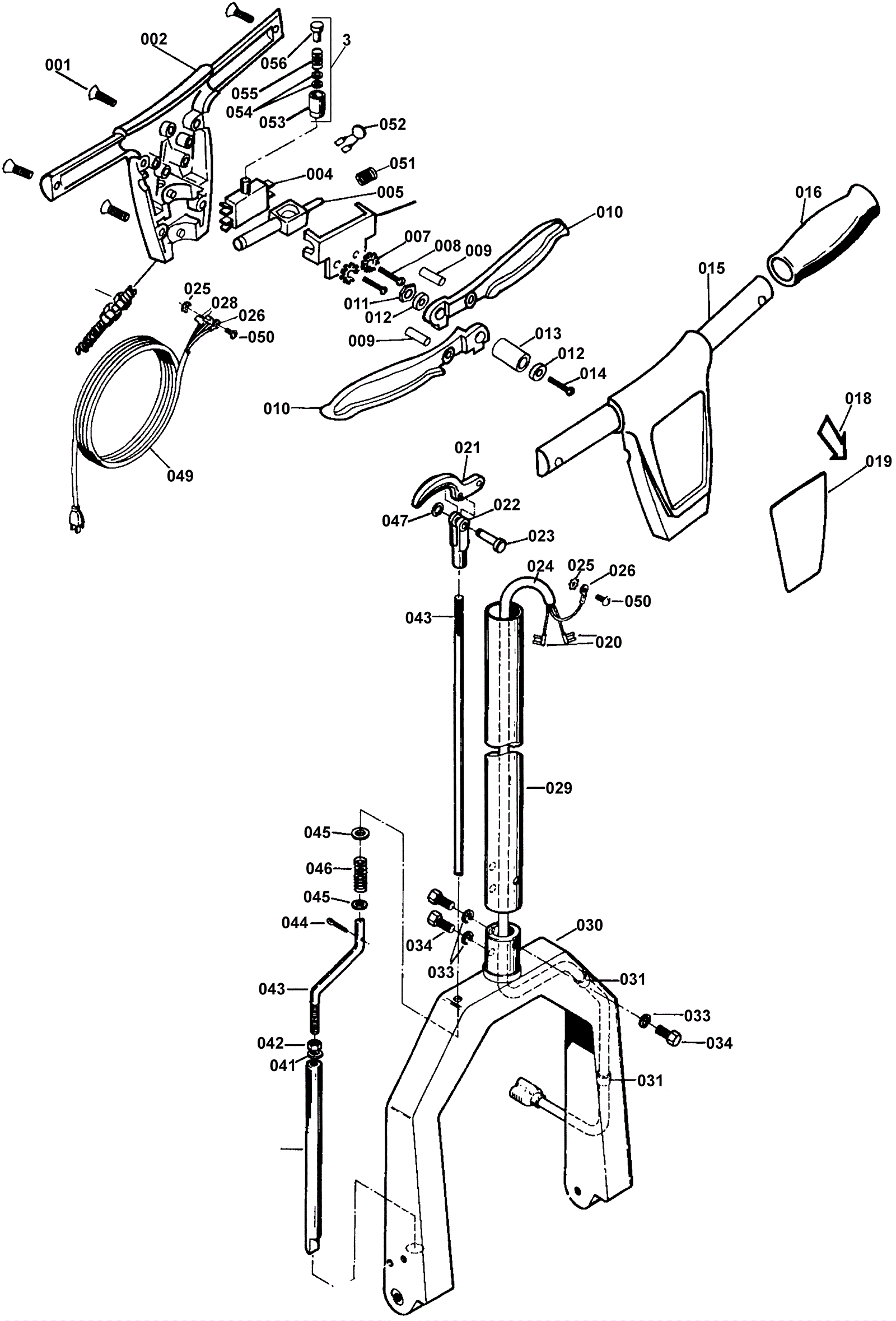
Handle Assembly (Serial Number ND1681 and Above)
Click to enlarge