| # | Part | Description | Price | Req | Notes | Availability |
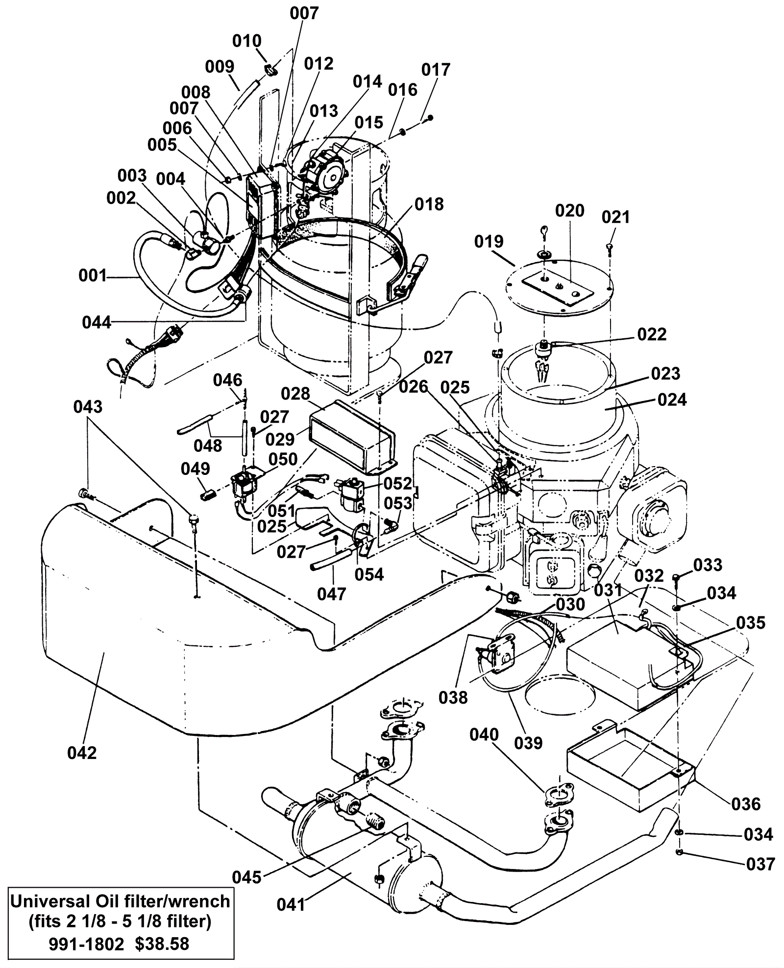
001 |
991-6007
|
Propane fuel hose |
$57.71
|
1 |
|
usually ships 11-14 days |
002 |
160-0054
|
45 degree elbow fitting |
$12.31
|
1 |
|
usually ships 13-18 days |
003 |
991-6002
|
12V fuel lock off (Model 152) |
$44.45
|
1 |
|
ships same day |
004 |
170-3055
|
1/4 hex nipple |
$12.31
|
1 |
|
usually ships 13-18 days |
005 |
170-3112
|
Envirogard control label (OBSOLETE) |
$5.50
|
1 |
|
usually ships 1-5 days |
006 |
999-0227
|
Nut 6-32 hex nylon insert lock jam zinc plated |
$0.99
|
4 |
|
ships same day |
007 |
999-0412
|
Washer #8 SAE flat |
$0.99
|
4 |
|
ships same day |
008 |
170-3114
|
Modified carbon monoxide kit (OBSOLETE) |
$692.25
|
1 |
|
usually ships 1-5 days |
009 |
991-6005
|
Fuel hose (sold by the foot) |
$3.96
|
1 |
|
usually ships 16-20 days |
010 |
997-2004
|
Hose clamp |
$2.15
|
1 |
|
ships same day |
012 |
N/A
|
Not available |
Call for price
|
4 |
(not available) Screw |
usually ships 3-26 days |
013 |
160-0052
|
Fitting 1/4 barb x 1/4mp |
$7.32
|
2 |
|
usually ships 31-35 days |
014 |
170-3120
|
Hose barb elbow |
$16.95
|
1 |
|
usually ships 13-18 days |
015 |
991-6001
|
Fuel regulator (T60) |
$419.02
|
1 |
|
ships same day |
016 |
999-0060
|
Washer 1/4 split lock plain finish |
$0.99
|
2 |
|
ships same day |
017 |
N/A
|
Not available |
Call for price
|
2 |
(not available) Screw |
usually ships 3-26 days |
018 |
992-0001
|
Velcro loop (sold by the inch) |
$0.75
|
1 |
|
usually ships 12-15 days |
019 |
170-3027
|
Bonnet cage lid (OBSOLETE) |
$18.17
|
1 |
|
usually ships 1-5 days |
020 |
170-3130
|
Envirogard oil label (OBSOLETE) |
$6.89
|
1 |
|
usually ships 1-5 days |
021 |
N/A
|
Not available |
Call for price
|
4 |
(not available) |
usually ships 3-26 days |
022 |
169-0016
|
Key switch assembly with two keys |
$97.93
|
1 |
|
ships same day |
023 |
N/A
|
Not available |
Call for price
|
1 |
(bonnet filter) |
usually ships 3-26 days |
024 |
170-3031
|
Large cage bonnet (OBSOLETE) |
$57.64
|
1 |
|
usually ships 1-5 days |
025 |
170-3131
|
Enviroguard manifold cover (OBSOLETE) |
$3.00
|
1 |
|
usually ships 1-5 days |
026 |
170-3132
|
Envirogard adjustable spud (OBSOLETE) |
$67.36
|
1 |
|
usually ships 1-5 days |
027 |
999-0672
|
Screw 8 x 3/8 hex washer head slotted zinc plated |
$0.99
|
1 |
|
ships same day |
028 |
170-3115
|
Spray pump cover (OBSOLETE) |
$16.04
|
1 |
|
usually ships 1-5 days |
029 |
170-3133
|
Envirogard long label (OBSOLETE) |
$4.57
|
1 |
|
usually ships 1-5 days |
030 |
170-3063
|
11inch red battery cable |
$21.86
|
1 |
|
usually ships 1-5 days |
031 |
162-0006
|
12V 18Ah AGM battery (size 6) |
$97.75
|
1 |
|
usually ships 18-36 days |
032 |
170-3058
|
6 inch black battery cable (OBSOLETE) |
$10.22
|
1 |
|
usually ships 1-5 days |
033 |
999-0297
|
Bolt 1/4-20 x 1 hex head stainless steel |
$2.53
|
1 |
|
ships same day |
034 |
999-0016
|
Washer 1/4 flat plain finish |
$0.99
|
2 |
|
ships same day |
035 |
170-3134
|
23 inch black battey cable (OBSOLETE) |
$9.25
|
4 |
|
usually ships 1-5 days |
036 |
170-3060
|
Battery box |
$39.16
|
1 |
|
usually ships 13-18 days |
037 |
999-0152
|
Nut 1/4-20 nylon insert lock zinc plated |
$0.99
|
1 |
|
ships same day |
038 |
170-3062
|
12V starter solenoid |
$44.58
|
1 |
|
usually ships 13-18 days |
039 |
170-3061
|
8 inch red battery cable (OBSOLETE) |
$11.53
|
1 |
|
usually ships 1-5 days |
040 |
170-3135
|
Exhaust gasket (OBSOLETE) |
$6.66
|
2 |
|
usually ships 1-5 days |
041 |
170-3136
|
Catalytic converter weldment |
$1,155.00
|
1 |
|
usually ships 1-5 days |
042 |
170-3137
|
Heat shield (OBSOLETE) |
$69.26
|
1 |
|
usually ships 1-5 days |
043 |
999-0508
|
Screw 1/4-20 x 1/2 pan head phillips zinc plated |
$0.99
|
2 |
|
ships same day |
044 |
991-6004
|
Female quick coupler |
$24.89
|
1 |
|
usually ships 39-40 days |
045a |
991-1601
|
Oxygen sensor 1 wire (OBSOLETE) |
$115.48
|
1 |
|
usually ships 19-25 days |
045b |
169-0142
|
Muffler plug |
$13.71
|
1 |
(used on catalytic converter) |
ships same day |
046 |
170-3189
|
Vacuum line tee |
$10.01
|
1 |
|
usually ships 13-18 days |
047 |
170-3110
|
1/4 inch Vacuum tubing (OBSOLETE) |
$0.99
|
6 |
|
usually ships 1-5 days |
048 |
170-3087
|
Brass elbow (OBSOLETE) |
$2.29
|
1 |
|
usually ships 1-5 days |
049 |
170-3265
|
Foam filter (OBSOLETE) |
$5.61
|
1 |
|
usually ships 1-5 days |
050 |
170-3199
|
3-port solenoid valve (OBSOLETE) |
$40.87
|
1 |
|
usually ships 1-5 days |
051 |
170-3195
|
Brass filter (OBSOLETE) |
$29.23
|
1 |
|
usually ships 1-5 days |
052 |
170-3266
|
2-port solenoid valve (OBSOLETE) |
$96.23
|
1 |
|
usually ships 1-5 days |
053 |
170-3197
|
Hose barb (OBSOLETE) |
$5.28
|
1 |
|
usually ships 1-5 days |
054 |
997-2004
|
Hose clamp |
$2.15
|
2 |
|
ships same day |