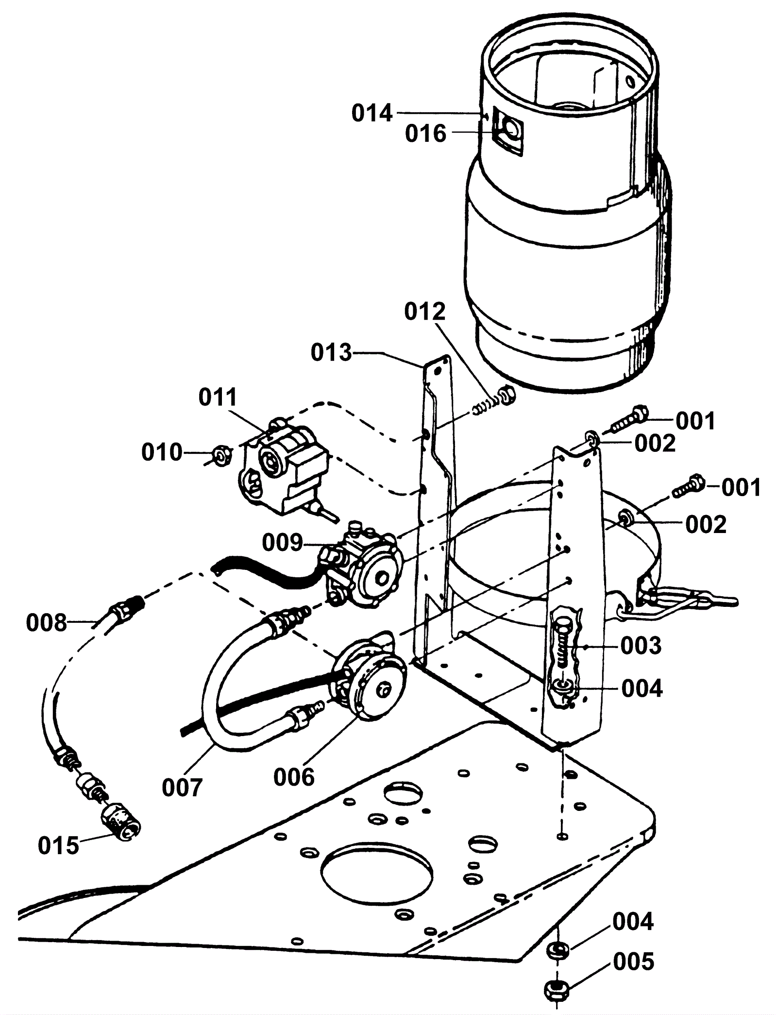
| # | Part | Description | Price | Req | Notes | Availability |
001 |
N/A
|
Not available |
Call for price
|
4 |
(not available) Screw |
usually ships 3-26 days |
002 |
999-0060
|
Washer 1/4 split lock plain finish |
$0.99
|
4 |
|
ships same day |
003 |
N/A
|
Not available |
Call for price
|
4 |
(not available) Screw |
usually ships 3-26 days |
004 |
999-0549
|
Washer 5/16 x 3/4 SAE flat stainless steel |
$0.99
|
4 |
|
ships same day |
005 |
999-0388
|
Nut 7/16-14 flange lock serrated zinc plated |
$0.99
|
1 |
|
ships same day |
006 |
991-6003
|
Vacuum fuel lock-off |
$327.91
|
1 |
|
usually ships 10-11 days |
007 |
170-3077
|
Hose assembly |
$43.45
|
1 |
|
usually ships 13-18 days |
008a |
991-6007
|
Propane fuel hose |
$57.71
|
1 |
|
usually ships 11-14 days |
008b |
991-6004
|
Female quick coupler |
$24.89
|
1 |
|
usually ships 39-40 days |
009 |
991-6001
|
Fuel regulator (T60) |
$419.02
|
1 |
|
ships same day |
010 |
999-0086
|
Nut 10-32 nylon insert lock zinc plated |
$0.99
|
2 |
|
ships same day |
011 |
N/A
|
Not available |
Call for price
|
1 |
|
usually ships 3-26 days |
012 |
N/A
|
Not available |
Call for price
|
2 |
(not available) Screw |
usually ships 3-26 days |
013 |
170-3007
|
Bottle carrier (OBSOLETE) |
$137.69
|
1 |
|
usually ships 1-5 days |
014a |
161-0003
|
Aluminum propane tank |
$815.95
|
1 |
|
usually ships 1-5 days |
014c |
154-1065
|
Steel propane tank |
$285.58
|
1 |
|
usually ships 1-5 days |
015 |
991-6004
|
Female quick coupler |
$24.89
|
1 |
|
usually ships 39-40 days |
016 |
161-0002
|
O-ring |
$2.19
|
1 |
|
usually ships 31-35 days |