# | Part | Description | Price | Req | Notes | Availability |
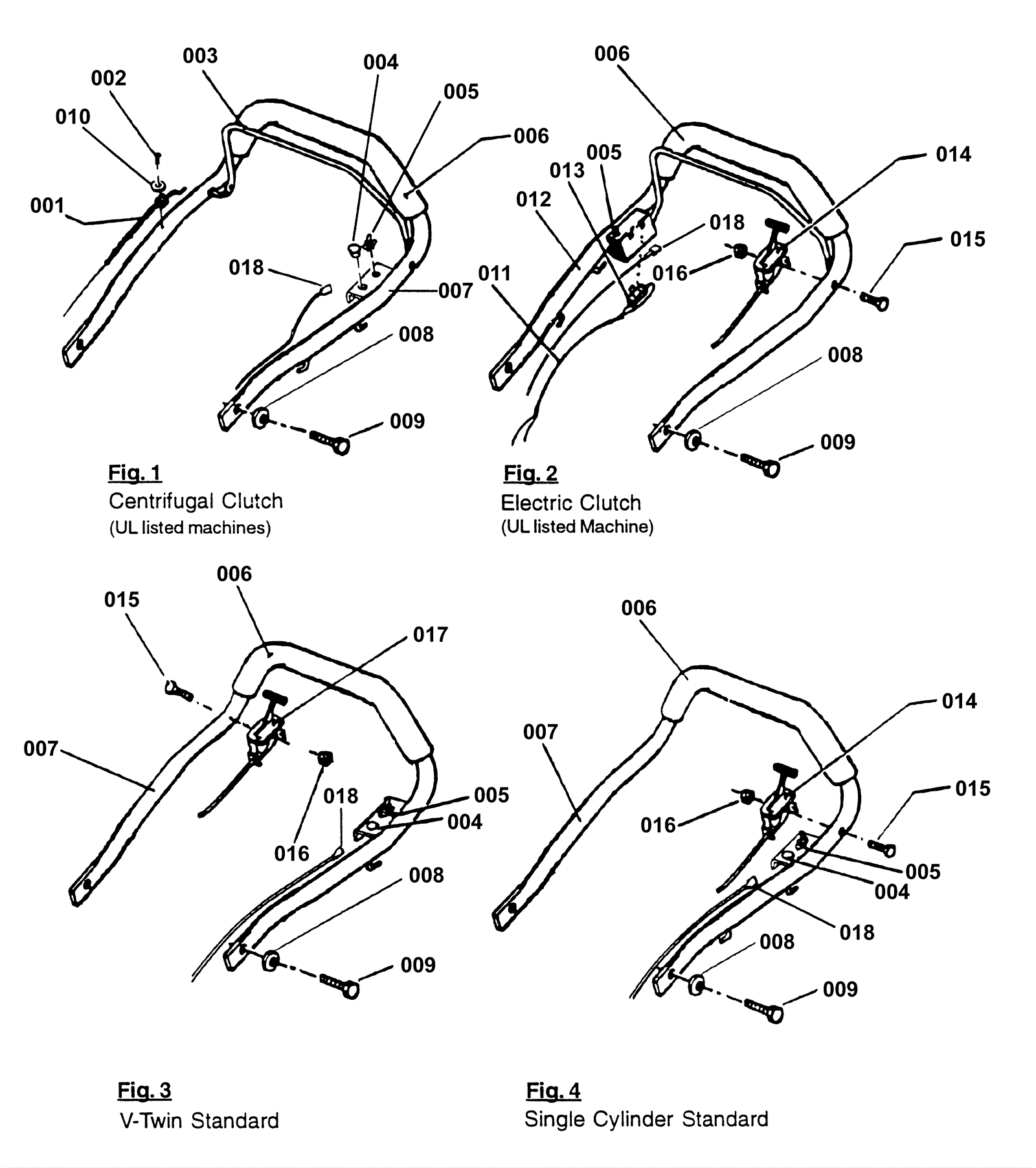
001a |
170-0038
|
Throttle cable twin cylinder |
$29.16
|
1 |
|
usually ships 13-18 days |
001b |
N/A
|
Not available |
Call for price
|
1 |
(Briggs and Stratton throttle cable) |
usually ships 3-26 days |
002 |
999-0303
|
Screw 8-18 x 1/2 hex washer head slotted zinc plated |
$0.99
|
1 |
|
ships same day |
003 |
170-3018
|
Lever bar |
$56.35
|
1 |
|
usually ships 13-18 days |
004 |
181-0095
|
Dome plug |
$1.21
|
1 |
|
usually ships 1-5 days |
005 |
170-3020
|
Vanguard kill switch (OBSOLETE) |
$5.94
|
1 |
|
usually ships 1-5 days |
006 |
170-3021
|
Handle grip tube |
$20.98
|
1 |
|
usually ships 12-15 days |
007 |
170-3022
|
Upper handle (OBSOLETE) |
$175.49
|
1 |
|
usually ships 13-18 days |
008 |
999-0114
|
Washer 1/2 SAE flat |
$0.99
|
1 |
|
ships same day |
009 |
999-0200
|
Bolt 1/2-13 x 1 1/4 hex head |
$3.45
|
2 |
|
ships same day |
010 |
999-0391
|
Washer 1/2 internal/external star lock |
$0.99
|
2 |
|
ships same day |
011 |
N/A
|
Not available |
Call for price
|
3 |
(not available) Wire |
usually ships 3-26 days |
012 |
170-3023
|
Upper handle (UL) (OBSOLETE) |
$212.40
|
1 |
|
usually ships 1-5 days |
013 |
170-3024
|
Electric clutch switch (OBSOLETE) |
$22.44
|
1 |
|
usually ships 1-5 days |
014 |
170-3025
|
Left hand throttle cable (OBSOLETE) |
$40.45
|
1 |
|
usually ships 13-18 days |
015 |
999-0394
|
Bolt 1/4-20 x 1 3/4 hex head grade 5 zinc plated |
$0.99
|
1 |
|
ships same day |
016 |
999-0152
|
Nut 1/4-20 nylon insert lock zinc plated |
$0.99
|
1 |
|
ships same day |
017 |
170-9909
|
Throttle cable |
$27.76
|
1 |
|
usually ships 13-18 days |
018 |
170-3026
|
Engine kill wire harness (OBSOLETE) |
$7.48
|
1 |
|
usually ships 1-5 days |