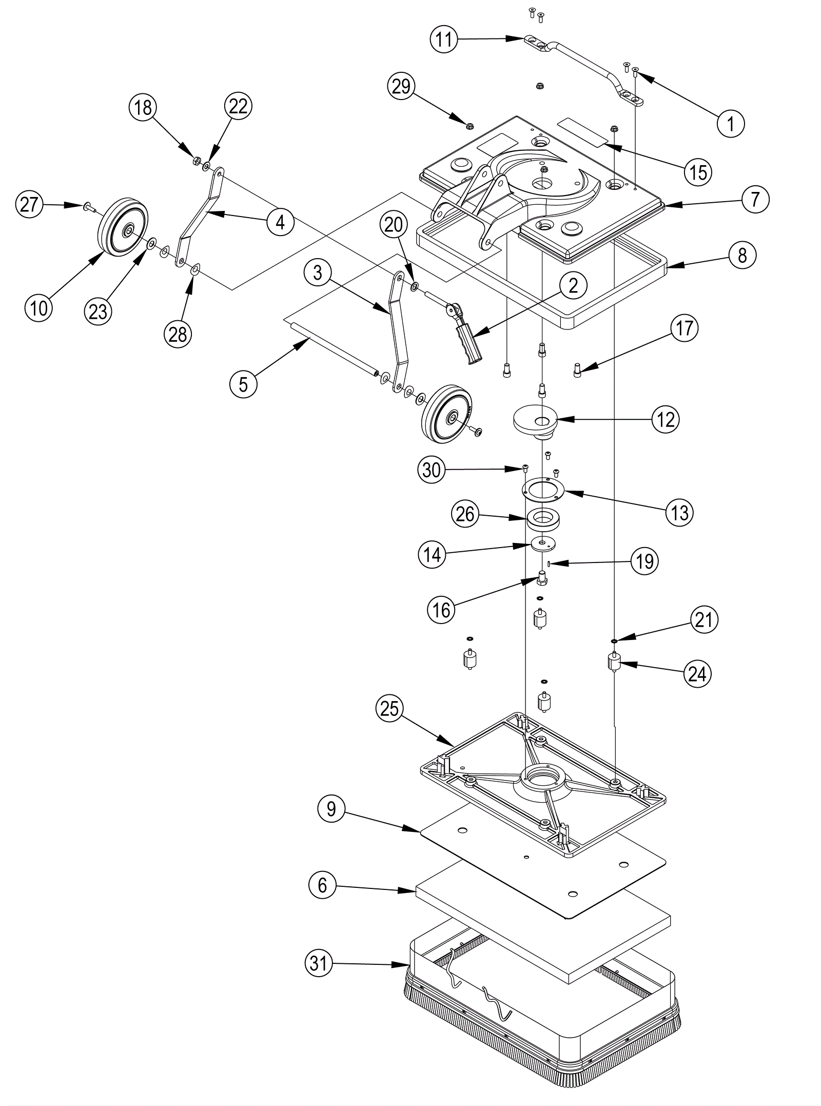
| # | Part | Description | Price | Req | Notes | Availability |
1 |
370-6737
|
SCR 1/4 -20X 3/4 SF ST CAP |
$7.26
|
4 |
|
usually ships 12-15 days |
2 |
170-1267
|
Cam assembly with grip, bolt and locking lever |
$20.82
|
1 |
|
ships same day |
3 |
472-7555
|
LINK-ARM RIGHT |
$17.15
|
1 |
|
usually ships 12-15 days |
4 |
472-7556
|
LINK-ARM LEFT |
$17.15
|
1 |
|
usually ships 12-15 days |
5 |
154-3918
|
Axle shaft |
$13.31
|
1 |
|
usually ships 12-15 days |
6 |
472-7687
|
PAD-RED-12X18-20/CS |
$192.54
|
1 |
|
usually ships 13-18 days |
7a |
270-0651
|
Mainframe |
$339.27
|
1 |
(standard models only) |
usually ships 1-5 days |
7b |
373-3021
|
Mainframe Obs-18dc |
$2,645.79
|
1 |
(dust control models only) |
usually ships 13-18 days |
8 |
373-3011
|
Bumper frame (black) |
$43.48
|
1 |
|
usually ships 13-18 days |
9 |
270-0113
|
Pad gripper |
$122.23
|
1 |
|
ships same day |
10 |
375-7611
|
Wheel |
$79.48
|
2 |
|
usually ships 13-18 days |
11 |
373-3012
|
Handle lift |
$119.64
|
1 |
|
usually ships 13-18 days |
12 |
270-0164
|
Eccentric disk |
$538.07
|
1 |
|
usually ships 13-18 days |
13 |
270-0162
|
Bearing retainer |
$12.89
|
1 |
|
usually ships 13-18 days |
14 |
270-0160
|
Eccentric retainer |
$12.89
|
1 |
|
usually ships 13-18 days |
15 |
154-5164
|
Label cas(OBSOLETE) |
$7.25
|
1 |
|
usually ships 12-15 days |
16 |
373-3018
|
Screw 1/2-13 x 3/4 |
$13.32
|
1 |
|
usually ships 13-18 days |
18 |
999-0324
|
Nut 3/8-16 nylon insert lock jam zinc plated |
$0.99
|
1 |
|
ships same day |
19 |
373-3020
|
Pin roll |
$12.89
|
1 |
|
usually ships 13-18 days |
20 |
170-5522
|
Wear washer |
$3.63
|
1 |
|
ships same day |
21 |
999-0017
|
Washer 1/4 external star lock |
$0.99
|
4 |
|
ships same day |
22 |
999-0032
|
Washer 3/8 USS flat plain finish |
$2.42
|
1 |
|
ships same day |
23 |
170-5602
|
Washer |
$1.21
|
2 |
|
usually ships 12-15 days |
24 |
270-0159
|
Spring mounting kit |
$90.13
|
1 |
(includes four isolators and four of item 21) |
usually ships 13-18 days |
25 |
373-3022
|
Base Orbital |
$320.69
|
1 |
|
ships same day |
26 |
270-0065
|
Bearing |
$70.59
|
1 |
|
ships same day |
27 |
272-8200
|
Button head screw |
$2.63
|
2 |
|
ships same day |
28 |
272-8202
|
Bowed washer |
$1.94
|
4 |
|
usually ships 12-15 days |
29 |
999-0152
|
Nut 1/4-20 nylon insert lock zinc plated |
$0.99
|
4 |
|
ships same day |
30 |
270-0163
|
Screw 1/4-20 x 1/2 |
$1.21
|
3 |
|
usually ships 12-15 days |
31 |
270-0655
|
|
$187.39
|
1 |
(dust control models only) |
usually ships 12-15 days |