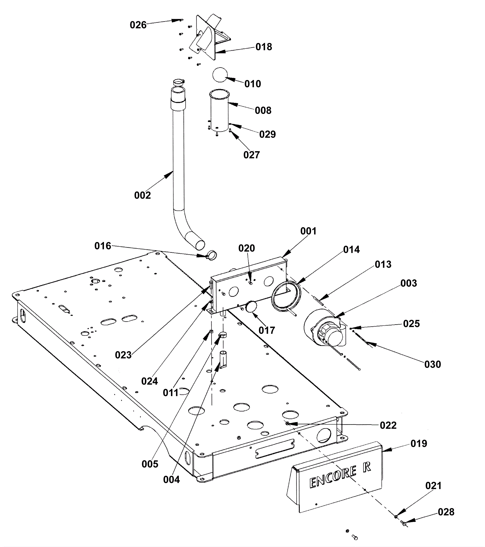
| # | Part | Description | Price | Req | Notes | Availability |
001 |
170-8414
|
Vacuum manifold |
$517.00
|
1 |
|
usually ships 1-5 days |
002 |
170-8415
|
Flexible hose (OBSOLETE) |
$71.50
|
1 |
|
usually ships 13-18 days |
003a |
270-0102
|
36V 3 stage vacuum motor |
$275.91
|
1 |
|
usually ships 13-18 days |
003b |
991-1202
|
36V 3 stage vacuum motor tangential |
$127.10
|
1 |
(NON-OEM) |
usually ships 18-24 days |
004 |
170-7686
|
Dust unloader valve (OBSOLETE) |
$54.53
|
1 |
|
usually ships 1-5 days |
005 |
170-7690
|
Hose clamp 13/16 x 1 1/2 |
$11.99
|
1 |
|
usually ships 1-5 days |
008 |
170-6916
|
Float cage |
$145.49
|
1 |
|
usually ships 1-5 days |
010 |
170-6918
|
Recovery float |
$13.07
|
1 |
|
usually ships 1-5 days |
011 |
999-0188
|
Nut 3/8-16 nylon insert lock zinc plated |
$0.99
|
2 |
|
ships same day |
013 |
170-7755
|
Spacer |
$23.77
|
3 |
|
usually ships 1-5 days |
014 |
170-6719
|
Vacuum fan gasket (OBSOLETE) |
$32.26
|
1 |
|
usually ships 13-18 days |
016 |
997-2003
|
Hose clamp |
$2.66
|
3 |
|
ships same day |
017 |
170-7689
|
Vacuum manifold plug |
$9.13
|
1 |
|
usually ships 1-5 days |
018 |
170-8416
|
Vacuum inlet plate |
$429.00
|
1 |
|
usually ships 1-5 days |
019 |
170-8417
|
Vacuum motor guard (OBSOLETE) |
$74.84
|
1 |
|
usually ships 1-5 days |
020 |
999-0821
|
Bolt 1/4-20 x 1/2 hex head grade 9 yellow zinc |
$0.99
|
3 |
|
ships same day |
021 |
170-6686
|
Washer 5/16 lock |
$10.85
|
2 |
|
usually ships 13-18 days |
022 |
999-0069
|
Nut 5/16-18 hex |
$0.99
|
2 |
|
ships same day |
023 |
999-0038
|
Bolt 3/8-16 x 1 hex head grade 5 zinc plated |
$1.87
|
2 |
|
ships same day |
024 |
170-6782
|
Washer 3/4 x 25/64 x 3/32 flat |
$12.31
|
2 |
|
usually ships 13-18 days |
025 |
999-0060
|
Washer 1/4 split lock plain finish |
$0.99
|
6 |
|
ships same day |
026 |
170-6924
|
Screw 10-16 x 1/2 |
$13.17
|
8 |
|
usually ships 1-5 days |
027 |
999-0267
|
Screw 10-24 x 1/2 pan head phillips zinc |
$0.99
|
4 |
|
ships same day |
028 |
999-0031
|
Bolt 5/16-18 x 1 hex head grade 5 zinc plated |
$0.99
|
2 |
|
ships same day |
029 |
999-0998
|
Washer #10 flat stainless steel |
$0.99
|
4 |
|
ships same day |